——什么是“超级用户”
首先给大家明确一下什么是“超级用户”,超级用户就是购买过商家的商品,并且关注店铺,反复复购带动身边的亲戚朋友体验进行购买,这样的一类人称为“超级用户”。

罗胖曾经在2018年的跨年演讲当中围绕着“超级用户”进行了一番的解说,互联网人的狩猎采集时代已经过去了,农耕时*开代**始了,所谓的农耕时代其实就是圈一块地,种一季的粮,精耕细作,秋收冬藏。至于能够圈多大的地盘就要看各家的本事了,但是对于这块地上的每一颗庄稼,心态就不一样了。简单来说现在的信息轰炸已经让用户都都麻木了,冲动消费的时代已经没有了,用户对于商家提供的内容和服务来说就更高了,所以用户的获取也就难度更大,需要花费更多的成本和心血,那么如何服务好客户呢?这里就不得不说到精细化运营管理。
——什么是精细化运营
和精细化运营相对的运营是粗放式运营,大部分东西是一样的,会根据大众最终的实验效果去反馈运营的策略。而精细化运营就相对会比较细致,针对不同生命周期的用户,同一生命周期的不同类用户甚至是每个用户都展示不同的内容,采取不同的策略去完成最终的转化。如果说粗放式运营是1vs多,那么精细化运营就是多vs多。用通俗易懂的话来讲就是,把一整个蛋糕,切成不同形状的小块,将这些小块送给最合适的那个人,这就是精细化的运营。
——客户分层是关键
说完精细化运营,如何才能针对“超级用户”来进行精细化运营呢?我们要根据用户的基础信息,行为信息以及消费信息可以将用户进行多样化的分层,从而挑选出我们所需要的“超级用户”。但是,如何进行分层的关键还是看最终需要实现什么样的目标。围绕着目标进行用户细分,前期先进行初步的用户分层细分,以传统商贸批发企业客户精细化运营为例,可以先利用客户登录频率,客户下单的总金额,客户的平均下单金额等先做一个初步的分层。那么如何才能够知晓客户登录频率下单金额等的量呢?
——快马留存客户信息列表,初步分层

利用快马CRM客户关系管理系统,留存客户列表,可以清晰的查看客户的编号,客户的名称,客户的等级,客户的注册时间,注册距今时间,平均下单的金额。

利用客户下单排行表可以清晰的展示出客户注册至今的下单金额数,客户下单的笔数,通过以上的种种数据来进行分析,筛选出初步的用户分层的划分。
——客户再次分层筛选“超级用户”
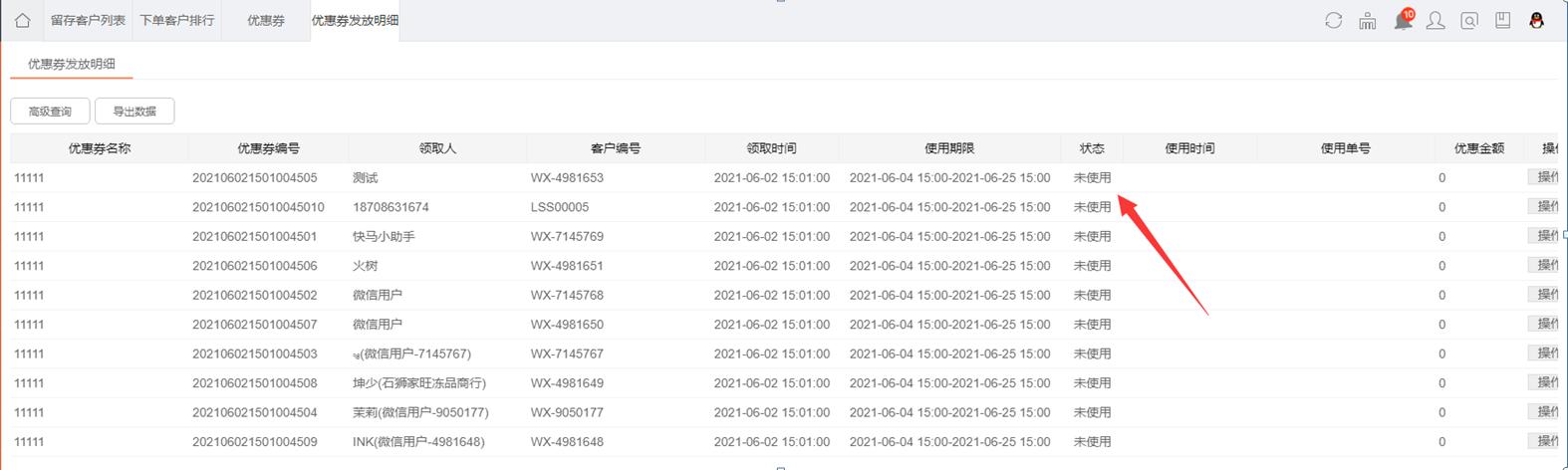
当我们可以使用快马进行客户的初步分层后,接下来需要去考虑再次分层,从而筛选出超级用户。这时就需要去分析用户的行为,日常下单时间,采购偏好,进货频次,单次下单金额,优惠券偏好程度,下单习惯(是搜索选货还是随机挑选)等信息。这里拿优惠券来举个例子,下发完优惠券后,如何知道哪些客户使用了优惠券,哪一些客户没有使用优惠券呢?

利用快马可以查看详细的优惠券发放明细,能够查看哪些客户是使用了优惠券,哪些客户没有使用优惠券,这样才能够对此类一系列的数据进行分析,将初次分层的客户再次进行分层,找到最开始所说的符合“超级用户”的概念。
——分析并给客户打上标签

使用快马,CRM客户关系管理系统中客户等级可以很好的设置出一般用户和“超级用户”,再使用客户类型的设置,将客户的类型进行分类处理,最后利用快马的客户标签新增客户标签,设置出拜访频率和下单频率预警,针对我们的“超级用户”做出针对性的精细化运营。
——如何让“超级用户”拥有地位?
既然找出了“超级用户”,那么就要针对“超级用户”做出一系列的行动,通过精细化运营,要用不同的方法来面对不同的客户,那么对于“超级用户”,第一点就是要让我们的“超级用户”拥有地位。
让用户“有地位”并非是真的地位,而是让用户有一种归属感。让他们觉得他们对于你来说非常重要。你做什么事的时候都会先考虑到他的感受。
举个非常简单的例子。有一家超市,一次性消费满1000元,即可成为本超市的会员VIP。今天有个活动,会员VIP买东西打折!满减!抽奖!购物袋免费!
这样一来,“超级用户”的地位就提升了,才能够服务好“超级用户”,而“超级用户”才能够对你继续产生好感和信赖,引导身边更多的亲朋好友,推荐来这里购物,增加客户量,刺激消费,增加客户粘性。
(1) 不要让你的“超级用户”丢脸
在我看来,我们可以自掏腰包发布优惠券,但是绝对不能对产品打折,因为之前的用户会不高兴,而通过优惠券,会让获得了优惠券的“超级用户”有地位感,我是不同于其他普通客户的,我是拥有优惠券,买这类的商品我是有优惠有便宜的。
(2) 让你的“超级用户”长脸
像刚才所讲到的给“超级用户”发优惠券就是一个长脸的方法,以及我们面对“超级用户”所推出的产品或商品,要思考是否能够值得我们的“超级用户”去推荐给自己的亲朋好友,就像某个经销商拥有了某个知名厂家新产品的优先体验权,这样他就会想向身边的人炫耀一样。
——为什么需要服务好“超级用户”
这里有人可能会问了,为何需要去维护服务好我们的“超级用户”呢?
说一个简单的例子,作为一个商家,我可以不需要拥有普通客户,而我只需需要凭借“超级用户”我依然能够盈利,能够赚钱,并且我的“超级用户”觉得让他们感受到舒服,放心,还能够继续帮我引导新的客户进来,所以“超级用户”的价值可想而知。
这里有几组数据可以简单看看:
COSTCO,如果只靠卖货每年亏损7000万美元,靠会员费盈利26.8亿美元,
亚马逊的会员一年的消费金额是1300美元比普通的客户消费了整整多了一倍。
简单的两条数据可以看出来,“超级用户”的重要性,甚至可以说是有些公司的命脉。
其实很多的app或者商店已经开始引导自己的客户转向“超级用户”了,京东商城的Plus会员,网易音乐的黑卡会员,就拿我们公司楼下的全家商店来说,也可以开通会员,成为他们的“超级用户‘’。流量时代,大家可能注重的是如何才能够吸引更多客户关注我的商品店铺,但是现在是新的时代了,要思考如何将更多的普通客户转变成“超级用户”
这里简简单单看来,留存的重要性就体现而出了。
——使用快马,直观的留存报表分析,可以帮助商家实时掌握客户的留存动态。

1. 可以查看下单的客户占比,作为老板能够一眼明了今日下单的客户有多少,占比是百分之多少,有几家客户,方便老板更好的去分析,及时的调整战略。

2.通过留存客户列表,及时分析筛选客户,通过下单的平均金额,发现有潜力的客户,将有潜力的客户发送消息,优惠券,优惠活动,刺激客户下单,将普通的客户转化成“超级用户”,还能够增加客户的粘性。
3.查看客户登录情况,可以一眼了解当天有多少的客户是登录了快马的,登录率是多少,一旦发现有下滑的趋势,老板们可以及时的分析数据,对此作出相应的行动。配合快马的CRM客户关系管理系统,能够及时查看查找出休眠客户,沉睡客户,对此相应的客户分发消息,发送优惠券,优惠活动,开启销售中的超级礼包,充值奖励,互动转盘小游戏,从而增加客户粘性,增加刺激客户下单,将沉睡的客户唤醒。
通过上述的方式,使用快马再利用精细化运营和超级用户的思维,传统企业才能向数字化企业转型从而达到降本增效,生意越来越好,发展有招数!
想要更好的了解快马?添加下方微信!立即为您开通试用快马!↓↓↓
微信号:kuaima366