直升机机载电子设备TR800RM VHF无线电台工作原理-A
直升机机载电子设备TR800RM VHF无线电台虚拟化仪表试验器设计-2
编写:贺军

TR800 VHF无线电台是“THOMSON-CSF”公司的产品。
TR800 VHF甚高频语音通信收发器型号分类:
-TR800A(插件控制单元)-版本A和B版,
-TR800AR(集成接口单元-遥控)C,
-TR800RM(远程控制面板和通过前面板的连接)-D版和E版,
TR800 VHF无线电台系列均提供给飞机安装用,它们执行空对地和空对空的甚高频调幅话通信。
118.000至143.975MHz频率为版本A、B、C的甚高频调幅话通信。
116.000至149.975MHz频率为版本(D和E的甚高频调幅话通信。
TR800 VHF无线电台系列相邻的通道间距为25kHz。
注:VHF收发器P/N:019-1825-101(版本D)与修订版P/N019-1825-102(版本E)之间的差异涉及一些变送器组件和一般接线图,修正版A涉及到合成器和调制器。
TR800RM(远程控制面板和通过前面板的连接)电台配置的遥控盒为“BC515”。
“直升机机载电子设备TR800RM VHF无线电台虚拟化仪表试验器”为检测TR800RM甚高频电台的试验器,由六个部件组成:
1)、机载电子设备试验综合控制器 1台
2)、无线电综合测试仪CMS-57 1台
3)、机载电子设备检测矩阵继电器交换箱 1个
4)、PJF-1型(TR800RM VHF无线电台)连接电缆 1条
5)、PJF-2型(TR800RM VHF无线电台)连接电缆 1条
6)、50欧50W姆负载 1个
“直升机机载电子设备TR800RM VHF无线电台虚拟化仪表试验器”组成如图所示。

“直升机机载电子设备TR800RM VHF无线电台虚拟化仪表试验器”显示屏幕如图所示:

直升机机载电子设备TR800RM VHF无线电台工作原理-A
1、概述:
(a)、该设备的用途:
甚高频语音通信收发器型号:
-TR800A(插件控制单元)-版本A和B版,
-TR800AR(集成接口单元-远程控制)版本C,
-TR800RM(遥控面板并通过前面板连接)-版本D和E,
均用于提供飞机安装。
它们使用118.000至143.975MHz频段(版本A、B、C)和116.000至149.975MHz频段(版本(版本D和E)中的调制通信功能执行空对地和空对空的甚高频振幅通信联络功能。相邻通道间距为25kHz。
注:甚高频收发器P/N:019-1825-101(D版)与修订版P/N019-1825-102(E版)之间的区别涉及一些变送器组件部件和一般接线图,修正版A涉及合成器和调制器。
(b)、外形轮廓:
外形尺寸版本A和版本B(图1-A1):
该设备已安装在一个标准格式的金属外壳中,前部分包括操作收发器所需的所有控制和显示功能。

外形尺寸版本A和版本B(图1-A2):

一般特征
版本A和版本B的物理特征(图l-A)
(a)、尺寸:
- 宽度:146mm
- 高度:66.64毫米
深度:270毫米
外形尺寸版本A和版本B(图1-A3):

外形尺寸版本A和版本B(图1-A4):

外形尺寸版本A和版本B(图1-A5),插头接线示意图:

后部配备了电气连接器,用于连接相关设备和飞机电源系统(电源电压、设备和输入输出数据)。
互连通过安装架实现,TR800版本A和B是面板安装的设备,旨在使用甚高频天线进行操作。
这两个版本均由位于设备顶部的适用部件编号(取决于前面板照明类型)进行标识。
(c)、TR800AR简介:
版本C如图1B所示:
版本C如图1B-1:
该设备独立在标准金属外壳中。
前部分包括遥控单元的两个配合连接器和机架安装的凹槽旋钮。

位于前面板上的标签板提供了设备的零件号。
版本C如图1B-2:

通过安装架实现互连,TR800版本C被设计用于安装在飞机的航空电子舱内,并使用甚高频天线进行操作。
一般特征:
版本C的物理特征(图lB)
(a)、尺寸:
-宽度:62毫米
-高度:160毫米
深度:298毫米
(b)重量:-2.5 kg+10%
版本C如图1B-2:

后部配备了电气连接器,用于连接相关设备和飞机电源系统(电源电压、设备和输入输出数据)。
版本C如图1B-3:

版本C如图1B-4:

版本C如图1B-5:

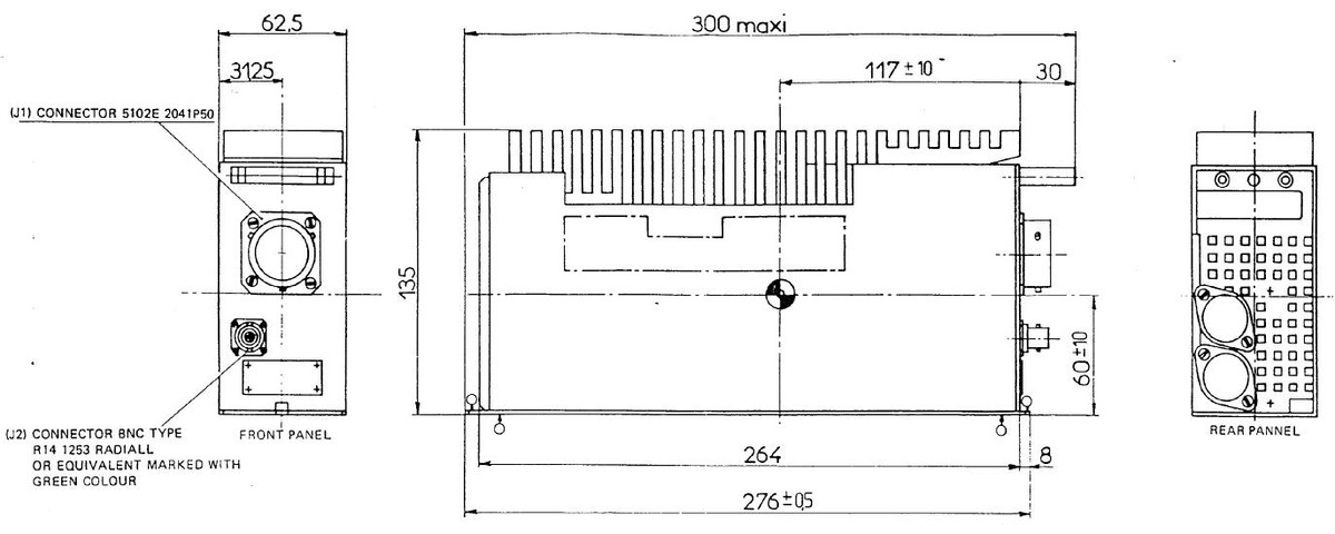
(d)TR800RM简述:
该设备采用标准格式的金属外壳,前面板包括:
-遥控器和相关设备的配套接口。
-甚高频天线同轴电缆连接器。
-标签板。
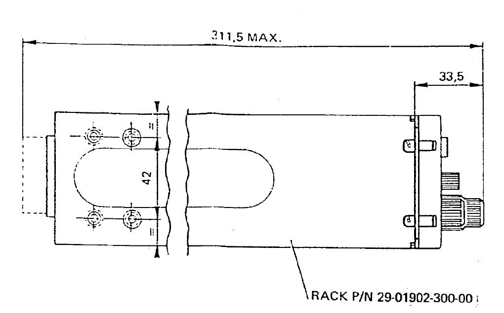
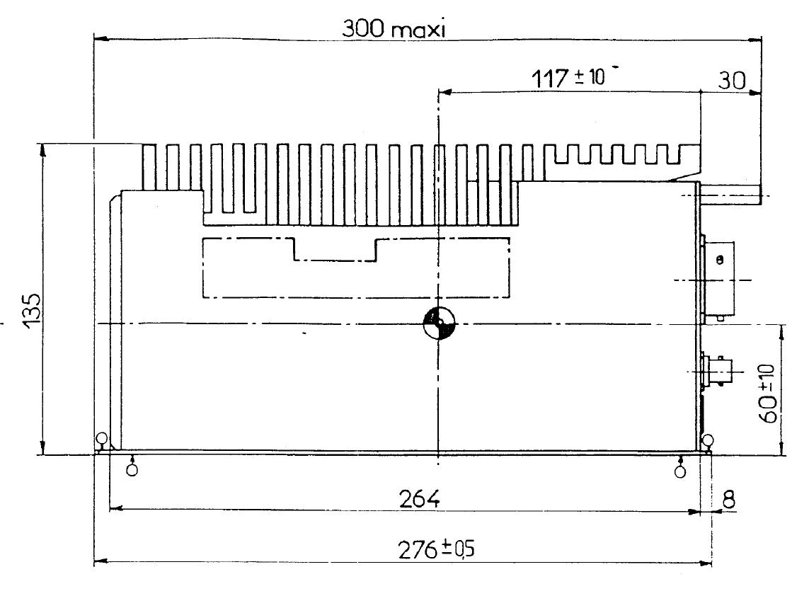
版本D和版本E如图1C-1所示:

版本D和版本E侧视尺寸如图1C-2所示:

版本D和版本E后视如图1C-3所示:

版本D和版本E连接飞机设备的插头接线编号如图1C-4所示:

版本D和版本E接线端口插针引脚功能用途如图1C-5所示:

一般特征
版本D和E的物理特征(图1C)
(a)、尺寸:
-宽度:62.5毫米
-高度:135毫米
深度:276毫米
(b)重量:-2.5 kg+10%
注意:安装基板上的收发器固定装置嵌入在基板内。
(e)、一般特征
(1)、版本A和版本B的物理特征(图lA)
(a)、尺寸:
- 宽度:146mm
- 高度:66.64毫米
深度:270毫米
(b)重量:-2,9 kg+10%
(2)、版本C的物理特征(图lB)
(a)、尺寸:
-宽度:62毫米
-高度:160毫米
深度:298毫米
(b)重量:-2.5 kg+10%
(3)、版本D和E的物理特征(图1C)
(a)、尺寸:
-宽度:62.5毫米
-高度:135毫米
深度:276毫米
(b)重量:-2.5 kg+10%