本周迎来12月末尾,临近元旦,新品方面,各大厂商均无大动作。传闻方面,佳能、索尼、奥林巴斯等均有消息传出。由于传闻消息良莠不齐、真真假假,无忌君从中挑选几条热点传闻,看一下哪条是你感兴趣的?
1.
聚焦1月!
索尼A7SIII将具备双原生ISO、1月发布A7000
________
【传闻1】根据最新的传闻称,索尼可能会在A7SIII上使用双原生ISO。从初步判断来看,A7SIII的原型机具备这样的功能,希望量产机器也同样如此。对于视频电影工作者来说,如果是真的,那么绝对是好消息,双原生ISO意味着可以有两套最佳设置。

文章来源:Dual base ISO Coming to Sony A7S III
【传闻2】根据国外一些媒体透露,他们被邀请参加索尼明年一月中旬召开的活动。虽然并没有告知会发布新品,但通常这样的活动总有新品宣布。
之前索尼已经注册了一款代号为WW 715296的相机,这意味着很快就会新品出现(日本网站Nokishita明确表示WW 715296并非固定镜头相机,也不是A卡口产品),因此A7000的可能性是比较大的。

文章来源:(SR5) There is a new major Sony press event in mid January!
2.
镜头群扩张!
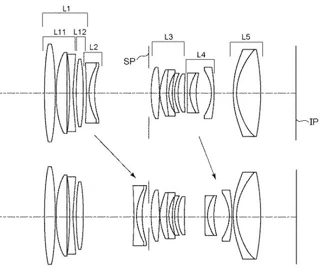
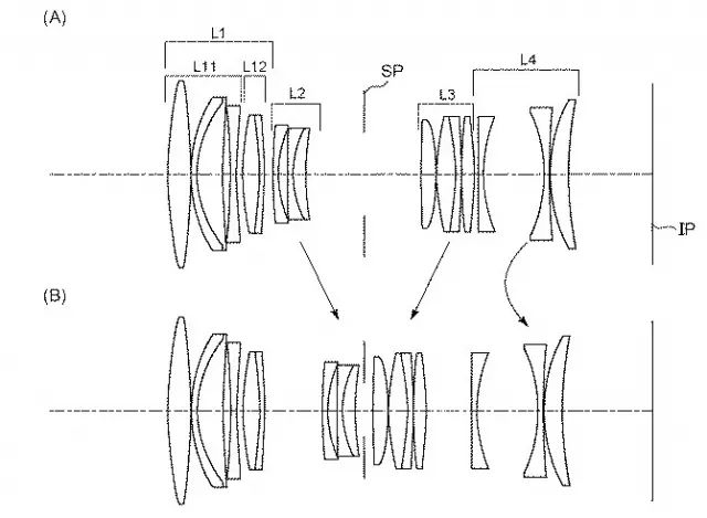
佳能RF 90mm微距和RF 100mm微距专利曝光
________
据CR报道,近期发现一项RF卡口微距镜头的专利。光学结构适用于RF 90mm f / 2.8L IS Macro和RF 100mm f/2.8L IS Macro。 Northlight指出IS防抖组(L12)比以往IS组的正常定位更靠前。
日本专利申请No.2017-108266示出了两种不同的光学设计。
实施例3的规格和镜头结构
焦距:86.00mm
F值:2.87
半视角:14.12
图像高度:21.64mm
镜片长度:115.07mm
后焦距:15.93mm

实施例1的规格和镜头结构
焦距:97.00mm
F值:2.92
半视角:12.57
图像高度:21.64mm
镜片长度:115.12mm
后焦距:20.01mm

文章来源:Patent: Canon RF 90mm f/2.8L IS Macro & RF 100mm f/2.8L IS Macro
3.
临近发布!
奥巴E-M1X支持实时ND、150-400mm内置增距镜
________
【传闻1】另一位消息人士透露,E-M1X还将具备“实时ND滤镜”功能。 这意味着您可以实时应用电子ND滤镜并在取景器中查看效果。

传闻中的E-M1X规格:
- 名称:OMD E-M1X 相机
- 传感器:2000万像素(非全局快门)
- 连拍速度:18fps
- 7.5+ EV防抖
- 2倍于E-M1II的处理速度
- 自动对焦:采用自适应对焦系统。 比如你正在拍摄一个人,然后再去拍摄一辆车,相机对焦点的
- 数量会自动扩大。 另外如果你正在拍一名篮球运动员,那么相机会切换由5个焦点组成的垂直对焦区域。
- 机身尺寸:144.37 x 146.765 x 75.345mm(带有竖拍手柄的一体机身)
- 高分辨率模式:可以在1/60秒拍摄手持高分辨率图像(约80MP)
- 对应题材:体育和野生动物
- 采用与E-M1 Mk II相同的电池
- 更大的EVF取景器
- 定价:接近3000美元
- 发布时间:2019年1月沿“2个远程变焦,1个广角变焦。闪光灯。 zuiko双筒望远镜“
- 2月上市
文章来源:(FT5) The Olympus E-M1X also has a “live ND filter”
【传闻2】43rumors得到了一些关于奥林巴斯150-400mm f / 4.0 PRO新镜头的信息,该镜头将在1月份与E-M1X一同发布:

1)镜头内置1,25x增距镜
2)镜头具备5轴防抖
3)奥林巴斯还将为这款镜头推出一款新的2倍增距镜(外置)
目前希望这款镜头的价格不算太高。 这款镜头可能是许多野生动物摄影师梦寐以求的镜头!
文章来源:(FT5) New Olympus 150-400mm lens has integrated 1,25x converter and additional x2 converter
4.
索粉福音!
国产FE50mm f/1.1自动对焦镜头将发布
________

据一个可靠的亚洲消息来源泄露了一张图片,索尼相机屏幕显示这款50mm镜头为f / 1.1光圈,并且支持自动对焦(AF-S)。 它由中国制造商生产。 目前还不能100%肯定是什么品牌,但有传言称可能是由永诺生产的。 目前他们已经为佳能和尼康生产了AF镜头。
文章来源:(SR5) New 50mm f/1.1 FE autofocus lens to be announced soon by a Chinese manufacturer!
5.
涉足新领域!
老蛙将为无人机发布新产品
________
据悉国产老蛙镜头在其Facebook上发布了一款新品*引勾**海报,这款产品是专为大疆Inspire 2设计的,也许是无人机的专用镜头,它可能会很快发布。

文章来源:New teaser: Venus Optics to announce something very special for DJI Inspire 2 users
“空穴来风”是一个网罗国内外各大厂商新品传闻的栏目,旨在为泡菜第一时间传递器材行业最新动态。但是!传闻终归传闻,空穴终归空穴,无忌君只是资讯的专业搬运工,不对内容准确性和消息来源负责,以上内容仅供参考啦~
扫描下面海报二维码
参与一次摄影的对决
▼▼▼

________
作者丨梁爽