
2月5日,快手在资本市场如期上市,为人们带来了极大的震撼。上市当天,快手以338港元,超发行价223%的涨幅高开,截止当日收盘,快手报价300港元每股,市值高达1.23万亿港币,成为中国第五大互联网上市企业。
资本市场的狂热,让许多业内人士都直呼“疯了”。而在上市之前,资本市场就已经对快手展现出十足的热情,而这些热情,仿佛已经预示了快手上市的大涨。
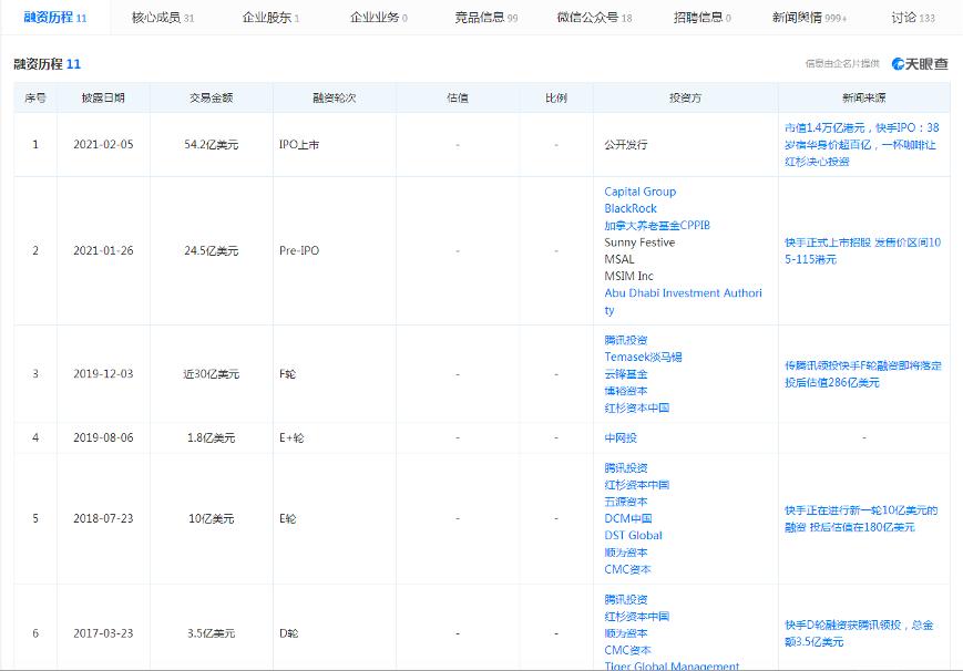
据天眼查APP显示,快手上市前已经经历10轮融资,背后不乏有腾讯、红杉、百度、顺为等资本方,颇受一级资本市场青睐。在F轮融资之后,快手的估值已经达到286亿美元。

而在上市之后,能达到接近1600亿美元的市值,与二级资本市场对其的追捧脱不开关系。在1月26日,快手公开招股时,就引来“火热认购”,就连竞争对手字节跳动的员工,也组团参与快手打新。由于认购火爆,快手需要提前结束公开招股。
资本市场对快手的追捧,与“短视频赛道第一股”等头衔脱不开关系。在经历上市当天疯狂上涨的狂欢之后,真实的快手又是如何的呢?
品牌形象割裂:低俗土味与人间烟火
据快手的招股书显示,截至2020年11月底,快手应用的日均活跃用户为2.64亿,月均活跃用户为4.81亿。在中文互联网内,用户数破亿的平台已经可以说是一个不小的流量平台,而快手显然已经可以归纳于新一代流量平台。
不过快手在对外的品牌形象中,呈现出两种不同的样子。
在快手官方的宣传片中,快手的用户群体,是生活中充满着人间烟火气的一群人,让人感动到热泪盈眶;但是在一些人眼中,快手却是充斥着低俗土味,令人生厌,在知乎上,“快手为什么惹人嫌”这一问题有三千多万的浏览量。
快手早期只是一个GIF图片制作工具,可以用工具将图片、短视频转为GIF动图,图片制作好之后可以分享至微博、人人网等社区。此时的快手只是内容创作者的工具,品牌形象只取决于工具是否好用。
转型至短视频平台的快手,就成为一个UGC内容社区,快手品牌形象如何就取决于社区内的内容如何。而平台形成的关键点,同样需要看供给端,供给端是否能大量供给,甚至是无限供给,而且平台要能让供给端获利。
内容创作成本主要包括智力成本、技术成本和体力成本,运用合适的剪辑工具可以减少技术成本和体力成本,模板一类的功能也可以降低智力成本。所以快手推出有自己的剪辑工具快影,用来降低用户的创作成本,提高创作效率,来获得内容供给端的供给。
而如何让供给端获利,则又是一门学问。
首先,在内容社区早期,要让用户“贫穷”,如果用户意识到自己创作的作品,能够带来利益,那么在创作时就会产生自我限制,或者是陷入“唯流量论”困境。在2016年左右,快手社区内充斥着扮丑、自虐等行为,就是很多创作者知道,自己的这些行为,可以吸引到流量,积累粉丝之后就可以接广告变现。
其次,内容社区要设立“榜样”,让内容创作者们看到上升渠道,这样才会积极创作。而快手平台中的榜样,是天佑、牌牌琦、王乐乐等。一些通过扮丑、未成年人怀孕、社会摇等获得大量粉丝的另类网红,也是“榜样”的一部分。
这些人拍摄的视频,自然会有很多人去模仿,因为这样做能获得粉丝,能赚钱,这些内容在一定程度上也为快手平台提供了大量供给。所以,在快手的内容生产方面,发展过程中出现的低俗土味曾很长一段时间占据快手内容的主要部分,因此低俗土味长时间占据快手固有的品牌形象。
不过,快手平台上的内容,也确实有人间烟火的一面。
很多普通人在快手上记录自己的日常生活,有大车司机、非遗传人、农民、建筑工人......他们在工地上,在田野里,在山间,在海上......展示着他们热爱的生活。快手曾发布《人间烟火》宣传片,将快手平台内用户*善美真**的一面剪辑成片,引人共情,展现出快手平台的另一面。
奥格威提出品牌形象论:产品的品牌形象一旦培植到出众的地位,生产该产品的企业将会以最高利润获得最大的市场份额。快手在短视频赛道中的品牌形象确实出众,但是其品牌形象割裂,不能使其在短视频赛道中,获取最大的市场份额。
快手作为短视频赛道的前辈,在2019年7月份日活数量被抖音超过,此后就一直处于落后状态。据艾瑞数据显示,2020年12月份,在短视频赛道月独立设备数排行中,抖音以6.9亿台位居第一位,快手则以4.7亿台位居第二位。

平台运营偏重社区的利与弊
造成短视频赛道快手被抖音超过的因素有很多,内容造成的品牌形象割裂是一部分原因,快手的平台运营也占一部分原因。
快手与抖音的内容媒介形式,主要是短视频,快手相较于抖音多了图文这一媒介形式。快手与竞争对手抖音的内容分发形式也很相似,都有主动获取(搜索)、流量分发(热榜)、内容匹配(算法推荐)、按地理位置分发(同城)等。
但是快手与抖音平台运营的侧重点不同,快手倾向于流量普惠,偏向于私域流量,注重粉丝与创作者之间的互动。抖音倾向于算法推荐,偏向于公域流量,注重内容与用户之间的连接。
从快手与抖音的产品特点也能看出,快手与抖音平台运营的侧重点不太相同。
快手长期将双列视频作为主要模式,直到8.0版本更新后才加入单列刷视频的形式。双列视频给人更多的选择,人们可以挑选自己喜欢的视频,注重用户的选择;单列视频则是直接将视频展现给人们,主要通过算法判定用户喜好推荐内容,注重的是内容。
所以导致快手的公域流量越来越中心化,整体偏向于社区;抖音成为一个去中心化平台,整体偏向于媒体。
快手的平台运营侧重点相较于抖音的不同,为其带来的影响有利有弊。
先说好的一面,快手的平台运营更注重社区的建设,用人与人之间的联系来增加用户粘性,相较于抖音用算法推荐来增加用户粘性,快手上形成的社区氛围更接近于现实社会。而且,快手的粉丝与创作者之间更具信任度,有利于快手直播电商的发展。
再来说不好的一面。
一是快手的头部创作者固定,辛巴、二驴、散打哥等头部网红“家族”把控的私域流量很大,中尾部创作者不参与抱团很难脱颖而出,创作者生态僵化。
二是快手的盈利能力弱于抖音。
在快手招股书中,快手将自己的营收分为三个部分,一是直播收入,二是线上营销,三是其他(包括电商、游戏及其他增值服务)。
由于快手注重社区属性,快手的直播收入一直占比最大。2017年快手直播收入79亿元,占比达到95%,到了2019年,直播收入314亿元,占比虽然下降至62%,但是依旧是快手的第一大营收。
而抖音更偏向于媒体,广告是抖音的主要营收。据公开数据显示,2019年字节跳动全年营收1400亿元,其中广告收入约1200亿元。另外,据传,字节跳动2020年中国市场广告营收将达到至少1800亿元,抖音贡献了近60%。
快手的直播收入显然不如抖音的广告收入。
三是快手平台内逐渐形成的“江湖规矩”,对快手品牌形象以及平台控制力的威胁。
快手注重人与人之间的联系,前期更是采用轻运营的方式,主张不接触创作者,保持中立,导致快手平台内也逐渐形成一些“江湖规矩”。
以直播为例,快手的直播收入能占很大比重,与快手主播的获客方式有很大关系。主播们会在某些直播间刷礼物,冲榜单,来对自己的直播间进行引流,称之为“甩人”。辛巴、二驴等主播都会用这种方式进行引流,不过也因此闹出过一些不愉快的事件。
为了提升快手的品牌形象,快手官方近几年邀请了很多明星入驻。王祖蓝入驻快手之后第一次直播,快手头部网红二驴刷41万礼物冲上榜单第一,但由于王祖蓝没有照例给二驴直播间引流,被二驴在直播间内放言“滚出快手”。
这些“规矩”有时候反倒不利于快手官方对自身平台发展方向的把控。
上市快手,如何持续吸引投资者的青睐
无论是品牌形象的割裂,还是平台运营侧重点不同产生的问题,资本市场对快手上市产生的投资热情是实打实存在的。不过,资本市场对快手的热情,也可以分为两个阵营。
一部分是冲着“短视频第一股”,快手上市之后股价大涨,借此赚一笔,并不打算长线持有;一部分是对快手抱有信心,看好快手未来的价值。
“我们无法在研究的一开始就界定价值,而是必须在研究的进程中发现价值。”纽约市立大学(CUNY)研究生院杰出教授、剑桥大学博士大卫·哈维(David Harvey)在其所著的《资本的限度》中提到。
资本市场对快手的价值判定,也是在快手动态发展的过程中完成的。除去“短视频第一股”头衔,快手或许可以从这几方面的改变,来增加资本市场对其的青睐。
一是加强平台运营措施,把控平台内容,解决品牌形象的问题。
快手曾请来C罗、周杰伦等大牌明星来提升品牌形象,暂且不说这一方法具体能让快手的品牌形象提升多少。不过,在马保国大火期间,也曾传出入驻快手平台的海报,具体真假暂且不论,但这一海报传出了之后,有很多人觉得这是真的,可见在大众眼中,快手是真有可能做出请传武*子骗**入驻的事情。
这与快手品牌在用户心中长期形成的认知有关,而且快手平台内,也有这样的例子。“永不打工”的周立齐化名“广西阿三”,在快手平台拥有三百多万粉丝,成为了一名“励志网红”。
前文已经提过,快手也有“*善美真**”的内容。如何通过官方平台运营,将*善美真**的一面展示出来,减少低俗、卖丑一类的内容曝光,或许是快手平台应该考虑的事情。
二是从盈利方面考虑,通过实打实的盈利,来获得投资者青睐。
互联网时代有三大流量变现渠道:广告、电商、游戏。目前来看,快手在盈利能力上还有很大的潜力。
对于广告变现方式来说,快手的线上营销收入在2019年为74亿元,与同为短视频赛道的抖音相比,还有很大的增长空间。现在的快手已经增加有单列视频浏览方式,有利于挖掘快手的广告价值。
对于电商业务来说,快手的直播电商业务主要依赖主播与粉丝之间的信任关系。然而年前的“燕窝事件”,对快手的电商生态是一种伤害。“燕窝事件”之后,很多主播承认售卖假货,主播与用户之间的信任关系受到伤害,电商业务也会受到一定的影响。
而对于电商业务来讲,最能让用户放心的就是供应链能力。目前,快手与京东在电商方面有合作,京东能为快手电商业务的供应链能力提供背书,快手也应扶持一些供应链,并且对平台内的直播电商乱象进行清查。
不过,目前电商业务,快手仍处于初期阶段,对卖家和买家的补贴较多,抽佣较少,导致现在快手的电商营收归到“其他收入”一项,未来也有一定的增长空间。
对于游戏这一变现方式,快手目前已经有偏休闲一类的快手小游戏APP,中重度游戏不多。或许,快手需要继续深入到游戏产业链,来推出游戏挖掘快手平台内的游戏流量价值。
三是拓宽边界,深度挖掘人与人之间的价值。
纽约大学宗教历史系教授詹姆斯·卡斯在《有限与无限的游戏》这本书中写到:世上至少有两种游戏。一种可称为有限游戏,另一种称为无限游戏。有限的游戏在边界内玩,无限的游戏玩的就是边界。有限游戏以取胜为目的,而无限游戏以延续游戏为目的。
快手想要持续发展下去,或许也需要进行无限游戏,拓展边界。快手是一个平台、一个社区,平台可以连接多边市场,社区属性可以挖掘人与人之间的价值。例如快手的同城功能,或许可以再诞生出一个“大众点评”。
结语:
在快手申请上市后不久,出现了辛巴燕窝事件;在快手上市之前,快手又因为平台内上亿部侵权视频被中国音像著作权集体管理协会要求下架侵权视频。这些事件,其实都可以认为是快手在发展过程中种下的“因”结的“果”。
资本市场对其的价值界定,有一部分就是根据快手动态发展过程中的“因果”。如今的快手已经成为中国互联网企业市值第五,二级资本市场对其价值究竟是高估还是低估,未来的快手能否一直被二级资本市场看好,仍要看快手自身。