倒挡锁

定钳盘式制动器工作原理

浮钳盘式制动器动画

行星齿轮机构(低速挡)

互锁装置

离合器液压操纵机构的结构及工作原理

领从蹄制动器

摩擦离合器的结构及工作原理

汽车直行时转阀的工作情况

汽车制动系的组成及工作原理

双腔串联式制动主缸工作原理(制动过程)

转阀的阀芯与阀体的相对位置

转阀式动力转向装置工作原理

自锁装置

前置前驱

前置后驱

前置四驱

鼓刹

碟刹

差速锁

CVT无级变速器

双离合变速器

阿克曼转向设计

缸内直喷发动机做功过程

缸径、冲程、排气量与压缩比

SOHC单凸轮轴引擎

直压式气门

摇臂式气门

爆震

扭力转换器

差速器

离合器

避震器对于抑制弹簧谈跳的效果

阻尼

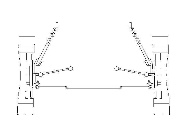
汽车悬挂的工作图

回转半径
发动机

进气系统

火花塞

正时系统

燃油

冷却系统

排气系统

转子发动机

直列式发动机——它的汽缸肩并肩地排成一排,L4发动机

水平对置式发动机——汽缸排列在发动机相对的两个平面上

涡轮增压发动机

变压缩比发动机

V型发动机——汽缸排列在成一定角度的两个平面上,V6发动机

汽车换挡

差速锁

转子发动机

直列式发动机

水平对置式发动机

涡轮式发动机工作原理图解

缸内直喷发动机做功过程

四冲程发动机做功过程

复杂版



变压缩比发动机

V型发动机

二程发动机--奎西发动机

二冲程发动机

四冲程发动机

CVT无级变速器

双离合变速器

离合器


曲柄连杆机构发动机

三相电子绕组励磁
变速箱工作原理

阿克曼转向设计

差速器工作原理


行星齿轮系统

轮对检修就是这样子

电导体和磁场的相对运动会产生电流,发电机

直流电动机

曲轴运动

涡轮式发动机工作原理图解

曲柄连杆机构发动机

单相感应电动机

量子磁电机

单相感应电动机

步进电机的工作原理

平衡电机

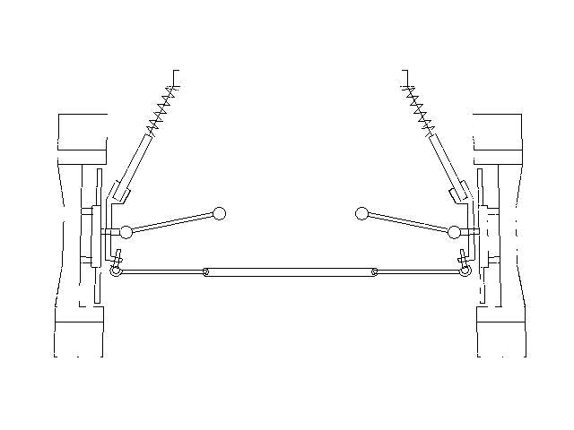
汽车悬挂的工作图
