
射频同轴连接器是电子连接器的一个细分领域,也是热门领域,下面德索五金电子针对射频同轴连接器知识做一个专业的介绍。
射频同轴连接器概述:
同轴连接器,(有的人也称它为射频连接器或RF连接器,其实严格上来说射频连接器并不完全等同于同轴连接器,射频连接器是从连接器的使用频率的角度来分类而同轴连接器是从连接器的结构来分类,有些连接器并不一定是同轴的,但也被用到射频领域而同轴连接器也可用在低频,例如,非常常见的音频耳机插头,频率不超过3MHz. 从传统的角度来讲, 射频指MHz范畴, 现在的同轴连接器往往被用在微波领域,GHz范畴,“射频”一词一直沿用, 重叠于“微波”一词之上 ),是连接器的一个分支,有连接器的共性也有它的特殊性。同轴连接器有内导体和外导体, 内导体用于连接信号线而外导体不仅是信号线的地线(体现在外导体内表面),也起到屏蔽电磁场的作用(屏蔽内部电磁波对外部的干扰通过外导体内表面起作用,屏蔽外部电磁场对内部的干扰通过外导体外表面起作用),这种特点赋予同轴连接器很大的空间和结构优势.同轴连接器的内导体外表面和外导体内表面基本上是圆柱面-特殊情况往往是机械固定所需,而且有共同的轴线,故被称为同轴连接器。在传输线(Transmission lines)的几种形式中,同轴线缆由于它突出的优点(结构简单,空间利用率高, 制造较容易,传输性能优越…)被普遍采用而产生连接同轴线缆的需求,同轴连接器便应用而生。由于同轴结构的优越性,使(同轴)连接器(相对于别的连接器)特征阻抗的连续性更容易被保证,传输干扰和被干扰(EMI)很低,传输损耗少而几乎唯一地被用到射频,微波领域。而正因为几乎绝对地被用在高频上,产生一些有别于其他连接器的电性能要求.
射频同轴连接器性能指标
射频同轴连接器在电性能上应像射频同轴电缆的延伸,或者说同轴连接器与同轴电缆连接时应尽量降低对被传输信号的影响, 故特征阻抗和电压驻波比是射频同轴连接器的重要指标,连接器的特征阻抗决定了与它连接的电缆的阻抗类型. 电压驻波比反映了连接器的匹配水平.
A, 特征阻抗: 由传输线的电容和电感决定的传输线的一种固有特征,反映了电场和磁场在传输线的分布状况,只要传输线的介质是均匀的,特征阻抗是一个常数。在波传输过程中,E/H 是不变的。传输线本身决定了它的特性阻抗,而且特性阻抗在传输线上处处相同。在同轴线缆或同轴连接器,特征阻抗由外导体的内径,内导体的外径及内外导体间的介质的介电常数决定,存在如下的量化关系。

B, 反射系数: 反射电压与输入电压的比值,数值越小说明反射的能量越少,匹配越好,特征阻抗越接近,连续性好
C, 电压驻波比: 在失配的传输线上会有两种波在传播,一个是入射波,一个是反射波。在某些位置两种波产生叠加。叠加的波并不沿传输线传播,而是停滞的。换而言之, 在任何参照面上总是存在一个最大或最小电压。这种波称为驻波。电压驻波比便是输入电压与反射电压的和与输入电压与反射电压的差的比值,此值大于或等于1,越小越好,与反射系数有一定量化关系。
D, 插损:指当一个元器件或系统插入连接到某个电路时,使该电路产生能量损耗,所损耗的能量为该元器件或系统的插损,往往以dB为单位。插损是随着频率的增加而增加的。这是由于趋肤效应而产生的射频泄露。插损主要有以下几个影响因素:
1.由于趋肤效应和介质上的损失,部分电能会转化为热能;2.反射回来的能量在传输过程中被损耗;3.表面裸漏而造成射频泄漏。
E, 三阶互调:被动元器件(如连接器)产生的非线性的两个或多个频率的噪音。引起三阶互调的因素较复杂,需专业的设计和生产技术来降低或预防。几种影响互调的典型因素如下:
——接触表面材料氧化
由铝或其它材料的氧化性引起,可以使用银来提高性能;
——具有磁性的材料
钢,不锈钢等,引起非线性特征;
——电流饱和
电流和电压将不再是线性关系;
——高电晕
等离子效应;
——小裂纹
出现在连接表面;
——油脂
在连接元件之间,不允许直接相连。
F, 截止频率:在截止频率以内,信号都以TEM波的形式传播。传输线的机械尺寸决定了截止频率,一般来说尺寸(轴向)越小的传输线传输频率越高。在能量传输方向上场是不存在的(电场和磁场是垂直于电缆轴线方向)。当电磁波频率太高(波长太短)时,同轴线缆或同轴连接器的介质空间尺寸太大(相对于波长)以致电磁波无法再以TEM(电磁波的传播方向,电场方向,磁场方向3者相互垂直)的方式传播时的频率,当TEM波达到截止频率时会变为混合波(hybirdware)。同轴线缆或同轴连接器的外导体内径,内导体外径越小则截止频率越高。在同轴线内部,电压和电流是以不同的方式传播的,电压波在内导体表面和外导体内表面之间传播。电流沿同轴线的传输引起了围绕内导体的环形场强,越贴近表面的场强越大。电流引起了磁场,而电压引起了电场。
G, 介电常数:用于衡量绝缘体储存电能的性能,代表了电介质的极化程度,也就是对电荷的束缚能力,介电常数越大,对电荷的束缚能力越强. 介质在外加电场时会产生感应电荷而削弱电场,原外加电场(真空中)与最终介质中电场比值即为介电常数(permittivity),又称诱电率或相对电容率。如果有高介电常数的材料放在电场中,场的强度会在电介质内有可观的下降。一对电容板中充入介电常数为ε的物质后电容变大ε倍。电介质有使空间比起实际尺寸变得更大或更小的属性。例如,当一个电介质材料放在两个电荷之间,它会减少作用在它们之间的力,就像它们被移远了一样.当电磁波穿过电介质,波的速度被减小,波长变短.连接器常用的绝缘材料的介电常数一般在2-5间,如特氟龙是2.1,FR4是4.6
射频同轴连接器的趋肤效应(skin effect) :
在高频应用中,射频同轴连接器也产生一些突出的现象,如趋肤效应(Skin effect):由于电磁感应, 交变电流趋向在连接器外导体的内表面和内导体的外表面传输, 频率越高趋势越明显, 当频率很高时, 95%的电流在连接器外导体的内表面和内导体的外表面3个趋肤深度(Skin depth)范围内传输. 对于铜导体来说, 1个趋肤深度与频率的关系如下:

可见当射频同轴连接器应用于高频时, 电流密集在外导体的内表面和内导体的外表面, 这样对连接器外导体的内表面和内导体的外表面的质量要求很高,尤其是电镀层, 这是为什么射频同轴连接器镀银比别的连接器镀银更常见(电源连接器除外—电源连接器对导电性要求也很高)——银的导电性在所有金属中最好.
射频同轴连接器界面特点:
在同轴传输线体系里,特征阻抗的规格并不多,以50欧姆(兼顾功率传输性能和损耗传输性能)为主,CATV体系里以75欧姆(损耗小)为最常见,偶而有93和95欧姆,别的规格极少见. 常见的射频同轴连接器界面标准有MIL-STD-348,IEC61169系列,CECC22000系列.这些标准对射频同轴连接器的界面做了系统全面的定义,它们也充分体现标准的制定原则之一: 除非必要标准不应限制设计的灵活性. 为了保证界面的互配性,这些同轴连接器标准不得不详细规定界面的每个配合尺寸,如阴阳连接器间连接的配合尺寸,界面处外导体间的配合尺寸,界面处绝缘子间的配合尺寸,界面处内导体间的配合尺寸.除非必要这些标准尽量给射频同轴连接器设计者保留设计的灵活性,如内导体外径和外导体内径两者中往往只定义一个尺寸;再如只要不影响配合,一般不定义尺寸只要求电气性能, 例如不规定内导体的材质,开槽尺寸只要求电气性能;7/16的内导体和外导体可开槽也可不开槽; 标准也充分考虑产品加工的工艺性,如BNC公头的连接套,即可开长圆槽(切屑加工所需)也可开方槽.
这些标准中也有不一致的地方,如SMA母头绝缘子和内导体相对于基准的位置, MIL-STD-348和IEC61169的要求是不一样的: 348不允许绝缘子高于基准面而IEC则要求不能高于基准面0.05, 348要求内导体相对于基准的位置范围是0-0.25而IEC的要求却是0-0.4. 主流的同轴连接器系列并不是很多(相对于其他类连接器),且寿命长(如N,SMA头有好几十年历史)长盛不衰,这在消费电子类连接器极为罕见,几乎不可能.
射频同轴连接器材料:
也正因为同轴结构,同轴连接器的零件绝大部分是回转体,故同轴连接器的零件制造以切削加工为主(尤其是车加工)。为了改善切削性能,同轴连接器的零件往往用含铅的铜合金, — 铅使铜合金变脆而更易切削,在美国和日本的铜合金牌号中以“C3…”开头为铅黄铜(如C36000,C34500,C35300; C3601, C3602, C3603, C3604, C3605-铅含量超出欧盟要求这个牌号已很少用),磷青铜用C53400, C53800, C54440,铍铜用C17300而少用C17200(不含铅)—(切削加工的铅铜棒在RoHS豁免条例之中—第6项,),当然铅的加入对铜合金的机械性能也会产生影响, 材料塑性降低,机械加工硬化的难度增加,故在对产品塑性有一定要求的场合不应选择铅含量太高的材料.而不锈钢则用SUS30300(相对于别的不锈钢, SUS30300添加了硫及提高碳含量来提高它的可切削性).
电磁波在同轴传输线传播时,只分布在外导体的内表面和内导体的外表面之间, 也就是说电磁波完全在金属间的空间介质传播, 故同轴连接器的绝缘材料的选择对它的传输性能影响很大,甚至是决定性的.常用的绝缘子材料有, PTFE —–一种氟树脂, 具有良好的防腐能力和切削性能, 非常优越的热稳定性和阻燃性, 防静电, 具有良好的润滑性, 在较大的温度和频率范围内具有很好的电性能和绝缘性能,另一个突出的特点是, PTFE弹性模量较小,故易变性,弹性好,非常适合做同轴连接器的绝缘子; PTFE融化后粘度很大不适用用注塑成型加工, 常用常温模压加工; PTFE是最常用的氟塑料之一; PE—–聚乙烯是聚烯烃系列塑料的一种。它的密度低,绝缘性能好适合于射频应用,它具有高的防水扩散(water diffusion resistance)性能,低的吸水性和化学惰性(除某些酸外),因此,在某些恶劣环境中使用并不会影响到它的机械性能。此外,它具有良好的加工性能,它在卤化烃中会不同程度地分解,长期户外存储会造成一定程度的变色。PE的缺点就是其熔点低,当它燃烧时会产生有害物质。PFA—-PFA 是一种类似于PTFE 的材料,也有点类似与FEP(聚丙烯),这三种材料 最主要的区别在于它们的弹性系数和最低温度。PFA具有低的弹性系数和高的温度范围。 与FEP相比,PFA具有热塑性能可以被浇注模使用。而且还可以重复浇注和焊接,它在-200°C—250°C 时具有良好的热稳定性能和好的电传输性能,与PTFE相比,它具有更好的耐磨损性能和防粘性能。 PFA对大多数元素显惰性,气候和空气对它的影响很小。 PFA应用场合:绝缘子、电缆护套。 PEEK—-PEEK是一种局部结晶材料,它具有很高的拉伸强度,很好的热稳定性能和高的熔点(334°C),具有良好的化学惰性(除硫酸以外)。此外,它耐腐蚀性强, 可承受放射性污染,PEEK的晶体结构使其同样适用于热注塑模。 PEEK导电能力良好,强度大,重量不到铝的30%,因此它是一种合适的隔离材料,PEEK的燃烧不产生烟。 PPO—-聚苯氧基(PPO)是一种无定形的热塑性材料,在高温下也不易水解于净化剂、酸、和碱之中,但PPO会与酮、氯化物、芳烃相互反应。 它的绝缘性能优良,拥有可以忽略的损耗因素,而且对温度,频率和潮湿不敏感,与PEEK相比,PPO具有良好的热稳定性能而且耐更低的温度。与PC(聚碳酸酯)相比,它具有同样的强度,在高温下有高的尺寸稳定性能,此外PPO 同样适用于野外使用。同轴连接器密封圈常用硅橡胶材料, 这种材料柔软而且弹性好。 连接器使用橡胶垫圈的目的是隔绝潮湿及防止其他污染,它只与酸性物质反应。有时,为了达到阻燃的目的会使用硅橡胶。
射频同轴连接器的电镀:
与常规连接器一样, 射频同轴连接器也需电镀层, 电镀层有如下功能或特点: 镀层增加连接器的载流能力(镀层一般具有较好的电传导性和热传导性); 降低或避免金属表面的氧化,为导体提供保护层及抵御表层开裂;为导体间提供优良的电接触性能; 为导体提供较好的耐磨损性能;为金属间的结合提供媒介.射频同轴连接器常见的镀层有:金,银,镍,三元合金等. 金,银,镍是连接器常见的镀种而三元合金(也被称为白铜/white bronze)差不多是射频同轴连接器特有的电镀规格.三元合金是由铜,锡,锌组成的合金,是替代银和镍的非常理想的镀层,甚至比镍镀层性能更优越:它不具有磁性而镍具有磁性 — 镍的磁性影响电磁波的传播即影响高频信号的传输性能,使信号失真,故对三阶交调影响明显;有些人的皮肤对镍敏感而三元合金对人体皮肤不会产生什么不良反应, 三元合金具有优良的导电性,能实现很小的接触电阻, 它也具有优越的耐腐蚀性能和耐磨损性能(耐磨性能数倍甚至数十倍好于银), 能提高连接器的插拔寿命.此外三元合金具有突出的电镀覆盖力,即三元合金镀层较一般镀层均匀.
射频同轴连接器分类及应用:
射频同轴连接器根据外形尺寸被分成4大类: 标准型(standard),小型(miniature),超小型(Sub-miniature) 和超微型(Micro-miniature). 这种分类反映了同轴连接器的发展历程. 早期的同轴电缆比现在常用的同轴电缆大得多. 故早期的射频同轴连接器个头都很大:
UHF(Ultra-High-Frequency, 超高频)射频同轴连接器在上世纪30年代由安费诺的工程师E.Clark Quackenbush所发明,被用于无线广播.UHF公头常被称作PL-259接头(美军标料号),UHF采用螺纹连接界面,它的特征阻抗并非固定.正因为特征阻抗不是常数,UHF一般只能应用在300 MHz以内,是成本较低的连接器.它常用在较低频的通讯设备如CB无线电广播和有线广播系统.
N型射频同轴连接器由贝尔实验室的Paul Neill 所发明,这是射频同轴连接器历史上第一个能用到微波领域的系列. N接头采用螺纹连接界面,有50和75欧姆两种版本.50欧姆N头能用到11GHz场合,精密型N头甚至被应用到18GHz环境,典型的应用有局域网,测试设备,卫星和*用军**通信设备.C系列是Concel研制成功的,它采用内卡口方式连接,内部公称尺寸,工作频率等与N系列相同,但没有N系列通用.别的标准型射频同轴连接器系列包括SC, HN, 7/16, APC-7.MinDin
小型射频同轴连接器:
BNC射频同轴连接器是上世纪40年代所发明,是最流行的射频同轴连接器之一, BNC是Bayonet-Neill-Concelman的缩写, bayonet表示界面采用卡口的连接方式, Neill和Concelman分别是N型和C型射频同轴连接器的发明者. BNC实际上是C型连接器的小型版本 – 而C型连接器是N型接头的卡口式版本. 其最大特点是连接方便, 一般通过连接卡套旋转不到一圈即可连接好。适用于频繁连接与分离的场合,是最通用而又便宜的产品。BNC有50和75欧姆两种规格,而且相互间能互配. 50欧姆的BNC可用到4GHz的场合,它的应用非常广泛,如柔性网络,检验设备,电脑周边连接,监控系统.尤其在仪器仪表、网络和计算机信息领域应用广泛.
TNC射频同轴连接器是上世纪50年代所发明,TNC是Threaded-Neill-Concelman的缩写, Threaded表示界面采用螺纹的连接方式, Neill和Concelman分别是N型和C型射频同轴连接器的发明者.TNC的发明是因为BNC在振动环境下产生噪音,是BNC的螺纹版本,应用频率高达11GHz.*用军**和航空是典型的应用,往往工作在振动环境下. F头,75欧姆螺纹连接射频同轴连接器,CATV系统的标准接头,主要与RG59,RG6和RG11射频同轴电缆连接,主要有一件式(不带压接管)和两件式结构(带压接管).此接头经济性好,成本低,安装方便,尤其是一件式结构.别的小型射频同轴连接器系列包括SHV, MHV, Mini-UHF.
超小型射频同轴连接器:
SMA (Sub-Miniature-A) 射频同轴连接器是1958年由美国Bendix公司的James Cheal发明的,当时用来解决同轴与微带之间的TEM模转换问题,因其具有体积小、结构简单、工作频带宽、可靠性高等优点,因此很快在航天航空系统,微波通信工程、军工*器武**领域得到广泛应用。目前SMA已成为世界上最通用,品种规格最多,用量最大的RF连接器,其发明人因此荣获世界微波应用奖。SMA工作频率0~18GHz,适配3~5mm软、半柔、半刚性电缆。SMA为.141(RG402)半刚电缆而开发的, 故RG402同轴电缆的内导体可直接用作SMA的内导体—这种结构的传输性能非常优越. SMA使用螺纹连接,精密级的能用到高达26.5GHz的场合(英康连接器有限公司开发的SMA能用到30GHz).它最大的使用频率受与它连接的线缆限制.SMA的优势是使用频率高,尺寸小,连接稳定,SMA被广泛应用于微波领域:同轴线缆转波导;同轴线缆转PCB微带.在放大器,衰减器,滤波器,混合器,晶振及开关等也能看到SMA的身影.
SMB (Sub-Miniature-B) 射频同轴连接器是一种带止动件的推入式连接器, 是应市场对接头快速插拔的需求而开发的,外导体弹片的中心定位功能及重叠绝缘子使SMB具有容易摁扣及能在振动环境下保持较好性能的特点, 它具有体积小、插拔方便、抗振性好、占用空间小等优点,广泛应用于工作频率在0~4GHz的通信设备、仪器仪表和导航系统, 应用在PCB板间及PCB板内RF或数字信号的连接…SMB有50欧姆和75欧姆两种版本,有的厂家的50欧姆的SMB和75欧姆的能互配,有的厂家则不然.
SMC(Sub-Miniature-C) 射频同轴连接器在结构上与SMB类似, 是SMB的螺纹式变形,其内部结构尺寸与SMB相同,工作频率0~11GHz, 内导体和重叠的绝缘子结构与SMB完全相同,但SMC采用螺纹连接机构而不是摁扣形式. 内导体和绝缘子的位置的更精准控制及螺纹的连接结构允许50欧姆的SMB工作在10GHz的频率.对于尺寸要求小振动大的环境SMC是很好的选择.SMC常用于微波电话及非*用军**通信设备,通常用于雷达、导航等*用军**设备.别的超小型射频同轴连接器系列包括SMK/K(2.92mm), 2.4mm, 3.5mm, BMA(盲插).
超微型射频同轴连接器:
随着连接器的微型化的发展趋势,超小型连接器被进一步缩小,连接器供应商纷纷开发出超微型同轴连接器.
MCX (MicroCoaX, 浩讯/Hubersuhner的商标名)是上世纪80年代欧洲所开发,结构跟SMB很相似 – 内导体和重叠的绝缘子结构与SMB完全相同,也采用摁扣连接结构, 但它将外导体弹片的中心定位结构翻转朝外. 这样使个头小很多,MCX的可靠性不亚于SMB但外形和体重小大致30%.50欧姆的MCX可工作在6GHz环境下,它可工作在传统SMB的场合且提供更大的空间,其基本功能与SMB类同,有替代SMB的趋势.MCX的应用包括GPS(全球定位系统),汽车,手机及数据通信.
MMCX (Micro-MCX) 是上世纪90年代欧洲开发的,也是应用于快速插拔,但它比SMB足足小了45%, 而且工作时公母连接器可以相对360°自由旋转不至于信号会间断,在微型天线等应用非常理想. BMA系列又称盲插连接器,其固定插座在轴向和径向均有一定的浮动量,可实现积木式、模块化整机系统,快速盲插更换,主要用于*用军**产品和CDMA通信设备。工作频率0~22GHz。内部公称尺寸及配用电缆与SMA相同. SAA系列(DIN47297) 是一种推入自锁式连接器,有50Ω和75Ω两种。国内目前在程控交换机、*端机光**等通信系统大量应用. SSMA系列结构特点与SMA相似, 但体积更小, 工作频率可达40GHz,是目前唯一通用的标准毫米波连接器. SSMB系列结构特点与SMB相似,体积更小巧,在*用军**电台中普遍采用。
别的超微型射频同轴连接器系列包括,SSMC, SMP, MC-card, MHF.
在超小型和超微型射频同轴连接器中,有几个系列的接头由于能够工作于30G的频率以上(波长在10mm以下),被称为毫米波同轴连接器,发展简史大致是这样的: 同轴线和同轴连接器是应用较早的一种元件。早期认为它的应用范围适合分米直到10厘米波段(即300MHz~3GHz),当波长再短时会出现传输功率容量小,衰减大,制造困难等一系列的缺点。因此,早期在厘米波段中同轴线几乎完全被波导所代替。由于技术上的困难,同轴系统被认为是不能应用到毫米波系统上。这主要还是同轴电缆插入损耗大,当工作频率升高以后有高次杂模出现,使其无法传播电磁信号。另一方面在一对同轴连接器接头处也会产生较强的电磁波辐射,会造成很大的电磁干扰。正因为这些原因,就使得同轴线及其连接器无法广泛应用到毫米波频段。很长一个时期内毫米波主要靠波导来传输。但是波导频带较窄,甚至在某些情况下,在所给定的频带内,在其边缘还会出现重叠的现象。由于同轴系统能够传输从直流到超高频频谱的电磁波信号,并且同轴器件具有体积小、重量轻、使用同轴器件组装的系统具有不受物理位置限制等一系列优点,因此又一直吸引着各国的同轴器件专家们去克服同轴系统存在的这些固有的困难。
自第二次世界大战结束到上世纪90年代初,同轴连接器的性能没有重要的改进。SMA是当时使用频率最高的一种小型同轴连接器,工作频率到22GHz.上世纪60~70年代重点是发展精密同轴连接器,如14、7、3.5(mm)精密连接器。精密同轴连接器的研制成功是同轴连接器技术发展史上的一项重大成就。它使同轴线电压驻波比的测量精度由百分之几提高到千分之几。这对毫米波连接器技术的发展起了很大的影响。
随着各种新型微波器件的出现,很多电子系统的传输功率不再像电子管时代那样高,再加上精密测量技术的发展和精密机械加工技术的进步,近几十年来,毫米波同轴连接器技术有了突飞猛进的发展。在上世纪70年代中期由美国Hewlett-Packard公司和Amphenol公司推出的3.5mm同轴连接器是最早的一种毫米波同轴连接器,它的工作频率达33GHz。以后很多公司都又相继开发出很多新型毫米波同轴连接器。进入上世纪90年代,Hewlett-Packard公司宣布他们研制成1.0mm同轴连接器,最高工作频率达110GHz。它是当前毫米波连接器中最小的一种,内导体直径大致为0.43mm(50Ω),要保证较高的尺寸精度,这么小的尺寸在机械加工中已有很大的困难。
这些新开发的毫米波同轴连接器有几个明显的特点。首先是连接器的工作频率尽量接近相同规格空气同轴线的截止频率。1989年10月颁布的IEEE287修正草案中规定的各种传输线的频率范围。这就决定了连接器内部尽量采用空气同轴式结构,对不可避免的介质支撑(绝缘子)和内导体结构带来的影响要设法降低。其次是内导体几乎都采用针孔式(有极性)结构,这是因为在小尺寸的情况下采用平面接点(无极性)会造成很多困难,因此,IEEE287新标准草案中规定允许使用有极性的内、外导体结构,但必须要保证连接的性能与连接器配对连接无关,发展的事实证明,这一要求是能够实现的。再其次就是新发展的产品都保持了和以前相关产品有良好的兼容性,像K型能保持与3.5,SMA的配对,V型能保持与1.85,2.4的配对。
应用场合不同对毫米波同轴连接器的要求也不相同,例如:仪表上使用的连接器在装成大系统以前,反复连接的次数很少,可重复性和坚固性就考虑很少,重点考虑的是成本和体积大小;在系统和仪器中使用的连接器,要求多次插拔,因此可重复性和坚固性就成了头等重要的事情,其次才考虑成本;作为校准标准的场合需要有较高的测量精度,对使用的连接器要求有更高水平的坚固性、可重复性和尺寸精度。根据这些使用场合的不同,毫米波同轴连接器通常被分成三个等级,即生产级、仪器级和计量级。不同等级产品的主性能和关键零件的公差是不相同的,但保持产品的精密性、坚固性和耐久性是三个等级都需要的。
典型毫米波同轴连接器的特性:
1、 SMA连接器
SMA连接器的工作频率到22GHz,它不是一个毫米波连接器,但是它对毫米波连接器的发展有很大的影响,因此很有必要先对它作个介绍。SMA是由Bendix公司在上世纪50年代末期为半硬同轴电缆而设计的。它的配合空间用聚四氟乙烯介质填充,结构比较简单。这种连接器当初并没有打算长久使用,更没有作为一个精密连接器来考虑,因此它只是一个普通系统用的连接器。在当时情况下,由于它的体积小,能在较高频率下工作,很快得到了普及,甚至到后来发展出更新一代毫米波同轴连接器时不得不考虑与他的兼容。可是由于它先天性不足,也为后来发展小型同轴连接器带来了一些限制。SMA存在的主要问题是精度不高,不适合测试设备的需要;其次是外导体的壁比较薄,内导体插孔又是两槽结构,在使用中非常容易被磨损和发生损坏故障;再其次是使用频率不高,不能适应工作频率带达40GHz以上系统的需求。由于SMA存在这些缺陷,一些制造商就开发了一批能与SMA兼容的连接器,主要型号有3.5mm,WSMA以及后来发展的2.92mm,MPC3,KMC和WMP4等。这些连接器克服了SMA的局限性,在结构上与SMA也不相同,就外导体的接触面积讲,新开发的连接器都大大加强,提高了连接器的坚固性。
2、 3.5mm连接器
在上世纪60年代中期,美国商业部为了小型精密同轴连接器的标准化成立了一个联合工业研究会(JIRC),经过努力于1972年提出一个民用产品标准,空气传输线的尺寸缩小到3.5mm,无模工作状态下的频率扩展到36GHz。随后推出一种与它相匹配的3.5mm鸳鸯连接器(头座相同)。但由于它的精密度高,价格昂贵,阻碍了把它作为一个通用连接器而广泛使用。由于形势的需要,Hewlett-Packard等公司研制出一种高精度,价格比较便宜的3.5mm连接器,配合空间由空气介质填充,内导体插孔采用无槽结构,实际上是在有槽插孔外面加上一个无槽的保护套。额定工作频率达33GHz。它在两个绝缘子之间选择了足够大的距离,0.50英才(12.27mm),为D的3.5倍。3.5mm连接器能与SMA兼容,能进行无损地对接。在SMA工作频段范围内,3.5mm连接器的电压驻波比特性与SMA相近。3.5mm连接器最初设计是作为一种低成本,企图能代替SMA,但是它未能及时形成批量以达到提前降低成本的目的,结果使得3.5mm连接器的价格偏高,这就是3.5mm连接器未能代替SMA的原因。3.5mm连接器由于它的精密性和良好的耐磨性,特别适用于测试设备上。
3、 2.92mm连接器
2.92mm连接器在结构上3.5mm与连接器相似,只不过是更小一些,允许工作频率到46GHz,其内导体尺寸与SMA相同为0.05英寸(1.27mm)。2.92mm连接器最早是Maury Microwave公司研制出来的(MPC-3型)。由其他公司研制的这类连接器还有K型、KMC型、WMP4型等。K型连接器是在1983年由Wiltron公司研制出来的,它能与SMA、3.5mm、WSMA连接器兼容。K型连接器的心脏是它的过渡器,它用一个玻璃绝缘子实现同轴连接器到微带电路的刚性过渡,这就保证在更换连接器或维修时不会损伤电路。
毫米波同轴连接器的可靠性受到插拔力、外导体强度、配接时的应力消除情况及配接时同心度的影响。K型连接在这些方面都具有良好的性能。在正常情况下,K型连接器的插拔力为0.5磅(2.22N)而SMA是它的三倍。K型外导体的壁厚是SMA的四倍,其可靠性相当于SMA的30倍,这一点已被试验所证实。试验表明,K型连接器经一万次插拔后,其电气性能几乎没有什么变化。它特别适合于系统和测试仪器上使用。
4、 2.4mm连接器
2.4mm同轴连接器的研制成功标志着毫米波连接器发展走上一个新的台阶。在它前面发展的一系列小型同轴连接器在结构上作了不少改进,但是在连接器的坚固性和可重复性方面仍然改进得不够。这就使得仪器和校准标准方面出现一连串的问题,因为这些地方需要有更高的对准性、坚固性和可重复性。在以前开发的小型连接器由于受到要与SMA兼容的限制而影响了连接器的性能,例如,当与SMA配合时,由于SMA尺寸公差范围非常之大,能偶然发生阴中心导体(插孔)外径增大的故障,并且高频覆盖能力较小,中心接触体也很脆弱(易断)。这就迫切需要研制一种新型同轴连接器,要求无模工作到50GHz,坚固性和可重复性高并具有抗偶然故障的能力。在这样一个新的要求下,Hewlett-Packard,Omni Spectra、Amphenal等公司相继开发出一代新型小型2.4mm连接器。2.4mm连接器配合空间使用空气介质填充,达到低损耗。中心导体支撑采用高性能绝缘子,其上面的补偿孔是不通孔,能防止污物进入连接器的内部。两个绝缘子之间有足够大的距离,使互相影响减至最小。中心导体插孔采用四槽结构(用于生产级和仪器级)和无槽结构(用于计量级)。它的外形很像SMA,APC-3.5,为了不致于发生与这些连接器发生偶然配合,所以连接器的连接螺纹采用公制M7×0.75。为了保护插孔不被损坏,在插针接触插孔前外导体已配合到50%以上。2.4mm连接器在DC~50GHz整个范围内都具有良好的性能,反射损耗都小于SMA、APC-3.5、K型连接器,结构具有很高的可重复性。2.4mm连接器能适用于很宽的领域,是第一个具备有生产级、仪器级和计量级三个等级的产品。
5、 1.85和1.0mm连接器
美国Hewlett-Packard公司是一个从事电子设备和元件的制造公司,它在毫米波连接器研制中一直处于领先地位。在1986年欧洲微波会议上他们又首次推出1.85mm的连接器,使工作频率扩展到65GHz。后来Wittron公司经过改进,并于1989年1月宣称在360型网络分析仪中使用了1.85mm(V型)连接器,并能同2.4mm连接器兼容。V型连接器的结构形式与K型相同,只不过尺寸更小一些。它与微波电路的连接也是用一个过渡器——玻璃绝缘子,其中心导体的直径只有9密耳(0.23mm)。
进入上世纪90年代,Hewlett-Packard公司宣布他们又研制成功1.0mm连接器,这是目前世界上最小的毫米波连接器,内导体直径约为0.43mm(50Ω),最高工作频率达110GHz。
射频同轴连接器的工艺:
零件名称
原材料
切削加工/设备
表面处理
热处理
备注
外导体/外壳类
黄铜棒/不锈钢/型材
车,钻,镗,铣,攻螺纹,特殊工艺./设备:凸轮自动机床;CNC自动机床.多工位;多轴;专用机床.
镀金,银,镍,锡,三元合金/滚镀,挂镀. 钝化(不锈钢);发黑
铍铜-真空充氮热处理/热处理炉黄铜青铜(必要时)-退火热处理/热处理炉
中心导体
铍铜线材/黄铜线材
车,钻,镗,铣,攻螺纹,折弯,特殊工艺./设备:凸轮自动机床;CNC自动机床.多工位;多轴;专用机床.
镀金,银,/滚镀,挂镀.
铍铜-真空充氮热处理/热处理炉黄铜青铜(必要时)-退火热处理/热处理炉
垫圈
冷轧钢带
冷冲成型/设备:冲床,工具:模具
镀金,银,镍,三元合金/滚镀,连续镀.
接触头/中心导体/弹簧垫圈
铍铜带/青铜带
冷冲成型/设备:冲床,工具:模具
镀金,银,镍,三元合金/滚镀,挂镀,连续镀
铍铜-真空充氮热处理/热处理炉青铜(必要时)-退火热处理/热处理炉
绝缘子
聚四氟乙烯/聚乙烯
车,钻,镗,铣, 模压,烧结
密封圈
硅橡胶/无硫橡胶
模压
射频同轴连接器内导体的固定方式:
A, 倒刺;B,直纹;C,网纹;D,台阶;E,灌胶(环氧树脂)

射频同轴连接器绝缘子的固定方式:
A, 台阶式;B,收口;C,点铆;D,卡环;E,灌胶(环氧树脂)

射频同轴连接器之间的连接:
1, 公母连接器的连接方式:

2,外导体间的连接方式:
端面连接

锥度导向端面连接

开槽锥度导向端面连接

3, 绝缘子间的配合方式:

4, 内导体间的连接方式:
径向连接

轴向连接

射频同轴连接器与电缆,电路板的连接 :
因为同轴结构,同轴连接器有外导体(这不同于常规连接器),且为了保证传输性能,内导体的外径,外导体的内径,绝缘子的介电常数,及它们之间的相对位置有严格的要求。跟常规连接器一样,同轴连接器的连接媒介主要是线缆和电路板,但连接时,对内外导体的相对位置有严格要求,故同轴连接器的应用装配要求很高,连接方式和连接技术对同轴连接器的电性能影响明显。
1,外导体与同轴线缆外导体的连接方式
有4种,1, 卷曲(crimping); 2, clamping(压紧); 3, 焊接(soldering); 4,免焊(solderless) 如下图:
2,内导体与同轴线缆内导体连接方式:
有3种:塞紧(plugged); 焊接;卷曲

同轴线缆主要分成柔性线缆和半刚线缆两大类. 柔性线缆外导体适合用卷曲(crimp)和压紧(clamp)方式与同轴连接器连接—小的柔性线缆也常常用焊接方式与同轴连接器外导体连接. 柔性线缆内导体适合用卷曲(crimp)和焊接方式与同轴连接器内导体连接. 而半刚线缆外导体几乎是用焊接方式与同轴连接器外导体连接,也有部分采用压紧的方式—其中不少具有结构专利, 内导体主要焊接到同轴连接器内导体, 但是有些较大的波纹管的内导体是空心的,可车制成内螺纹,通过螺纹方式与连接器内导体连接.还有一种情况是: 将同轴线缆(如RG141)的内导体用作同轴连接器的内导体—只需将线缆与连接器的外导体连接.
高频信号一般以带状线或微带线的结构在电路板上传播. 带状线和微带线又可分成单端式和平衡式(差分结构),埋入式和覆盖式,边缘耦合(有对称边缘耦合和偏移边缘耦合)和宽边耦合及共面带状线.同轴连接器应该根据电路板传输线的具体结构设计出适合连接的结构.同轴连接器主要通过焊接与电路板连接.
3, 射频同轴连接器与线缆或电路板的安装方式
同轴连接器,不*公论**头还是母头,有各种结构和安装方式,可直接连接到电缆或安装到PCB.
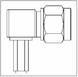
直式接线缆结构:

弯式接线缆结构:

穿墙安装面板结构:

PCB直式穿孔安装

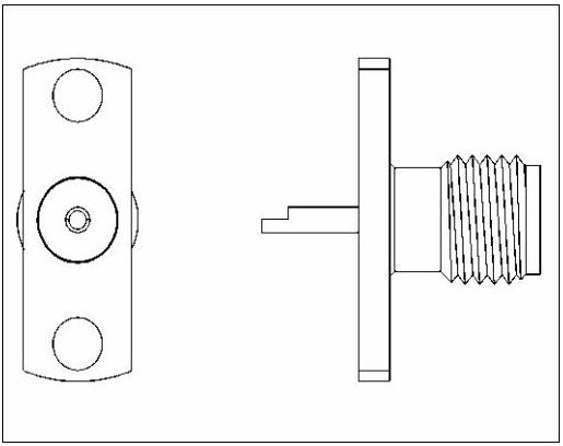
PCB弯式穿孔安装

PCB表贴安装

PCB板缘表贴安装

法兰安装方式:

常见射频同轴连接器的应用频率范围:

射频同轴连接器的选择与使用
1, 射频同轴连接器的选择
同轴线代表了最为有效的将信号从源头向终端传输的方式,具体体现为同轴电缆组件,源头与终端的距离就是电缆的长度,选择射频同轴连接器最为重要的因素是所选择的电缆,电缆注定了射频同轴连接器的规格和最低要求,如尺寸大小,性能要求。所选的连接器应该有不低于电缆的性能。射频同轴连接器在电性能上应像射频同轴电缆的延伸,或者说同轴连接器与同轴电缆连接时应尽量降低对被传输信号的影响, 故特征阻抗和电压驻波比是射频同轴连接器的重要指标,连接器的特征阻抗决定了与它连接的电缆的阻抗类型. 电压驻波比反映了连接器的匹配水平.电缆和射频同轴连接器两者同时决定传输系统的损耗和变异。
正如美军标MIL-C-17定义了主要的射频同轴电缆, 美军标M-C-39012囊括了很多常见的射频同轴连接器, 它包含它所覆盖的连接器的配合,外形尺寸,材料,电镀,性能,测试方法.射频同轴连接器的品种繁多, 选择适当的射频同轴连接器对确保整机和系统的可靠性是至关重要的, 选择射频同轴连接器时, 对于特定的需求,可能会有多种RF连接器可供选择,用户一般需考虑如下因素, 逐一淘汰,最后优选出所需的产品。 1、首先按使用要求选出特性阻抗、工作频率符合要求的射频同轴连接器. 频率范围决定应用的频率上限, 连接器可以被用于更低的频率范围, 但不推荐被用于过高的频率范围, 因为过高的频率范围会使连接器的传输性能下降, 甚至传输失效. 如BNC和TNC均可与小型电缆连接, 但TNC可用于11G的场合而BNC不能用于高于4G的环境 – 这是因连接方式不同 — 一个卡口连接和一个螺纹连接. 若应用要求最高的频率是2G, 这两个系列的连接器皆可用, 若传输信号有8G的组分, 则TNC是明显的选择. 这时可能有几个系列的产品可供选择. 再例如, 某整机工作频率为9GHz,传输特性阻抗为50Ω,则可选N、TNC、SMA、SSMA,如果频率超过12GHz,则只能选SMA、SSMA。 2、按传输功率大小、插入损耗、屏蔽要求选择适当的电缆,此时应考虑电缆成本,软电缆能满足要求最好不要用半刚或半柔性电缆。每一种RF连接器均有适配的电缆。 3、结合使用空间大小,插拔频繁程度及使用环境确定RF阴阳连接器的连接方式,即产品系列连接方式决定连接器配合的方法, 常见的连接方式有: 螺纹连接, 卡口连接, 摁扣连接, 快锁连接及盲插连接. 连接方式是连接器不同系列的主要区别. 如QMA是快锁连接而SMA是螺纹连接. 这两者的内部结构完全相同. 4、根据使用空间确定固定方式,(法兰、螺母、焊接)。 5、确定电缆端接方式,外径在5mm以下的软电缆最好采用压接方式,半刚性和半柔性电缆用焊接式,不推荐用压接式。 6、根据使用要求确定连接器外形尺寸和具体规格. 电缆的尺寸决定连接器类别, 如大型连接器,中型连接器,小型连接器, 超小型, 还是超微型.
2, 射频同轴连接器的使用
使用者必须熟悉所选定产品的性能,严格按额定条件使用,任何超负荷的使用都有可能导致射频同轴连接器失效。对于电缆连接器来说,应特别注意电缆的装接,应按供应商提供的组装说明进行装接,如果装接不当,即便电缆与连接器性能很好,组件性能也有可能很差。
射频同轴连接器市场状况:
全球射频同轴连接器10强厂商—2012年排名:
1, 罗森伯格
2,安费诺
3,泰科电子
4,浩讯
5,广赖
6,雷迪埃
7,IPEX
8,Telegartner
9, 富士康
10,莫氏.
射频同轴连接器设计:射频同轴连接器不仅要实现传输线间的机械连接,而且也要完成尽可能的将更多的高频电磁能量进行传输的任务.连接器设计中所用到的材料和机械尺寸对高频传输性能几乎都有一定的影响,尤其是内部尺寸.这些材料和尺寸建立(决定)传输线的特性阻抗.连接器的特性阻抗必须接近系统的特性阻抗,否则明显的阻抗不匹配会引起显著的信号反射问题,这就不能很好履行射频同轴连接器要尽可能多的传输高频电磁波能量的职能.同轴连接器虽然是同轴结构,但是连接器的本质特性(如连接界面的存在-介质的变化,内导体和介质固定的需要)注定连接器的导体的内外径和介质材料不可能一成不变.比如倒刺(barb)和滚花(knurl)的出现.为了减小信号反射,适当的补偿台阶或凹槽可能就非常必要.在这种不规则的结构里电磁波的传播是极为复杂的,但是为了减小信号的反射我们不得不掌握信号在这种复杂结构的传输特性.在这种情况下我们借用先进的分析工具不失为明智之举,故电磁波的有限元分析现在被普遍应用到高频信号传输里,如HFSS和CST软件.这种分析工具的很大优势是,我们在没有做出样品和测试样品之前就能根据我们的模型对产品的高频传输性能进行分析,修改,优化直到分析结构是满意的.然后才付诸于制样和测试.当然由于分析模型跟实际样品存在一定的差异,所以分析结果跟实际测试结果必然有一定差距.但是在实际仿真分析中,往往会将模型优化到一定的性能,这样一般有足够的空间来吸收生产,装配和测试的变异.电磁波的有限元分析结果跟实际测试结果存在一定差距的主要原因如下:
1,实际测试的界面与模型界面存在差异;
2,模型中电缆的性能是理想化的,但实际中电缆介质的介电常数和尺寸是存在变异的;
3,连接器的介质的介电常数不能被精准掌控;
4,测试时可能没有所需的校准件,往往通过转接头或gating的方式来测量数据;
5,为了降低分析的复杂性,往往省略细微结构,如小的空气间隙被介质取代,再比如倒刺与介质的过盈干涉部位;
6,装配时,无法避免零件被压变形以及变形致使零件的相对位置与模型不一致;
7,建模时往往会将零件的圆角改为倒角,甚至将该特征忽略;
8,连接器建模时用的是名义尺寸,但实际零件是有公差的;
9,仿真分析本身存在一定误差,无法保证100%精准;
10,连接器采用压接(crimping)的方式连接线缆时,电缆的变形很大,变异也很大,模型往往无法体现这种状况.如何选择射频同轴线缆/电缆(coaxial cable)为新的产品选择最佳的同轴线缆需要理解应用要求和应用环境,也要清楚可供选择的电缆范围.只有仔细平衡好性能和价格才能做出最佳的选择.那该如何全方位系统来选择射频同轴线缆呢?下面逐一介绍选择同轴电缆的方方面面.特性阻抗同轴线缆的特性阻抗决定于外导体内径与内导体外径的比值以及内外导体间的介质的介电常数.由于趋肤效应(请参见本文相关解释)电磁波是在导体的表面传输,故重要的直径是外导体的内径和内导体的外径.同轴线缆的阻抗需与系统的阻抗匹配.常见的同轴线缆的阻抗是50,75,95欧姆,其他从35到185欧姆的阻抗有时也能见到.50欧姆电缆用于微波和无线通讯.75欧姆线缆典型应用是有线电视和视频.95欧姆线缆常用于数据传输.为了达到最好的系统性能,所选的线缆阻抗必须与系统别的零部件阻抗匹配,在所有常见的同轴线缆中,75欧姆提供最小的衰减而35欧姆提供最大的功率传输能力.对于实际(非理想介质和导体)的同轴电缆,这些方面的差异并不大.线缆及相关零部件的特性阻抗的可选择性一般是我们选择系统的特性阻抗的决定性因素.信号反射:驻波比,回波损耗,反射因素及阻抗一致性.当RF能量进入同轴电缆组件(coaxial cable assembly)后出现3种现象:1,能量传输到电缆的另一端-这往往是希望的;2,能量在线缆的传输过程中出现衰减/损耗:部分被转化为热量而另外一部分被泄露到线缆外面;3,能量被反射到线缆组件输入端.能量被反射到输入端是由于电缆组件的阻抗在长度方向的变化,包括电缆与被连接的元器件之间的阻抗变化,连接器及连接器与线缆的连接界面是典型的反射源.线缆本身也会引起反射,它的反射来源之一是由于工艺造成的阻抗在线缆长度方向上的周期性变化,这种变化在某特定频率会叠加产生特性跳跃.低回波损耗往往是同轴元器件(如同轴线缆,同轴连接器及线缆组件)优越性能的特征.它表明线缆在长度方向的一致性保持的有多好,也显示同轴连接器是否被正确设计和(与线缆)连接以及不同尺寸的传输线在连接器内部的过渡被补偿的多好!它是频率的函数,一般是频率越高回波损耗越大.在很多应用中,低反射是系统的关键性能指标,在这种场合选择同轴线缆和同轴连接器时考虑这方面的因素就必不可少.此外为了满足性能要求,必须确保同轴连接器与同轴电缆被正确连接.对于电压驻波比有高要求的场合,采购完整的由专业厂家组装和测试的线缆组件不失为明智之举.需留意由于反射的缘故在特定频率实际的输入阻抗与线缆的特性阻抗会存在一定的差异.一定长度的电缆的电压驻波比反映了电缆的实际输入阻抗与它的平均特性阻抗的差异.在工作温度范围内,较长的电缆的阻抗一般变化不大–小于2%.为了匹配的目的,生产出特性阻抗不断变化的线缆是可能的.故同轴电缆可被用作匹配信号源和负载的宽带阻抗转换器.但这种电缆需根据应用要求特别设计定制.衰减衰减是信号沿着线缆传输的损失.射频信号通过线缆时,一部分转化为热一部分穿过屏蔽层被泄露离开线缆.因为衰减随着频率而增大而增加,故衰减一般被表征为在特定频率单位长度的分贝数.一般的应用是尽量减小信号在线缆传输过程中的损耗或控制在规定范围内.最小的损耗是0分贝的衰减或是输入输出的功率比是1:1.因为对于相同的结构来说线缆越大衰减越小故减小衰减意味着增大线缆的个头.衰减决定于铜损(导电性损耗)和介损(绝缘性损耗).大的电缆具有更好的导电能力,更小的铜损—更小的衰减,但介损与尺寸大小没有关系.介损与频率呈现线性关系而铜损与频率的平方根成正比—趋肤效应,故频率增大时介损比铜损明显—频率较高时介损是衰减的主要因素.温度升高时导体的导电率降低,介质的功率因子增大,故温度升高时电缆的衰减增大,电缆在不同温度的衰减情况需用温度系数来修正.为了选择出所需的电缆,先确定系统允许电缆在最高的使用频率时的衰减,在根据应用环境的温度状况修正允许的衰减量.
在频率响应上衰减的一致性
电缆的衰减可能不会跟频率一致的变化.随机和周期性的阻抗变化引起随机和周期性的衰减响应,以致可能出现窄频的衰减跳跃(在特定频率的极端叠加).若必要,线缆可被截成各种长度从而定义线缆在客户指定的频率范围内的衰减变异范围.
衰减的稳定性
随着时间的流逝和弯曲次数的增加,编织线缆的衰减会增大.随着时间而变化的原因是编织屏蔽层被腐蚀,护套塑化剂使介质被污染以及水分渗透护套.采用合适的技术用合适的材料对编织层进行封装能降低甚至避免这三方面因素的影响.衰减的退化在1GHz以上更明显.裸铜和镀锡铜的编织的衰减退化比镀银编织的衰减退化明显的多.在1GHz以下,镀锡编织的线缆比新的裸铜编织线缆高出15-20%的衰减,但比裸铜编织电缆稳定.发泡聚乙烯介质的编织电缆比相同线芯相同阻抗的实心聚乙烯编织线缆低15-40%的衰减.但有些发泡聚乙烯会吸潮引起衰减增大.含塑化剂的PVC护套一段时间后塑化剂会渗入到介质增大衰减,故在对衰减稳定性要求比较高的场合需用非污染性的PVC护套线缆.保证衰减稳定性的理想办法是使用密封的同轴线缆组件.在恶劣的环境下使用受保护的编织的同轴线缆是必要的.
平均功率
同轴线缆电损耗导致内导体,外导体及介质产生热量.线缆能承受的的功率大小跟线缆的散热能力有关.线缆能承受的功率大小的最终决定因素是线缆材料所允许的最大工作温度,尤其是介质-线缆的大部分热量来自于内导体.一般来说,某种线缆能承受的的功率大小跟它的衰减成正比,跟它的个头大小直接相关.别的相关因素是线缆(尤其是介质)热传导能力.电缆的功率能力需用环境温度,海拔及电压驻波比(具体应用所决定)3因素来修正.高的环境温度和海拔不利于热传导故降低线缆的功率能力.大的电压驻波比引起线缆局部热点(hot spots)从而降低功率大小.
最大工作电压
施加在电缆的连续电压和峰值电压需低于最大额定电压.电缆有两种独立的额定电压:电晕电压和绝缘耐压.电晕是电压产生电离的一种现象,它产生杂音,引起介质永久损坏,甚至最终击穿电缆.故电缆不能持续出现电晕现象,最大工作电压必须小于最小电晕电压.电晕电压的确定需要精密的仪器,该仪器能够探测到电压引起的电离杂音的产生.介质绝缘耐压或绝缘强度是衡量线缆被击穿时的电压大小.它的测试对设备的精密度要求就没有那么高—将一定电压施加到电缆持续一定时间,监控线缆的电流情况.随着线缆组件所在的海拔增大,同轴连接器与线缆连接界面处的空气压力减小会使线缆组件的绝缘强度降低.
屏蔽和串扰 同轴线缆屏蔽效果决定于它的外导体的结构,常见的结构如下:a,单编织,由镀银或镀锡或未镀圆铜线编织而成;b,双编织,由两层镀银或镀锡或未镀圆铜线编织组成,层间没有绝缘介质;c,三同轴,由两层镀银或镀锡或未镀圆铜线编织组成,层间有绝缘介质;d,带线编织,编织是带状铜线非圆铜线(90%覆盖率);e,螺旋铜绕带(100%覆盖率);f,实心套,由铜或铝管制成.在实际应用中决定实心管屏蔽电缆组件的屏蔽效果的最终因素是同轴连接器的屏蔽效果.两平行同轴电缆间的串扰决定于两线的串扰因素,串扰因素决定于相互间的距离,相对位置,两线所处的环境以及接地的做法.很多线缆为了加强屏蔽效果往往采用特殊的结构.
电容
电缆的电容跟介质和特性阻抗有关,电缆的阻抗越高单位长度的电容就越小,以致降低数据的传输能力.
传输速度
同轴电缆的传播速度主要决定于内外导体间的介质的介电常数.这个速度常表示为真空中光速的百分比.用于延时的同轴线缆可利用信号在大介电常数的介质传播速度慢的特点来实现最短的距离产生最大的时延要求.但也要考虑到传播速度慢比速度快的损耗更大的现象.
电长度的稳定性
有些应用(天线的馈电系统)对同轴电缆组件的电长度有一定的要求,故首先要控制好组件的物理长度.在实际应用中,电长度随着温度,弯曲,拉伸以及环境因素而变化是非常关键的.每种结构的同轴电缆随温度的变化率是不一样的,也就是说每种电缆的电长度的稳定性是不一样的.这应根据应用的要求做出合适的选择.
截止频率
同轴线缆的截止频率是指在同轴线缆内不同于横电磁波模式(TEM)的电磁波模式能够出现的频率.这种情况并不意味着横电磁波会大为衰减.截止频率是导体平均直径和线缆传播速度的函数.更高的传播模式只会在阻抗不连续处出现,在很多场合线缆工作于截止频率之上并不出现电压驻波比或插入损耗明显增大的情况.但是同轴线缆还是被推荐工作在截止频率以下.
同轴线缆的脉冲响应
进行同轴线缆的时域响应分析可能会遇到这些问题.—阻抗与反射.#选择适合系统要求的阻抗.#阻抗在线缆的长度方向变化;+/-5%的阻抗变化并不罕见;电缆阻抗能被控制在+/-2%范围;不推荐精度更高的公差.—上升沿时间和幅度.输出地上升沿时间是输入上升沿时间,脉冲宽度和线缆衰减的函数.线缆的温度升高会引起上升沿时间增大和脉冲幅度减小.—过冲(overshoot)和前冲/前置尖头信号(preshoot).在同轴线缆的测试可能会遇到过冲现象,这是因为线缆局部有限的反射所致.这种现象在实心介质线缆并不常见.—脉冲回波.当一个很窄的脉冲出现在同轴电缆时,上面提到的失真会出现.此外,当最初的脉冲过后可能会引起另外一个小脉冲出现,这个脉冲回波是线缆有限的周期性反射所致.一般来说这种回波水平可被忽略.
线缆的噪音(noise)
同轴线缆的现象之一是,抖动时产生响音和电子杂音.响音来自于线缆内部的机械运动.合适的设计能使这种机械动静及相关的摩擦力最小化.电子杂音则源自静电效应,在常见的RG线缆,测试到的电压降会高于0.5V.防止线缆介质与导体的相互运动或通过半导体材料层消除导体与介质间的静电能使杂音电压最小化.当然低噪音射频电缆结构也要考虑它自身的寿命和应用环境问题.
工作温度范围
柔性射频线缆的工作温度范围主要取决于介质和护套材料工作温度范围.只有镀银的导体适合工作于80°C以上.
柔软性
内导体是多股线外导体是编织层的射频同轴线缆主要应用于线缆需经常弯曲,抖动的场合.相对于实心内导体射频电缆多股线内导体的线缆呈现更高的衰减.一般来说,内导体股数越多的射频电缆柔韧性越好衰减越大.标准的编织层外导体结构的射频同轴线缆能够承受以20倍于线缆外径的为直径180度的弯曲角度的折弯1000次以上.柔性射频电缆一般被半径大于线缆外径10倍的盘子储存和运输.它们若被固定安装则推荐的最小弯曲半径是线缆外径的5倍.再小些的弯曲半径也能实现,一般来说,为了改善柔软性会对编织进行特别设计.铜管或铝管做屏蔽层的半刚射频同轴线缆一般不能承受以20倍于线缆外径的为直径大于180度的弯曲角度的折弯.半刚射频电缆一般被半径大于线缆外径20倍的盘子储存和运输.它们若被弯曲安装则推荐的最小弯曲半径是线缆外径的10倍.半刚线缆若被以5倍于线缆外径的直径所弯曲往往会显示机械和电气性能的退化.
环境抵御性
射频同轴线缆的环境抵御性主要体现在以下方面:
a,耐候性;b,耐潮湿性;c,耐盐水浸泡能力;d,耐腐蚀气体性;e,耐电池反应/腐蚀能力;f,防燃烧性;
机械强度
射频同轴电缆的断裂强度主要决定于外导体的强度.正常来说,如果电缆内导体断裂前有10%的延伸率,电缆至少能达到外导体70%的断裂强度.对于铜包刚或铜合金的内导体要小心,因为这种内导体断裂前的延伸率在1-10%范围内.小于26AWG线缆的内导体装配时就容易断裂.市面上也有抗拉强度不小于750Mpa延伸率10%的特殊线缆内导体.
线缆的认证
射频同轴电缆被用到各个领域,有的领域要求对线缆进行认证,如军标认证,LL认证,CSA认证,3C认证等.
射频同轴连接器经营策略
由于各种原因目前国内制造业一个显著的特征是,企业普遍不愿研发产品,抄袭几乎是不二选择.这样对产品设计的认识往往是知其然不知其所以然,可能出现如下几种结果,a,由于不懂产品的设计理论,不敢对原来的产品设计进行改进,优化,产品没有新意,附加值有限.甚至,应用环境改变时(若环境温度升高或室内改为室外)产品失效.b,即使完全照抄原来设计,由于不懂设计道理,掌握不了产品设计的奥秘和窍门,某些关键因素改变(如材料性能的改变-国内外材料性能不一样)而不懂得相应调整,修正导致仿制的产品跟原来产品差异较大,c,对产品设计无知无畏,大改设计的内在因素,如改用性能更差的廉价材料,改用廉价镀种或降低电镀厚度,结果产品性能大相径庭.
鉴于国内连接器产业状况,我们建议在掌握连接器的设计理论或得到连接器设计技术的支持的基础上开发高可靠性或高性能的连接器产品.