飞哥分享 汽车维修技术与知识
液力变矩器的结构
现代轿车一般使用四元件液力变矩器较多,如图1和图2所示,组件分别是与发动机直接连接的主动轮--泵轮,与自动变速器输入轴相连的从动轮--涡轮,介于泵轮和涡轮之间与自动变速器油泵泵轴相连的改变发动机输出转矩的导轮(导轮上有单向离合器),以及通过机械方式连接泵轮和涡轮的锁止离合器(TCC)。

▲ 图1 液力变矩器的组成

▲ 图2 自动变速器的液力变矩器
1-泵轮;2-导轮;3-液力变矩器锁止离合器;
4-扭转减振器(涡轮扭转减振器或双减振器系统);5-涡轮
将液力变矩器沿径向剖开,泵轮和涡轮是互不接触的,两者之间有一定的间隙(3~4mm)。液力变矩器的输出轴,即变速器的输入轴与涡轮通过花键连接,导轮与油泵泵轴是通过单向离合器内的花键来相连的,从而实现单向固定导轮,如图3所示。

▲ 图3 工作轮实物
2
锁止离合器的结构
锁止离合器位于液力变矩器涡轮的前端,其结构如图4所示。锁止离合器由锁止活塞、扭转减振器和涡轮传动板等零部件组成。锁止活塞和扭转减振器连接后可前后移动。扭转减振器和涡轮传动板通过减振弹簧连接,能衰减锁止离合器接合时的扭转振动。涡轮传动板用铆钉固定在涡轮前端,变矩器壳体内的前端面(或锁止活塞的前端面)粘有摩擦片。

▲ 图4 锁止离合器的结构
3
液力变矩器的作用
◆ 传递动力:在不同工况下将发动机动力以液压或机械的方式传递至变速器。
◆ 降速增扭:在涡轮轴转速较低时,可增加发动机的输出扭矩,降低变速器输出转速,使车辆易于起步。
◆ 缓冲振动:因为液力变矩器是靠液力来传递动力的,所以可减小发动机扭力振动和由车辆传动系统传至发动机的振动。
◆ 充当自动离合器:它可以在发动机运转且变速器挡位齿轮啮合的情况下,使车辆保持静止不动。
◆ 驱动变速器油泵:油泵产生的油压是自动变速器内部液压系统和换挡执行元件工作的动力源,油泵由液力变矩器驱动。
◆ 充当飞轮:液力变矩器可以增加发动机飞轮的转动惯量,起到与飞轮相同的作用,可以使发动机运转平稳。



▲ 图5 液力变矩器轴套外径磨损出沟槽

▲ 图6 液力变矩器油封密封唇口位置不同

▲ 图7 液力变矩器轴套内表面磨损
0
3
车辆不能行驶
车辆无任何挡位,若ATF油面正常,ATF油压也正常,则应检查液力变矩器中涡轮花键是否磨损或涡轮与涡轮轴是否断开,这种故障在三菱、现代、通用汽车上时有发生。针对这种情况进行自动变速器解体修理时,若发现油底壳里和自动变速器内部有大量金属屑粒,但在自动变速器中找不到磨损部件,则原因可能是液力变矩器内部有故障。
0
4
修复装车后车辆不能行驶
自动变速器修复装车后车辆不能行驶,也有的是在行驶时无任何挡位,经检查没有油压,这种情况往往是液力变矩器的油泵驱动凸耳损坏所致。
有些修理工在拆卸自动变速器时,把液力变矩器留在飞轮上,安装自动变速器时也是先把液力变矩器安装在飞轮上,然后安装自动变速器,当自动变速器与发动机还没有完全贴靠时,就用安装螺栓拧紧,这往往会造成液力变矩器的油泵驱动凸耳断裂或油泵损坏,使车辆不能行驶。
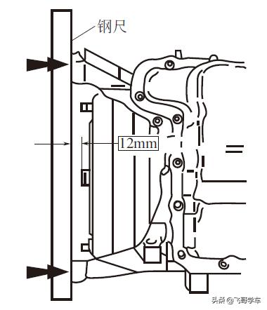
正确的方法是先将液力变矩器安装到自动变速器上,自动变速器修理手册一般会给出液力变矩器安装到位后液力变矩器外沿与液力变矩器壳体之间的正确距离。自动变速器型号不同,测量点和标准数据也不同。测量示意如图8所示。

▲ 图8 测量示意
0
5
低速时加速无力
液力变矩器内部导轮单向离合器在低速区域处于锁止状态,这是低速增扭的关键所在,如果单向离合器双向打滑,那么液力变矩器就成为液力耦合器,会出现低速时加速无力的故障。在确认发动机正常后,可通过加速试验和失速试验判断单向离合器是否打滑。

0
8
液力变矩器锁止离合器TCC接合时有冲击
液力变矩器锁止离合器TCC接合时有冲击、有异响或车辆发抖:本故障的原因是TCC接合不良。如果TCC接合速度过快或摩擦材料脱落,就会产生冲击甚至异响。如果在锁止过程中有不可控制的打滑情况,就会造成车辆抖动,这容易误判为发动机点火系统有故障。
TCC接合需要一定的条件,一般是要求油温、挡位及车速等符合要求。从早期生产的全液控自动变速器到现在生产的新款电控自动变速器,TCC工作控制经历了液压控制、开关式电磁阀控制及脉宽调制式电磁阀控制三个阶段,因此,修理时可考虑三个方面:第一个是控制系统硬件有故障,如TCC控制滑阀发卡和电磁阀有故障;第二个是控制软件有故障,可通过改进软件使TCC接合得更加平衡,减小冲击或异响;第三个是液力变矩器内部有故障。
0
9
液力变矩器有异响
液力变矩器的异响可分为两大类:一类是非金属噪声,由液流冲击产生,其特点是声音随着发动机转速或负荷而变化;另一类是金属声,是由于液力变矩器内部叶片碰撞变形、锁止不良等造成的。