拓品E70 VELVET解码器是一台最近上市的AKM AK4499EX DAC芯片的台式解码器产品,它由在2022年5月AKM发布的AK4191EQ+AK4499EX的组合构成,AK4191EQ是外置独立的Delta-Sigma调制器,AK4499EX还是定位于AKM的旗舰产品,拥有VELVET SOUND商标[不过这两年AKM似乎弱化了这方面品牌宣传?],并且随着这一新组合的发布,取代了前一代旗舰AK4499EQ。拓品E70 VELVET解码器的官方售价只要2999元,应该算得上第一波AKM主力合作产品?看看它的表现如何吧。

拓品 TOPPING E70 VELVET 外置解码器
外观与主要功能体验
外观:拓品E70 VELVET,名字取自AKM DAC上区分定位使用的VELVET SOUND,同时在此之前E70还有一款使用ES9028Pro的解码器。E系列在拓品定位中低于DX系列,虽然是台式机,虽然还是拓品家族式简洁的设计风格,但真正拿到产品会感觉到低价确实要付出一些代价。价值感的不足主要体现在机器外壳的铝材较薄,表面氧化工艺比较普通质感一般,20cmX13.8cmX4.4cm的三围尺寸下,机身重量包括天线时实测为691克,机器略显轻飘。重量偏轻导致的一个使用中的问题,就如同我们在使用一些USB声卡,后面的线材,只要有一根比较粗壮的线出现,就有可能把它压的翘起来或放不稳,比较尴尬。

拓品 TOPPING E70 VELVET 外置解码器
E70 VELVET前侧最左边有一个隐藏式的SELECT的触摸按键,用于待机时切换输入源。左中区域的小屏幕,在屏幕上方顶栏部分显示输入和输出的状态,以及左侧显示*放播**状态。即只有比较小的小字显示USB、COAX、BT,XLR、RCA,PCM DSD等。而巨大的区域被用来显示输出电平数字。屏幕无法显示PCM和DSD工作的采样率状态。这可能也说明了“E”系列的地位确实不高。

拓品 TOPPING E70 VELVET 外置解码器

拓品 TOPPING E70 VELVET 外置解码器
接口:E70 VELVET解码器背面的输入输出还是做工相当不错,且使用时的插拔手感和稳定性都很好。它提供了一组XLR的平衡输出和RCA的非平衡输出,XLR平衡输出提供了最大0dBFS下±2Vrms和±2.5Vrms两个档位,在系统设置中可以设置。而RCA的输出则提供2Vrms和2.5Vrms的输出,实测两种设置下大概比标称略高0.2-0.3Vrms左右。

拓品 TOPPING E70 VELVET 外置解码器

拓品 TOPPING E70 VELVET 外置解码器-输入区接口
数字输入部分,E70 VELVET解码器提供了光纤、同轴RCA和USB-B的输入,以及一个SMA的蓝牙天线接口。USB输入下,可支持到32bit/768kHz和DSD512 Native/DSD256以下 DoP的输入。诡异的是,它竟然不支持S/Pdif下输入的DSD DoP,仅可PCM信号输入。蓝牙输入部分,可以支持LDAC和高通AptX系列的音频解码。
另外,在解码器上有两个看似3.5mm的12V TRIGGER连接口,它用于和同样支持该规格的前后端设备配合使用,可用于相连机器的休眠与唤醒同步。这个技术部分品牌,当然可以搭配拓品自家的耳放,另外,我们看到RME的ADI 2 Pro系列解码也有这个12V TRIGGER的同步口。
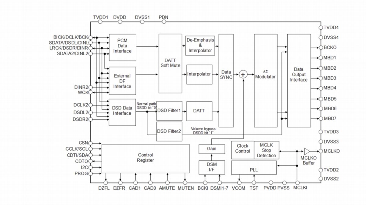
DAC与核心架构
下面我们来简单聊聊AKM的最新旗舰DAC芯片组合AK4191EQ和AK4499EX。这一个组合在2022年3月,就有消息传出,当时一些流传出来的PPT认为AKM会发布AK4191EQ+AK4498EX的组合,是AK4499EQ的一种变体,但数字看起来定位还是略查一点。到了5月AKM正式发布时,确定为我们现在看到的AK4499EX,而不知是否关于EX、EQ的各种讨论太过激烈,如今AKM官方网站的芯片PDF正式型号已经是“AK4499EXEQ”。我们没有看过这颗芯片真身上面的印字,也许人家本来就叫AK4499EXEQ。
AK4499EX DAC芯片:它延续AK4499EQ的电流型输出,除了将Delta-Sigma DAC芯片必不可少的升频、数字滤波器部分功能单独拿出去用外置芯片来完成之外。D/A输出单元部分,按照目前的说法,比AK4499EQ减少了一半单元?但恰巧我们找不到老的AK4499EQ的说明了。想去看看之前测评过双木三林M400[AK4499EQ]的资料,发现各家的AK4499EQ的产品如今也都同步升级到AK4499EX了。

AKM DAC芯片输出规格表-节选
AK4499EX官方支持两声道的差分输出,即仍然可以是两个声道的平衡输出。AK4499EX在作为两声道输出时官方动态范围135dB,并联为单声道模式时动态范围为138dB。
AK4191EQ Delta-Sigma调制器[Modulator]:外置Delta-Sigma调制器在其他行业信号D/A、A/D处理之中并不少见,而在HiFi应用中最火的时期当属上世纪90年代NPC公司的SM5842AP调制器+SM5864DA芯片[之后更新到SM5866]的组合,它是和飞利浦TDA1547同年代的顶级HiFi用芯片的代表,乃至延续到SACD机的开始。至今我们还可以淘到当年使用他们的高端型号[突然间想不起来代表作了,似乎有先锋的旗舰CD机、DAT?]。之后,我们看到的各种档次的DAC芯片均开始进入到了Delta-Sigma时代,而D/A单元和升频、数字滤波器单元都被整合到一个芯片之中。

AKM AK4191 delta-sigma 调制器芯片-官方流程图
此次AKM不知出于什么原因决定将这部分独立为AK4191EQ,让老烧友们应该会为这一情怀而触动一下。
抛开情怀,这颗AK4191EQ芯片的理论支持指标还是相当高。从官方给出的指标来看,AK4191EQ支持64bit 256x的升频和64bit 256x的数字滤波。最高支持PCM 1536采样频率。支持6组预设FIR滤波器,一组完全自定义FIR滤波器。DSD方面,可以支持最高DSD1024的输入,DSD的滤波器非常有意思,有两个设置一个fc=19kHz一个,fc=39kHz[这个fc频率的意思没有完全确定,但客观测试中我们看到一些不一样的结果]。
总体来看,AK4191EQ是一款性能相当不错的外置调制器,未来可期。
USB输入和数字输入:此次拓品E70 VELVET可能是由于产品本身定位原因,虽然我们看到USB输入方面已经开始使用了XMOS最新一代的3字头芯片XU316,但不知道这是不是3字头XMOS芯片的旗舰?目前它仅支持到DSD Native 512和32bit/768kHz的输入。
客观测试
下面我们来看看客观测试,由于E70 VELVET并没有提供耳机输出,所以测试仅对Lineout部分进行信号客观分析。测试时使用了0dBFS 4Vrms档位进行,即XLR最大输出电压为±2Vrms,我们使用2Vrms[±1Vrms]时进行测试。下图测试中将对比列出了FIR1和FIR5的两组RMAA数据。

拓品 TOPPING E70 VELVET 外置解码器-频响曲线44.1kHz@XLR

拓品 TOPPING E70 VELVET 外置解码器-频响曲线96kHz@XLR

拓品 TOPPING E70 VELVET 外置解码器-噪声分布44.1kHz@XLR

拓品 TOPPING E70 VELVET 外置解码器-噪声分布96kHz@XLR

拓品 TOPPING E70 VELVET 外置解码器-动态范围44.1kHz@XLR

拓品 TOPPING E70 VELVET 外置解码器-动态范围96kHz@XLR

拓品 TOPPING E70 VELVET 外置解码器-总谐波失真44.1kHz@XLR

拓品 TOPPING E70 VELVET 外置解码器-总谐波失真96kHz@XLR

拓品 TOPPING E70 VELVET 外置解码器-互调失真44.1kHz@XLR

拓品 TOPPING E70 VELVET 外置解码器-互调失真96kHz@XLR

拓品 TOPPING E70 VELVET 外置解码器-分离度曲线44.1kHz@XLR

拓品 TOPPING E70 VELVET 外置解码器-分离度曲线96kHz@XLR
| 测试项目 | XLR44 | XLR96 | XLR LDAC |
| 噪声水平, dB (A): | -94.9 | -118.0 | -104.9 |
| 动态范围, dB (A): | 94.9 | 117.7 | 105.3 |
| 总谐波失真, %: | 0.00057 | 0.00037 | 0.00092 |
| 互调失真, %: | 0.00510 | 0.00083 | 0.00152 |
| 立体声分离度, dB: | -93.8 | -115.2 | -100.1 |

拓品 TOPPING E70 VELVET 外置解码器-频率扫描44.1kHz@XLR

拓品 TOPPING E70 VELVET 外置解码器-分离度44.1kHz@XLR

拓品 TOPPING E70 VELVET 外置解码器-分离度频率分析44.1kHz@XLR

拓品 TOPPING E70 VELVET 外置解码器-频率扫描96kHz@XLR

拓品 TOPPING E70 VELVET 外置解码器-频率扫描LDAC96kHz@XLR
从客观测试成绩来看,E70 VELVET的客观指标表现优秀,没有什么太多需要说明的。但这里有一个从我们测试以来第一次看到的DSD频率扫描结果的频率光谱分析图。如图所示,我们测试的是一个20Hz-48kHz的正弦波频率扫描信号。在PCM信号测试中,FIR滤波器会将同样该范围[96kHz采样率时]的噪声滤除的一干二净,表现为背景颜色很黑。但在DSD测试中,以往的滤波器都会在50kHz、70kHz等位置设置截止频率,所以我们一般会看到大概35kHz以上,DSD的低通滤波是不去管它的,所以会看到很多彩色噪点,但由于已经属于很高的超声波频率范围,默认并无大碍。

拓品 TOPPING E70 VELVET 外置解码器-频率扫描DSD[20Hz-48kHz]@XLR

常见DSD扫频20Hz-48kHz测试光谱图
但我们看到E70 VELVET使用的AKM这套组合的DSD滤波器,把直接在大概36kHz左右的频率切断了更高频的所有信号,同时大概在30kHz左右开始衰减,背景噪声在整个信号范围内像PCM滤波一样干净。这是什么工作原理带来的效果,目前还不是很清楚。不过,E70 VELVET解码器没有像AK4191EQ那样提供两组DSD滤波器的切换功能,同时没有给出DAC芯片提供的+6dB的补偿功能,所以在DSD输出电压会少6dB,即是最大PCM 0dBFS电压的50%。
另外,蓝牙测试部分,E70 VELVET的LDAC表现良好,在连接默认状态下进入到LDAC的高品质模式,实测频扫和客观数据如图,实际工作表现正常。
USB模式下的支持:我们在Windows11和macOS13下进行了USB输入的支持测试,主要是测试一下DSD的兼容情况。在macOS下,目前所有设备都仅支持DoP,即最高DSD256的解码,表现良好。不过在Windows下,E70 VELVET的DSD Native兼容性目前看起来似乎一般,我们曾经调试出DSD512 DSD Native的工作模式,但有爆音,但随后怎么也无法进入到DSD Native模式了,不知何故。无论是HQPlayer还是Foobar2000的两种插件方式都不行。
主观听感
在主观听感中,我们使用Airpulse A100音箱和新德克A600功放+绅士宝D3004+威发ne180w-08书架箱为参考,考虑到解码器的定价和定位,使用A100音箱为主要参考。另外,在下面的测试中我们会使用外置数字输入源作为主要参考,我们采用了乐之邦的Monitor 02 US Mark2,虽然这款声卡已经没有任何购买指导价值,但下面我们会谈到原因。

拓品 TOPPING E70 VELVET 外置解码器
为什么要换其他数字卡输入?拓品E70 VELVET在USB模式下一开声,真是“吵!死!人!了!”,那种高频部分极致的密度和声嘶力竭的释放,感觉听什么音乐都要奔着重金属摇滚的高频风格去了,不用一分钟就完全受不了。我们正好最近测试都有替换外接数字输入的习惯,因为HOLO Audio的泉3测试教育了我们。果然,更换成乐之邦的02 US Mark2后,声音正常了,之前的问题全部解除。在我们一年前测试双木三林AK4499EQ M400解码器时的感觉似乎都重现眼前——AKM的AK4397时代的味道又回来了。
但是这里多说两句,大家可不要忘了,02 US Mark2是一款声音特别松软,高频也不那么偏重解析力,整体特别偏松的数字源,尤其是低频,02 US Mark2现在听起来还是太松有些发糊了,但搭配E70 VELVET却一点都没有这种趋势。可见E70 VELVET的声音风格在如此搭配下才能让人忍受,这个USB输入的和数字信号的调音,真是离了大谱。如果你没有打算配一块外接更好的数字声卡,那就千万别买这款解码器。
下面的声音描述,全部基于外接02 US Mark2声卡数字输入下得到。
高音表现:E70 VELVET和我们之前测试双木三林M400解码器时候的印象和感觉高度一致,高频部分和电压型输出的AK449x有了明显不同,回到了上一代AKM DAC AK439x时的感觉。声音的密度与解析力并存,尤其在密度和动态方面都比较突出,密度上有AKM特有的味道,比较重口味,尤其在偏高高频部分,这也导致高音特别有韧劲,特别有力。而且解析力也很不错。
和ESS的顶级PRO DAC相比,极高频的背景E70 VELVET还是不够黑,但动态和密度应该不差。不能完全确定和M400时的声音表现细节上差异,但大体风格极为相似。这样的高频不知道能否还在今天还能受到多大欢迎,毕竟这种偏向密度的声音的边沿很容易显得有些张牙舞爪,甚至毛刺,就如同USB输入下的E70 VELVET实在是不能忍。当然,在AK4499EQ、AK4499EX的多代产品积累下,有理由期待未来会有越来越好的成品声音出现,也可以找到比我们目前使用更好的组合。毕竟E70 VELVET作为2999元产品,可能确实在调校上没有下太大工夫。
中音表现:E70 VELVET的中频动态非常好,动态凌厉恐怕说的就是这种味道和这种气势,这样的描述我们在M400测评中也同样提到过,感觉两者的感觉应该相似度也非常高。这种动态的迅猛无论搭配我们使用的哪个音响平台都有很好表现。相比来说,它更适合表现大动态交响乐,器乐,电影音乐等,属于古典大动态发烧友绝对的最爱的类型。当然,这已经是我们在优化组合过之后的声音,USB下还是太吵,同时我们相信应该可以找到一个声音更细腻一些的数字源,最终表现会在大动态下显得更为稳重,干净。
相对大动态来说,中频的人声表现则显得结像有些刻意的立体,口型也有略显夸张的趋势,听起来更像是所有音乐的“口水”味都加强了那么一点。当然,我们此时可以进一步调整FIR滤波器到比较松软的档位,让人声更软一些,但这个幅度比较有限。所以,总体来说,这个中频还是大动态更过瘾,人声表现素质不错,厚度好,动态好,美感一般。
低音表现:E70 VELVET的低频动态同样迅猛,速度快而控制力好,这个在搭配典型的肉呼呼02 US Mark2时还能如此,也不知道是不是好事?E70 VELVET的中低频衔接特别流畅,声音富有磁性,线条颇有力度干,当然相对柔美感就缺少。大动态低频表现非常*力暴**,声音快速,瞬态控制很好,精致度以高端解码器来要求,还是不够干净,略显大动态下的粗糙。但对于一款3000-6000元档次的解码器来说,这个低频的动态表现要打高分。低频的下潜和深度部分的细节表现也不错,不是浓郁风格,但量感足够,力度很好,没有刻意修饰感,追求线条的明快和瞬态控制力。瞬态部分的后延似乎总有一点点吵吵的毛刺感,但对于它的定位来说,这种整体声音的形态、动态、控制力都令人满意。
总结
拓品E70 VELVET是第一批AKM AK4191EQ+AK4499EX DAC组合的代表解码器之一,2999元的售价算得上最亲民价格了,因为这样的价格它在使用体验方面可能有一些小的问题[比如线材能敲起机身,以及没有DoP的S/Pdif数字输入]。最为遗憾的是USB输入方面[USB数字输入整体调音],声音风格搭配调校不是失败而是恐怖,如果单以USB输入为参考,我们恐怕无法完成今天这篇测评文章。好在几个月前的一些测试再次教育了我们,让我们成长、进步。重新拿起来外接数字输入来评判解码器表现的方法,这样才有了上一段描述。
总体来说,E70 VELVET在优化过合适的数字输入情况下声音表现和我们印象中的AK4499EQ解码器风格基本一致,特点更是高度一致,它就像重回上一代旗舰AK4397特点的声音。高音既有好的细节又有很好的声音密度,拥有AKM独有的特色声音风格。整个声音的动态表现非常出色,爆发力好,气势十足,更加适合喜欢用来测试大动态音乐的古典发烧友们。在人声的表现上可能最弱一些。在一些小品、器乐表现上,它独有的声音密度,尤其是中高频以上部分声音密度都有鲜明的AKM特色,虽然可能会略吵,但也很值得一听。也相信大家应该可以找到比02US Mark2更为适合E70 VELVET的数字源。