- 热门器材资讯传闻速报 -
外媒预测2022年各家新相机

索尼α5: 索尼需要一款能够与尼康Z5抗衡的低端全画幅机。
- 全画幅2400万像素
- 连拍 5张/秒
- 可变角度显示屏
- 视频 裁剪4K 30P
- 单SD插槽
- 价格1200美元
索尼α9 III: 2400万像素和30张/秒的连拍让它成为EOS R3的竞争对手,但它可能会在一些规格上超越EOS R3(例如每秒33张连拍)。价格也比EOS R3便宜。
- 全画幅2400万像素
- 30张/秒或更快 ?
- 新菜单系统
- 翻转显示屏
- 视频4K 60P
- 价格4999美元
索尼 α7R V: 像素数与α7RIV相同,但进行了改进、新算法等,并采用新菜单。支持8K 30P和4K 120P,可变角度显示屏,成为EOS R5的竞争对手。
- 全画幅6000万像素
- 10张/秒、20张/秒
- 可变角度监视器
- -8K 30p + 4K 120p
- 价格3999美元
索尼新镜头: FE85mm F1.2 GM
适用于Vlog的尼康相机: 需要一款带有可变角度显示屏的全画幅无反相机,可用于 Vlog 应用程序。它可以是Z6 搭载可变角度显示屏的相机。
尼康镜头: 85mm f/1.2、200-600mm f/8、400mm f/2.8、800mm f/6.3
富士胶片: 有传言X-H2会有两种型号,分高像素版和低像素版,但Tony认为这个传言没有意义。Tony想只有高像素的X-H2才会出现。
松下GH6: 松下的AF在GH5II上有很大的进步,拍电影效果很好,所以Tony觉得GH6没有焦平面相位检测AF,仍是对比AF。
- 4K 120P 4:2:2 10bit
- 5.7K 60P
- 20张/秒
- DFD
- 价格2000美元
松下 S1II 和 S1RII: 松下S1 和 S1R已经老了,需要更新。
松下S6: 预计松下将针对低端市场发布低价低像素机型。
- 价格1500美元
- 1200万像素(或2000万像素)全画幅
- 4K 60P
- 可变角度显示屏
- Vlog
佳能 EOS R5C: EOS R5 Cinema版。
- 4500万像素
- 20 张/秒
- 8K 30P RAW
- 配件热靴
- 全尺寸 HDMI接口
- 4K 60P
- 没有30 分钟的录制限制
- 没有过热
- 价格是 6000 美元 ?(Chelsea预测),9000美元 ?(Tony预测)
佳能EOS R1: 一款堪比Z9的相机,配备8K 60p。
- 连拍30张/秒
- 超过5000万像素
- 低分辨率模式
- 可变角度显示屏
- 视频 8K 60P
- 售价8000美元
- 2022年第四季度出现
佳能 EOS R8: 小巧且廉价的入门级相机。由于半导体短缺,它可能会被推迟到2023年。
- 800美元
- 2000万像素
- 机身紧凑小巧
- 可变角度显示屏
- 没有内置EVF
佳能EOS R5S: 与EOS R5同款机身的高像素版,类似于EOS 5Ds。视频功能有限。
- 4900美元(2022 年第一季度)
- 1亿像素
- 像素移位获得4亿像素
- 可变显示屏
- 有限的视频功能
就产品周期而言,今年索尼α9 III和α7R V会面世也不足为奇。α7R V 似乎是个小改款,像素数不变,各部分都有改进。低价机型 α5 最近完全没有传闻,但由于便宜的 α7II 已经停产,索尼可能想要推出一台与 Z5 相同级别的相机。
可以肯定地说,尼康面向 VLog 的相机将会推出。此外,虽然这里没有提到,但希望 Z8 (?)、Z9 无竖拍手柄版本以及 Z fc 的全画幅版会出现。
对于松下GH6要搭载焦平面相位检测AF的需求比较多,也有传言说会搭载,但是这里期待它将继续采用对比检测AF。
至于佳能,EOS R5C几乎是最终版,很快就会发布,但传闻价格意外的便宜,所以视频博主认为9000美元不是常态。另外,虽然不是预期,但想知道传闻中的APS-C RF卡口机是否会出现。
BCN+R 公布 2021年销售前十单反相机
日本《BCN排行榜》根据2021年1月1日至2021年12月12日每日汇总数据,给出单反相机实际销量排名如下:

- 1位 佳能EOS Kiss X10 双变焦套机 黑色
- 2位 尼康D5600 双变焦套机
- 3位 佳能EOS Kiss X10i 双变焦套机
- 4位 尼康D3500 双变焦套机
- 5位 佳能EOS Kiss X10 EF-S18-55 IS STM 镜头套机 黑色
- 6位 尼康D7500 18-140 VR 镜头套机
- 7位 佳能EOS 90D 单机身
- 8位 佳能EOS 90D EF-S18-135 IS USM 镜头套机
- 9位 佳能EOS Kiss X9i 双变焦套机
- 10位 佳能EOS Kiss X10 机身 黑色

尼康Z 400mm f/2.8 TC VR S即将发布
据传尼康Z 400mm f / 2.8 TC VR S无反镜头将在1月底发布,预计在二月下旬/三月初发售。这些时间可能会进一步推迟或更改。

Z 卡口尼克尔 Z 400mm f/2.8 TC VR S 无反镜头的一些细节:
- 新的 400mm Z 镜头采用了新的涂层和自动对焦马达技术,远远领先于竞争对手(据消息源透露)。
- 该镜头有一个内置 1.4 倍增距镜——这将使焦距范围扩展到 560mm。
在尼克尔 Z 400mm f/2.8 TC VR S 发布之前,FTZ II是用户转接超远摄镜头的解决方案。
索尼宣布暂停α6600和α7C订单
索尼宣布将暂时停止接受α6600和α7C的订单,并停产α7 II和α6100。


除了此前α6400和ZV-E10暂停订单,索尼还宣布暂时停止α6600和α7C的订单。另外,由于α7 II和α6100已经停止生产,索尼APS-C画幅所有主要机器都将从商店中消失。
此外,由于α7C是最受欢迎的全幅无反机型之一,因此暂停订单影响会很大。索尼可能停止接受这些机型的订单并专注于生产新的α7 IV。
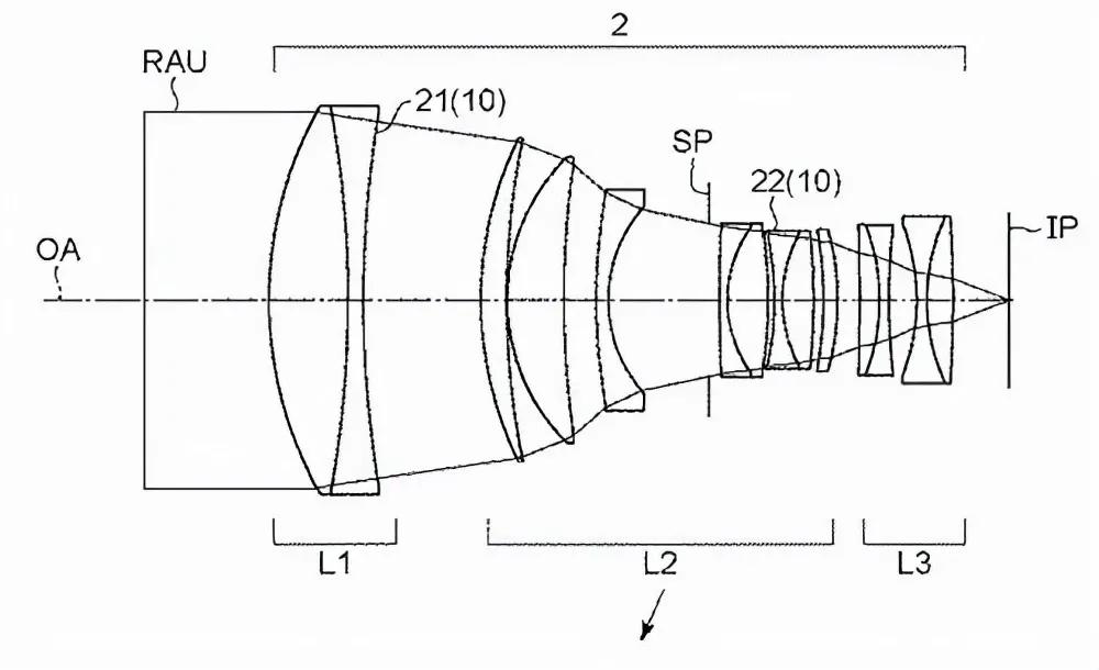
佳能RF130mm F1.4 DS镜头专利曝光
近日佳能申请了多款 DS 镜头专利。
为了获得变迹效果,使用对每个区域具有不同透射率的渐变型ND滤光镜(变迹滤光镜)。在专利文献1中,没有考虑将滤光镜应用于光学系统时瞳面上的透射率分布相对于波长的均匀性。本发明的目的在于提供一种光瞳面的波长均匀性高的光学系统。
示例 (50mm F1.4)
- 焦距:52.13
- F值:1.45
- 视角 [度] :22.54
- 像高:21.64
- 镜头总长:85.51
- BF :37.71

示例 (24mm F1.4)
- 焦距 :24.55
- F值:1.45
- 视角 [度] :41.39
- 像高:21.64
- 镜头总长:119.13
- BF :38.01

示例 (130mm F1.4)
- 焦距 :131.00
- F值:1.41
- 视角 [度]:9.38
- 像高:21.64
- 镜头总长:182.28
- BF :13.87

关于佳能DS镜头,RF 85mm F1.2 L USM DS目前在售,但未来可能会发布专利中的其他焦距DS镜头。
50mm F1.4和老式单反镜头一样是双高斯型长后焦光学系统,可能更适合EF卡口。130mm F1.4 DS一旦商业化很可能会成为一个相当大的镜头,不过超大光圈+DS能拍出什么样的虚化效果还是很有意思的。
永诺将发布20mm/1.8镜头
据悉,国产镜头品牌永诺将会发布新款20mm F1.8定焦镜头。首先上市的是索尼E口版本,其它卡口将在随后陆续发布。

编辑 | 无忌君