「行业标准」住宅室内防水工程技术规范丨JGJ 298-2013
(本文来源于网络,供于学习和交流,向原作者致谢,若有涉及到版权及内容问题请联系我将在第一时间处理! 每天进步一点,就会离目标更近一步! )
- 发布部门:中华人民共和国住房和城乡建设部
- 发布日期:2013年05月13日
- 实施日期:2013年12月01日
- 其中,第 4.1.2、5.2.1、5.2.4、7.3.6 条为 强制性 条文 ,必须严格执行。
1 总 则
1.0.1 为提高住宅室内防水工程的技术水平,确保住宅室内防水的功能与质量,制定本规范。
1.0.2 本规范适用于新建住宅的卫生间、厨房、浴室、设有配水点的封闭阳台、独立水容器等室内防水工程的设计、施工和质量验收。
2 术 语
2.0.1 独立水容器现场浇筑或工厂预制成型的、不以住宅主体结构或填充体作为部分或全部壁体的水容器。
2.0.2 功能房间 有防水、防潮功能要求的房间。
2.0.3 配水点给水系统中的用水点。
2.0.4 溶剂型防水涂料以有机溶剂为分散介质,靠溶剂挥发成膜的防水涂料。
3 基本规定
3.0.1 住宅室内防水工程应遵循防排结合、刚柔相济、因地制宜、经济合理、安全环保、综合治理的原则。
3.0.2 住宅室内防水工程宜根据不同的设防部位,按柔性防水涂料、防水卷材、刚性防水材料的顺序,选用适宜的防水材料,且相邻材料之间应具有相容性。
3.0.3 密封材料宜采用与主体防水层相匹配的材料。
3.0.4 住宅室内防水工程完成后,楼、地面和独立水容器的防水性能应通过蓄水试验进行检验。
3.0.5 住宅室内外排水系统应保持畅通。
3.0.6 住宅室内防水工程应积极采用通过技术评估或鉴定,并经工程实践证明质量可靠的新材料、新技术、新工艺。
4 防水材料
4.1 防水涂料
4.1.1 住宅室内防水工程宜使用 聚氨酯防水涂料、聚合物乳液防水涂料、聚合物水泥防水涂料和水乳型沥青防水涂料等水性或反应型防水涂料 。
4.1.2 住宅室内防水工程不得使用溶剂型防水涂料。
4.1.3 对于住宅室内长期浸水的部位,不宜使用遇水产生溶胀的防水涂料。
4.1.4 聚氨酯防水涂料的性能指标应符合表4.1.4的规定。

4.1.5 聚合物乳液防水涂料的性能指标应符合表4.1.5的规定。

4.1.6 聚合物水泥防水涂料的性能指标应符合表4.1.6的规定。
- Ⅰ型产品不宜用于长期浸水环境的防水工程;
- Ⅱ型产品可用于长期浸水环境和干湿交替环境的防水工程;
- Ⅲ型产品宜用于住宅室内墙面或顶棚的防潮

4.1.7 水乳型沥青防水涂料的性能指标应符合表4.1.7的规定。

4.1.8 防水涂料的有害物质限量应分别符合表4.1.8-1和表4.1.8-2的规定。

4.1.9 用于附加层的胎体材料宜选用(30~50)g/m2的聚酯纤维无纺布、聚丙烯纤维无纺布或耐碱玻璃纤维网格布 。
4.1.10 住宅室内防水工程采用防水涂料时,涂膜防水层厚度应符合表4.1.10的规定。

4.2 防水卷材
4.2.1 住宅室内防水工程可选用自粘聚合物改性沥青防水卷材和聚乙烯丙纶复合防水卷材。
4.2.2 自粘聚合物改性沥青防水卷材的性能指标应符合表4.2.2-1和表4.2.2-2的规定。


4.2.3 聚乙烯丙纶复合防水卷材应采用与之相配套的聚合物水泥防水粘结料,共同组成复合防水层,且聚乙烯丙纶复合防水卷材和聚合物水泥防水粘结料的性能指标应分别符合表4.2.3-1和表4.2.3-2的规定。

4.2.4 防水卷材宜采用冷粘法施工,胶粘剂应与卷材相容,并应与基层粘结可靠。
4.2.5 防水卷材胶粘剂应具有良好的耐水性、耐腐蚀性和耐霉变性,且有害物质限量值应符合表4.2.5的规定。

4.2.6 卷材防水层厚度应符合表4.2.6的规定。

4.3 防水砂浆
4.3.1 防水砂浆应使用由专业生产厂家生产的商品砂浆,并应符合现行行业标准《商品砂浆》JG/T 230的规定。
4.3.2 掺防水剂的防水砂浆的性能指标应符合表4.3.2的规定。

4.3.3 聚合物水泥防水砂浆的性能指标应符合表4.3.3的规定。

4.3.4 防水砂浆的厚度应符合表4.3.4的规定。

4.4 防水混凝土
4.4.1 用于配制防水混凝土的水泥应符合下列规定:
- 1 水泥宜采用硅酸盐水泥、普通硅酸盐水泥,并应符合现行国家标准《通用硅酸盐水泥》GB 175的规定;
- 2 不得使用过期或受潮结块的水泥,不得将不同品种或强度等级的水泥混合使用。
4.4.2 用于配制防水混凝土的化学外加剂、矿物掺合料、砂、石及拌合用水等应符合国家现行有关标准的规定。
4.5 密封材料
4.5.1 住宅室内防水工程的密封材料宜采用丙烯酸建筑密封胶、聚氨酯建筑密封胶或硅酮建筑密封胶。
4.5.2 对于地漏、大便器、排水立管等穿越楼板的管道根部,宜使用丙烯酸酯建筑密封胶或聚氨酯建筑密封胶嵌填,且性能指标应分别符合表4.5.2-1和表4.5.2-2的规定。

4.5.3 对于热水管管根部、套管与穿墙管间隙及长期浸水的部位,宜使用硅酮建筑密封胶(F类)嵌填,其性能指标应符合表4.5.3的规定。

4.6 防潮材料
4.6.1 墙面、顶棚宜采用防水砂浆、聚合物水泥防水涂料做防潮层;无地下室的地面可采用聚氨酯防水涂料、聚合物乳液防水涂料、水乳型沥青防水涂料和防水卷材做防潮层。
4.6.2 采用不同材料做防潮层时,防潮层厚度可按表4.6.2确定。

5 防水设计
5.1 一般规定
5.1.1 住宅卫生间、厨房、浴室、设有配水点的封闭阳台、独立水容器等均应进行防水设计。
5.1.2 住宅室内防水设计应包括下列内容:
- 1 防水构造设计;
- 2 防水、密封材料的名称、规格型号、主要性能指标;
- 3 排水系统设计;
- 4 细部构造防水、密封措施。
5.2 功能房间防水设计
5.2.1 卫生间、浴室的楼、地面应设置防水层,墙面、顶棚应设置防潮层,门口应有阻止积水外溢的措施。
5.2.2 厨房的楼、地面应设置防水层,墙面宜设置防潮层;厨房布置在无用水点房间的下层时,顶棚应设置防潮层。
5.2.3 当厨房设有采暖系统的分集水器、生活热水控制总阀门时,楼、地面宜就近设置地漏。
5.2.4 排水立管不应穿越下层住户的居室;当厨房设有地漏时,地漏的排水支管不应穿过楼板进入下层住户的居室。
5.2.5 厨房的排水立管支架和洗涤池不应直接安装在与卧室相邻的墙体上。
5.2.6 设有配水点的封闭阳台,墙面应设防水层,顶棚宜防潮,楼、地面应有排水措施,并应设置防水层。
5.2.7 独立水容器应有整体的防水构造。现场浇筑的独立水容器应采用刚柔结合的防水设计。
5.2.8 采用地面辐射采暖的无地下室住宅,底层无配水点的房间地面应在绝热层下部设置防潮层。
5.3 技术措施
5.3.1 住宅室内防水应包括楼、地面防水、排水,室内墙体防水和独立水容器防水、防渗。
5.3.2 楼、地面防水设计应符合下列规定:
1 对于有排水要求的房间,应绘制放大布置平面图,并应以门口及沿墙周边为标志标高,标注主要排水坡度和地漏表面标高。
2 对于无地下室的住宅,地面宜采用强度等级为C15的混凝土作为刚性垫层,且厚度不宜小于60mm。 楼面基层宜为现浇钢筋混凝土楼板, 当为预制钢筋混凝土条板时,板缝间应采用防水砂浆堵严抹平,并应沿通缝涂刷宽度不小于300mm的防水涂料形成防水涂膜带。
3 混凝土找坡层最薄处的厚度不应小于30mm;砂浆找坡层最薄处的厚度不应小于20mm。找平层兼找坡层时,应采用强度等级为C20的细石混凝土 ;需设填充层铺设管道时,宜与找坡层合并,填充材料宜选用轻骨料混凝土。
4 装饰层宜采用不透水材料和构造, 主要排水坡度应为0.5~1.0 % , 粗糙面层排水坡度不应小于1.0%。
5 防水层应符合下列规定:
- 1)对于有排水的楼、地面, 应低于相邻房间楼、地面20mm或做挡水门槛 ;当需进行 无障碍设计时,应低于相邻房间面层15mm,并应以斜坡过渡。
- 2) 当防水层需要采取保护措施时,可采用20mm厚1:3水泥砂浆做保护层。
5.3.3 墙面防水设计应符合下列规定:
- 1 卫生间、浴室和设有配水点的封闭阳台等墙面应设置防水层; 防水层高度宜距楼、地面面层1.2m。
- 2 当卫生间有非封闭式洗浴设施时, 花洒所在及其邻近墙面防水层高度不应小于1.8m 。
5.3.4 有防水设防的功能房间,除应设置防水层的墙面外,其余部分墙面和顶棚均应设置防潮层。
5.3.5 钢筋混凝土结构独立水容器的防水、防渗应符合下列规定:
- 1 应采用强度等级为C30、抗渗等级为P6的防水钢筋混凝土结构,且受力壁体厚度不宜小于200mm;
- 2 水容器内侧应设置柔性防水层;
- 3 设备与水容器壁体连接处应做防水密封处理。
5.4 细部构造
5.4.1 楼、地面的防水层在门口处应水平延展,且向外延展的长度不应小于500mm,向两侧延展的宽度不应小于200mm(图5.4.1)。



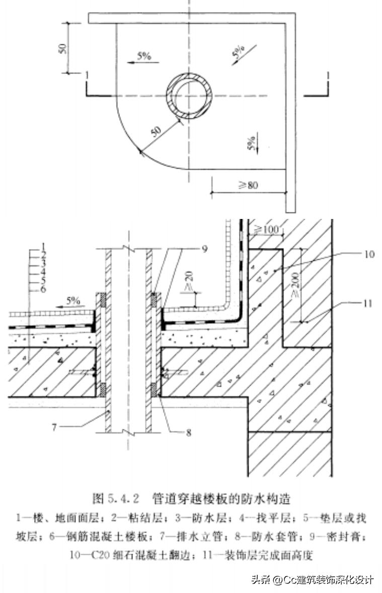
5.4.2 穿越楼板的管道应设置防水套管,高度应高出装饰层完成面20mm以上 ;套管与管道间应采用防水密封材料嵌填压实(图5.4.2)。

5.4.3 地漏、大便器、排水立管等穿越楼板的管道根部应用密封材料嵌填压实(图5.4.3)。

5.4.4 水平管道在下降楼板上 采用同层排水措施时,楼板、楼面应做双层防水设防 。对降板后可能出现的管道渗水,应有密闭措施(图5.4.4),且宜在贴临下降楼板上表面处设泄水管,并 宜采取增设独立的泄水立管 的措施。

5.4.5 对于 同层排水的地漏,其旁通水平支管宜与下降楼板上表面处的泄水管联通,并接至增设的独立泄水立管上 (图5.4.5)。

5.4.6 当墙面设置防潮层时,楼、地面防水层应沿墙面上翻,且至少应高出饰面层200mm 。 当卫生间、厨房采用轻质隔墙时,应做全防水墙面,其四周根部除门洞外,应做C20细石混凝土坎台,并应至少高出相连房间的楼、地面饰面层200mm (图5.4.6)。

6 防水施工
6.1 一般规定
6.1.1 住宅室内防水工程施工单位应有专业施工资质,作业人员应持证上岗 。
6.1.2 住宅室内防水工程应按设计施工。
6.1.3 施工前,应通过图纸会审和现场勘查,明确细部构造和技术要求,并应 编制施工方案 。
6.1.4 进场的防水材料,应抽样复验,并应 提供检验报告 。严禁使用不合格的材料。
6.1.5 防水材料及防水施工过程不得对环境造成污染。
6.1.6 穿越楼板、防水墙面的管道和预埋件等,应在防水施工前完成安装。
6.1.7 住宅室内防水工程的施工环境温度宜为5℃~35℃。
6.1.8 住宅室内防水工程施工,应遵守过程控制和质量检验程序,并应有完整检查记录。
6.1.9 防水层完成后,应在进行下一道工序前采取保护措施。
6.2 基层处理
6.2.1 基层应符合设计的要求,并应通过验收。基层表面应坚实平整,无浮浆,无起砂、裂缝现象。
6.2.2 与基层相连接的各类管道、地漏、预埋件、设备支座等应安装牢固。
6.2.3 管根、地漏与基层的交接部位,应预留宽10mm,深10mm的环形凹槽,槽内应嵌填密封材料。
6.2.4 基层的阴、阳角部位宜做成圆弧形。
6.2.5 基层表面不得有积水,基层的含水率应满足施工要求。
6.3 防水涂料施工
6.3.1 防水涂料施工时,应采用与涂料配套的基层处理剂。基层处理剂涂刷应均匀、不流淌、不堆积。
6.3.2 防水涂料在大面积施工前,应先 在阴阳角、管根、地漏、排水口、设备基础根等部位施做附加层 ,并应加铺胎体增强材料,附加层的宽度和厚度应符合设计要求。
6.3.3 防水涂料施工操作应符合下列规定:
- 1 双组分涂料应按配比要求在现场配制,并应使用机械搅拌均匀,不得有颗粒悬浮物;
- 2 防水涂料应薄涂、 多遍施工,前后两遍的涂刷方向应相互垂直 ,涂层厚度应均匀,不得有漏刷或堆积现象;
- 3 应在前一遍涂层实干后,再涂刷下一遍涂料 ;
- 4 施工时宜先涂刷立面,后涂刷平面 ;
- 5 夹铺胎体增强材料时,应使防水涂料充分浸透胎体层,不得有折皱、翘边现象。
6.3.4 防水涂膜最后一遍施工时,可在涂层表面撒砂。
6.4 防水卷材施工
6.4.1 防水卷材与基层应满粘施工,防水卷材搭接缝应采用与基材相容的密封材料封严。
6.4.2 涂刷基层处理剂应符合下列规定:
- 1 基层潮湿时,应涂刷湿固化胶粘剂或潮湿界面隔离剂 ;
- 2 基层处理剂不得在施工现场配制或添加溶剂稀释;
- 3 基层处理剂应涂刷均匀,无露底、堆积;
- 4 基层处理剂干燥后应立即进行下道工序的施工。
6.4.3 防水卷材的施工应符合下列规定:
- 1 防水卷材应在阴阳角、管根、地漏等部位先铺设附加层 ,附加层材料可采用与防水层同品种的卷材或与卷材相容的涂料;
- 2 卷材与基层应满粘施工,表面应平整、顺直,不得有空鼓、起泡、皱折;
- 3 防水卷材应与基层粘结牢固,搭接缝处应粘结牢固。
6.4.4 聚乙烯丙纶复合防水卷材施工时,基层应湿润,但不得有明水。
6.4.5 自粘聚合物改性沥青防水卷材在低温施工时,搭接部位宜采用热风加热。
6.5 防水砂浆施工
6.5.1 施工前应洒水润湿基层,但不得有明水,并宜做界面处理。
6.5.2 防水砂浆应用机械搅拌均匀,并应随拌随用。
6.5.3 防水砂浆宜连续施工。当需留施工缝时,应采用坡形接槎,相邻两层接槎应错开100mm以上,距转角不得小于200mm。
6.5.4 水泥砂浆防水层终凝后,应及时进行保湿养护,养护温度不宜低于5℃。
6.5.5 聚合物防水砂浆,应按产品的使用要求进行养护。
6.6 密封施工
6.6.1 基层应干净、干燥,可根据需要涂刷基层处理剂。
6.6.2 密封施工宜在卷材、涂料防水层施工之前、刚性防水层施工之后完成。
6.6.3 双组分密封材料应配比准确,混合均匀。
6.6.4 密封材料施工宜采用胶枪挤注施工,也可用腻子刀等嵌填压实。
6.6.5 密封材料应根据预留凹槽的尺寸、形状和材料的性能采用一次或多次嵌填。
6.6.6 密封材料嵌填完成后,在硬化前应避免灰尘、破损及污染等。
7 质量验收
7.1 一般规定
7.1.1 室内防水工程质量验收的程序和组织,应符合现行国家标准《建筑工程施工质量验收统一标准》GB 50300的规定。
7.1.2 住宅室内防水施工的各种材料应有产品合格证书和性能检测报告。材料的品种、规格、性能等应符合国家现行有关标准和防水设计的要求。
7.1.3 防水涂料、防水卷材、防水砂浆和密封胶等防水、密封材料应进行见证取样复验,复验项目及现场抽样要求应按本规范附录A执行。
7.1.4 住宅室内防水工程分项工程的划分应符合表7.1.4的规定。

7.1.5 住宅室内防水工程应以每一个自然间或每一个独立水容器作为检验批,逐一检验。
7.1.6 室内防水工程验收后,工程质量验收记录应进行存档。
7.2 基 层
Ⅰ 主控项目
7.2.1 防水基层所用材料的质量及配合比,应符合设计要求。检验方法:检查出厂合格证、质量检验报告和计量措施。检验数量:按材料进场批次为一检验批。 7.2.2 防水基层的排水坡度,应符合设计要求。检验方法:用坡度尺检查。检验数量:全数检验。
Ⅱ 一般项目
7.2.3 防水基层应抹平、压光,不得有疏松、起砂、裂缝。检验方法:观察检查。检验数量:全数检验。 7.2.4 阴、阳角处宜按设计要求做成圆弧形,且应整齐平顺。检验方法:观察和尺量检查。检验数量:全数检验。 7.2.5 防水基层表面平整度的允许偏差不宜大于4mm。检验方法:用2m靠尺和楔形塞尺检查。检验数量:全数检验。
7.3 防水与密封
Ⅰ 主控项目
7.3.1 防水材料、密封材料、配套材料的质量应符合设计要求,计量、配合比应准确。 检验方法:检查出厂合格证、计量措施、质量检验报告和现场抽样复验报告。检验数量:进场检验按材料进场批次为一检验批;现场抽样复验,按本规范附录A执行。
7.3.2 在转角、地漏、伸出基层的管道等部位,防水层的细部构造应符合设计要求。检验方法:观察检查和检查隐蔽工程验收记录。检验数量:全数检验。
7.3.3 防水层的平均厚度应符合设计要求, 最小厚度不应小于设计厚度的90% 。检验方法: 用涂层测厚仪量测或现场取20×20mm的样品 ,用卡尺测量。检验数量:在每一个自然间的楼、地面及墙面各取一处;在每一个独立水容器的水平面及立面各取一处。
7.3.4 密封材料的嵌填宽度和深度应符合设计要求。检验方法:观察和尺量检查。检验数量:全数检验。
7.3.5 密封材料嵌填应密实、连续、饱满,粘结牢固,无气泡、开裂、脱落等缺陷。检验方法:观察检查。检验数量:全数检验。
7.3.6 防水层不得渗漏。检验方法:在防水层完成后进行蓄水试验,楼、地面 蓄水高度不应小于20mm ,蓄水时间不应少于24h;独立水容器应满池蓄水,蓄水时间不应少于24h。检验数量:每一自然间或每一独立水容器逐一检验。
Ⅱ 一般项目
7.3.7 涂膜防水层与基层应粘结牢固,表面平整,涂刷均匀,不得有流淌、皱折、鼓泡、露胎体和翘边等缺陷。检验方法:观察检查。检验数量:全数检验。
7.3.8 涂膜防水层的胎体增强材料应铺贴平整,每层的短边搭接缝应错开。检验方法:观察检查。检验数量:全数检验。
7.3.9 防水卷材的搭接缝应牢固,不得有皱折、开裂、翘边和鼓泡等缺陷;卷材在立面上的收头应与基层粘贴牢固。检验方法:观察检查。检验数量:全数检验。
7.3.10 防水砂浆各层之间应结合牢固,无空鼓;表面应密实、平整、不得有开裂、起砂、麻面等缺陷;阴阳角部位应做圆弧状。检验方法:观察和用小锤轻击检查。检验数量:全数检验。
7.3.11 密封材料表面应平滑,缝边应顺直,周边无污染。检验方法:观察检查。检验数量:全数检验。
7.3.12 密封接缝宽度的允许偏差应为设计宽度的±10%。检验方法:尺量检查。检验数量:全数检验。
7.4 保 护 层
Ⅰ 主控项目
7.4.1 防水保护层所用材料的质量及配合比应符合设计要求。检验方法:检查出厂合格证、质量检验报告和计量措施。检验数量:按材料进场批次为一检验批。
7.4.2 水泥砂浆、混凝土的强度应符合设计要求。检验数量:按材料进场批次为一检验批。检验方法:检查砂浆、混凝土的抗压强度试验报告。
7.4.3 防水保护层表面的坡度应符合设计要求,不得有倒坡或积水。检验方法:用坡度尺检查和淋水检验。检验数量:全数检验。
7.4.4 防水层不得渗漏。检验方法:在保护层完成后应再次作蓄水试验,楼、地面蓄水高度不应小于20mm,蓄水时间不应少于24h;独立水容器应满池蓄水,蓄水时间不应少于24h。检验数量:每一自然间或每一独立水容器逐一检验。
Ⅱ 一般项目
7.4.5 保护层应与防水层粘结牢固,结合紧密,无空鼓。检验方法:观察检查,用小锤轻击检查。检验数量:全数检验。
7.4.6 保护层应表面平整,不得有裂缝、起壳、起砂等缺陷;保护层表面平整度不应大于5mm。检验方法:观察检查,用2m靠尺和楔形塞尺检查。检验数量:全数检验。
7.4.7 保护层厚度的允许偏差应为设计厚度的±10%,且不应大于5mm。检验方法:用钢针插入和尺量检查。检验数量:在每一自然间的楼、地面及墙面各取一处;在每一个独立水容器的水平面及立面各取一处。
附录A 防水材料复验项目及现场抽样要求


今天关于 「行业标准」 住宅室内防水工程技术规范 丨JGJ 298-2013 (本文来源于网络,供于学习和交流,向原作者致谢,若有涉及到版权及内容问题请联系我将在第一时间处理! 每天进步一点,就会离目标更近一步! )就分享到这里, 希望对你有所启发,不合理之处,也欢迎留言补充,大家一起探讨学习……
