1、万能角度尺的功用 万能角度尺主要是用来测量精密零件的内、外角度或进行角度划线。
2、万能角度尺的形式 万能角度尺主要有三种形式:游标万能角度尺、带表万能角度尺、数显万能角度尺,见下图。其中,游标万能角度尺又分为I型和II型。

游标万能角度尺I型

游标万能角度尺II型

带表万能角度尺

数显万能角度尺
3、万能角度尺测量范围 游标万能角度尺I型:0°~320°;游标万能角度尺II型:0°~360°带表万能角度尺:0°~360°数显万能角度尺:0°~360°
4、游标万能角度尺I型结构 游标类万能角度尺I型主要由直尺、角尺、基尺、扇形板、游标板、制动器、卡块、紧固螺丝等组成,如图所示。

游标万能角度尺I型结构
5、游标万能角度尺I型使用方法 游标万能角度尺I型的测量如图所示,使用万能角度尺测量零件时,根据所测角度,通过直尺和角尺的组合,测量0°~320°。(1)测量0°~50°

测量0°~50°
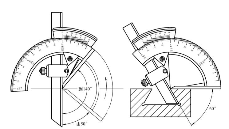
(2)测量50°~140°,拆下角尺。

测量50°~140°
(3)测量140°~230°,拆下直尺。

测量140°~230°
(3)测量140°~230°,拆下直尺和角尺。

测量140°~230°
6、游标万能角度尺I型读数 游标万能角度尺的读数方法与游标卡尺的读数方法类似。(1)主刻度线1°/格;(2)游标刻度可以理解为将主刻度一格1°等分成游标尺的总格数,如如所示,即主刻度一格1°被等分游标尺中的30格,那么游标刻度线=1°/30格=60′/30格=2′/格。

(3)读数先从主尺上读出游标0刻度线以前的整度数,再从游标尺上读出与主尺刻度线第一次对齐重合的一条线的刻度线,记下格数。那么:总读数=主尺上读出的读数(单位是°)+游标尺格数*2′/格(单位是′)(4)例如,下图的读数=34°+18*2′=34°36′

通过这样的讲解,你学会了吗?下图的读数是多少呢?
