自从小区林立,业主们在装修卫生间时对于马桶的选择可以说是煞费苦心,毕竟,选不好就会导致卫生间有异味,现在马桶品牌众多,样式也是五花八门,我们应该如何选择价格合适适合家用的马桶呢?今天我们就来了解一下马桶的选购!

首先,先给大家科普一下马桶的分类,现在市场上销售较多的马桶分别是冲落式坐便器、虹吸式坐便器、虹吸喷射式坐便器、虹吸漩涡式坐便器这四种。接下来就让我们一一了解一下,方便大家在日后选购中知道该选择什么样的!

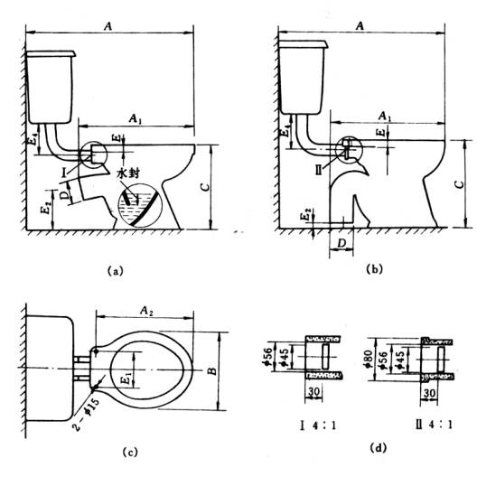
1、冲落式坐便器
冲落式马桶一般是利用水流的冲力来排出污物,为了使从便圈周围的分水孔落下的水力加大,通常池壁都设计得较陡;而且为了使水力集中,存水池面积一般都比较小。

优点:价格便宜、用水量小、排污效果较好。
缺点:冲水噪声大,同时由于水封面积小,易产生积垢。

2、虹吸式坐便器
虹吸式马桶内有一个完整的管道,形状呈侧倒状“s”形,利用给水时的水位差促进虹吸作用的形成,由于不借水力冲走污物,所以池壁坡度较缓,池底也扩大了存水面积,这解决了冲落式噪声过大的缺点。

优点:噪音小,价格不贵。
缺点:存水面积较大,浪费水。

3、虹吸喷射式坐便器
虹吸喷射式马桶是在虹吸式坐便器上做了进一步改进,在马桶内底部增加一个喷射副道,对准排污口的中心,冲水时,水一部分从便圈周围的布水孔流出,一部分由喷射口喷出,这种座便器是在虹吸的基础上借助较大的水流冲力,将污物快速冲走。

优点:相较于普通的虹吸式马桶,增加的喷射附道加强了冲水能力,而且噪音也比较小。
缺点:用水量较大。

4、虹吸漩涡式坐便器
虹吸漩涡式马桶的结构与其他虹吸式马桶相似,只有供水管道设于便池下部,并通入池底,这种马桶利用了漩涡和虹吸两种作用,漩涡使其周围的水面产生强大的向心力,使上面的液体和污物迅速地被卷入漩涡中,又随虹吸的生成而排走,排污过程更加迅速彻底。

优点:冲水噪音小,可以说是静音了;冲污能力强,容易冲掉黏附在马桶表面的污物;因为虹吸的存水较高,所以防臭效果好;
缺点:虹吸式坐便器冲水时先要放水至很高的水面,然后才将污物冲下去,所以要具备一定水量才可达到冲净的目的,每次至少要用8升至9升水,相对来说比较费水;而且它的排水管径也就56公分左右,冲水时容易堵塞,所以手纸不能直接扔在马桶里中,安装虹吸式座便器一般还要配备纸篓和搋子。

以上就是四种马桶的优缺点,就看您喜欢哪种了,如果还有什么疑问,可以留言哦!厨卫百分百作为厨卫新零售服务商,已成功为一百多家厨卫一线品牌实现数字化升级,同时,也为消费者提供高品质厨卫空间整体解决方案,有需求的朋友可以通过老冯聊厨卫首页菜单了解。