
潜水泵是由潜水电动机与水泵组合而成的一种提水机具,机电一体,潜入水中运行。其特点是结构紧凑、使用方便、价格低廉,已经广泛应用于农业排灌、环境保护、市政工程、水利工程、城市和工矿企业给水排水、工业热电站输送循环水、船坞升降水位、引水工程、抗旱排涝等。
01 潜水泵的技术特点
1)潜水泵采用水泵与电动机直接连接,小型潜水泵甚至将水泵叶轮直接安装于电动机轴上,省掉许多连接的零件,泵整体尺寸缩短,材料消耗少,重量减轻。代替深井泵时减少了长轴故障率高的问题,提高了设备的可靠性。
2)安装简单,不必建泵房,土建面积小,减少了基建投资,而且潜水泵直接潜入水中,仅仅需要电气控制设备的地面建筑,使用维护方便。
3)在水下运行噪声小,很适合对于工作环境要求安静的场所,如学校、医院、宾馆、会堂等的供水和排水。
4)潜水泵在水下运行,不受气候和周围工作环境的影响;便于隐蔽,适合战备与战略的需要。
5)利用潜水泵提水,提水深度增加,汽蚀问题较少。
6)内装式潜水电动机可保证干式电动机潜水泵即使在接近排干吸水池的情况下长期运行,也不必担心空载电流大导致电动机升温烧毁的问题。
7)潜水泵有可能产生漏电、电缆进水、机械密封泄漏和其他静密封部件失效等问题,这些问题均可能导致整泵烧毁或者漏电事故发生。
02 潜水泵的类型
潜水电动机按照供电电源的不同可分为交流与直流两大类。其中直流潜水泵只用于如军舰或者其他一些特殊场合,使用场合较少;交流潜水泵中,目前正在发展一种潜水永磁同步电动机,水磁材料具有较高的剩磁感应强度、矫顽力高、磁能积高,随着永磁材料的发展,特别是铷铁硼工作温度有较大提高,价格下降,潜水泵采用永磁材料作为转子,转子无电阻损耗,电动机效率较高。目前大量生产和广泛使用的是潜水异步电动机,可依据泵不同的结构形式和用途分类。
1)除特殊场合需要,潜水泵一般均设计为立式,依据泵与电动机的相对位置可分为上泵式潜水泵和下泵式潜水泵。泵在电动机部分之上的为上泵式,这种结构有助于减小水泵的径向尺寸,农用排灌及井泵大多数为上泵式,上泵式潜水泵电动机外面被水淹没,冷却条件好,电动机轴承可采用工程塑料轴承或滚动轴承,轴伸端和轴承的密封采用骨架式油封或机械密封,密封仅起防泥沙和脏水的作用,结构简单,典型结构如图2(a)所示。泵在电动机下部的为下泵式,由于下泵式潜水泵在较浅的水体中也能工作,故常用于作业面潜水电泵、工程用污水污物潜水泵,由于机械密封处于高压区,常通过设置副叶轮、回流孔、甩水器等降低机械密封的压力,其典型结构如图2(b)所示。

图2 (a)上泵式潜水泵;(b)下泵式潜水泵
2)潜水泵按所用电源形式可分为单相泵和三相泵,单相泵特别适合家用、宾馆或者楼宇等只有单相电源的场合,一般功率不超过1.1kW,因多了电容器等元件,故障率高、效率较低,典型的单相潜水泵电容接线法如图3所示。4kW以下、380V的三相潜水电动机通常为星形接法,大于该功率时为三角形接法,这主要是适应不同电压以便运行和起动用。三角形接线的大功率潜水电动机可以将绕组接线方式更改为星形接线,可以承受原有电压√3倍的高电压,三角形及星形接线分别如图4和图5所示。

图3 单相潜水泵电容接线

图4 三相三角形接线

图5 三相星形接线
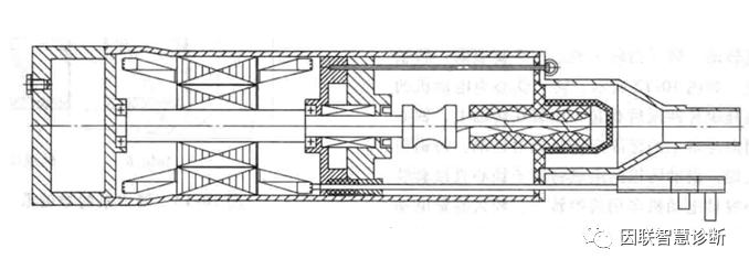
3)潜水泵按照电动机结构可分为干式、充油式、充水式和屏蔽式。干式电动机即工艺上能够大批量生产的普通干式三相异步电动机,常采用橡胶件做静密封,机械密封为动密封,输出轴部分一般为1~2道单端面或者双端面机械密封,严格禁止水进入电动机内部,其生产成本最低,电动机效率最高,图2(b)所示即为采用干式电动机的潜水泵。充油式电动机内充满机械油,有利于电动机内部热量散发,一定程度上防止水进入电动机内部,但制造成本稍高,电动机效率低于干式电动机。充水式电动机绕组由防水电磁线构成,浸在水中也有足够的绝缘电阻,所以电动机内部可以充水或者防锈润滑液,其电动机运行效率更低些,由于电动机定、转子间隙的水力摩擦损失较大,故通常做成细长型,典型结构如图6(a)所示。屏蔽式电动机在定子上套一个薄薄的、密封的非磁性屏蔽套,电动机转子可以浸在水中运转,其制造成本最高,工艺复杂,且屏蔽套在交变磁场作用下可能存在附加涡流损失,效率与功率因素相对最低,主要适合无泄漏的化工场合和低噪声场合,典型结构如图6(b)所示。

图6 (a)充水式潜水泵;(b)屏蔽式潜水泵
4)潜水泵按照液流的排出方式分为外装式、内装式、半内装式、贯流式。外装式潜水泵吸入液体后通过叶轮作用,直接从压水室出口排出,结构设计简单,效率相对较高,图2(b)即为典型外装式潜水泵。为了改善外装式潜水泵的冷却条件,常将功率较大的潜水泵电动机外壳做成夹套式,将泵出水高压区的液体引入夹套冷却电动机。内装式潜水泵吸入所输送的液体,经过叶轮加压流出,通过冷却油室,并经过包围电动机的环形流道,使液体冷却电动机后再流出泵的出口,整泵效率稍有下降,但泵的使用可靠性大大增加,图6(a)所示为典型内装式潜水泵。半内装式潜水泵结构特点介于外装式、内装式潜水泵两者之间,通常将泵出水管经过电动机外壳的部分与机壳连成一体,对电动机起到一定的冷却作用。贯流式潜水泵的电动机位于潜水泵的外部,泵叶轮装在电动机转子内部,两者成为一体,泵输送的水流经电动机转子内壁冷却转子,电动机一般为充水式,外径较大,高度低,冷却条件好。
5)潜水泵按照叶轮数可分为单级泵和多级泵。小型潜水泵及其他大部分潜水泵均为单级泵,即泵部分只有一级叶轮,液体从吸入口吸入后通过一个叶轮的作用后直接由泵体排出。多级潜水泵主要适合扬程要求较高的场合,如长轴深井泵和井用潜水泵,矿用水仓排水泵等,潜水泵吸入所输送的液体,经过首级叶轮加压后进入径向导叶,降低速度,增加压能,并导入第二级或者更多级叶轮继续加压,经末级叶轮后从泵体或者集水口流出。多级井用潜水泵典型结构如图7(a)所示,矿用多级潜水泵典型结构如图7(b)所示。

图7 (a)井用多级潜水泵;(b)矿用多级潜水泵
6)潜水泵按照用途可分为井用潜水泵、作业面潜水泵等。井用潜水泵主要用于从井中提取地下水,水泵和潜水电动机连接在一起置于井水位以下工作,其潜水电动机大多装置在水泵的下端,吸水口在电动机与水泵之间,因潜水泵受到井径的限制,通常采用细长的电动机和多级导叶式(空间导叶或径向导叶)的水泵。作业面潜水泵多用于集水池、江河湖泊及其他开阔水面的取水,在建筑、环保、城市、矿山排水中广泛应用。根据介质输送和叶轮形式的差异又可分为普通离心式叶轮(含输送清水、输送污水杂质的闭式污水泵叶轮)、半开式叶轮、旋流式叶轮、螺旋离心式叶轮、单流道叶轮、双流道叶轮、混流式叶轮、轴流式叶轮潜水泵等。混流式叶轮、轴流式叶轮潜水泵主要应用在大流量、低扬程的市政工程、水利工程等场合,又称潜水混流泵、潜水轴流泵。
7)潜水螺杆电泵与其他叶片式潜水电泵不同,属于容积泵,螺杆泵分为单螺杆泵、双螺杆泵、三螺杆泵、五螺杆泵,最常见的为单螺杆泵,螺杆泵在输送黏性液体时工作可靠,性能稳定,吸入性能好,不断流,在石油化工、食品、轻工等行业使用比较广泛。潜水螺杆电泵典型结构如图8所示。

图8 潜水螺杆电泵