什么是膜盒压力表?
膜盒压力表也称为微压表。
它是为了增加膜片的位移量,提高压力表的灵敏度而 把两个同心膜片焊接在一起,做成空心膜盒,并用膜盒作 为弹性敏感元件用来测量微小压力的压力表叫膜盒压力表。
膜盒压力表的基本结构是什么?
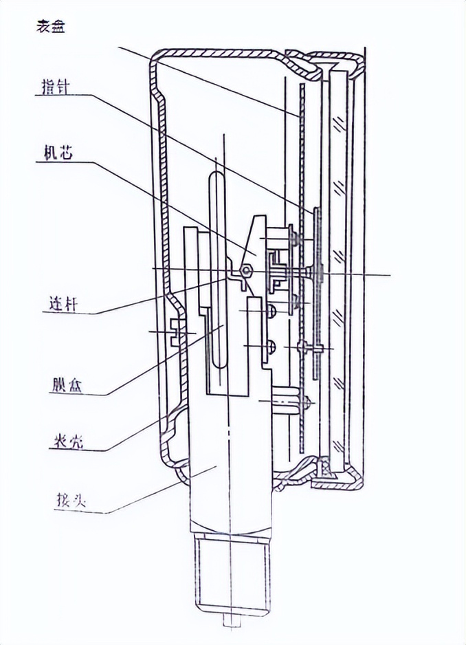
如图4-15所示,膜盒压力表主要由以下零部件组成,它们分别是:接头、表壳、膜盒、连杆、机芯、指针、表盘。

膜盒压力表的工作原理是什么?
当被测压力从接头进入膜盒腔内后,膜盒自由端受压而产生位移,此位移借助连杆带动机芯中轴转动,由指针将被测压力值在表盘上指示出来。
膜盒压力表的用途是什么?
膜盒压力表主要是用来测量微小气压和负压。
其测压范围和仪表精度一般按下表4-8中的规定:

什么是远传压力表?
既能在现场指示压力,又能在远距离进行压力的显示与控制的仪表称之为远传压力表。在工业生产过程中,由 于现场的特定条件限制,例如在高动态负荷下的测量点, 或有爆炸危险的测量点,或需远距离的测量点又不可能由 工作人员现场照顾时,就需用远传压力表来完成。
远传压力表一般有电位器式远传压力表(又称电阻式远传压力表)和差动远传压力表两种。
什么是电位器式远传压力表?
电位器式远传压力表,又称电阻式远传压力表,它是由一个弹簧管和一个滑动电位器式传感器组成。如图4-16所示,电位器固定在接头上,而电刷与弹簧管的动机构相连接,当被测压力变化时,弹簧管的自由端产生位移,一方面通过机芯带动指针转动指示出压力值;另一方面带动带动电刷在电位器上滑动,输出一个被测压力成正比的电阻信号,远传给二次仪表(显示仪表),做到既可近距离观察又可远距离控制。

什么是差动式远传压力表?
差动式传压力表由弹簧管压力表和压力变送器两部分组成:它具有现场压力指示和将压力信号转为远传电信号输出两种功能。
差动式远传压力表工作原理是:
如图4-17所示,当被测压力变化时,弹簧管的自由端产生位移,一方面通过机芯带动指针转动指示出压力值; 另一方面也带动差动变压器的铁芯产生位移。差动变压器初级接一振荡电压,次级是两个反串联的绕组,当差动变压器铁芯位于对称中心时,差动值为零,当铁芯随压力的变化而产生相应的位移时,也就产生了相应差动信号。这一差动信号,经过电压放大,电压一电流转换,输出标准的0~10mA(DC)或4~20mA(DC)电流信号,再传给二次仪表(显示仪表),做到既可近距离观察又可远距离控制。
