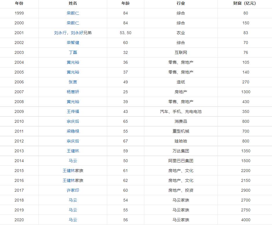
《胡润百富榜》从1999年开始发布到至今已经有22期,榜单更迭首富轮换也反映着行业风口的走向和财富的流动。

2003年我国开启了互联网的元年,网易的丁磊问鼎了首富,2004年从事零售业的黄光裕靠着国美登上了首富的位置,随后房地产、制造业、消费品等各个行业的大佬轮番上阵,无不显示着经济的多样性。

进入2013年后房地产商和互联网企业的创始人成为了首富的不二人选,王健林、许家印、马爸爸轮番上阵,而在2021年房地产企业家全部跌出了富豪榜前十位,时代和你说再见,从来不会打招呼。

我国财富流动情况只是世界的一个缩影,30年前全球最有钱的是石油公司(壳牌、BP),20年前是通信公司(诺基亚、摩托罗拉、爱立信),10年前谷歌、微软这样的互联网企业占据了财富榜的首位,目前市值最高的是苹果,而最有潜力的是清洁能源相关的企业如特斯拉等。

我们不难发现科技多价值的创造是巨大的,而2021年《胡润百富榜》排名第三的是动力电池宁德时代的创始人曾毓群,可能这次全国首富钟睒睒看上去只是个卖水的,但是他手里其实还有一家生物科技公司75%的股份,而这家公司其实就是国产HPV疫苗的唯一供货商。

首富的更迭,也代表着时代特征的变化,下一个十年的风口你觉得应该在哪里呢?能源互联网、元宇宙、生物制药值得关注。
