苹果在AR VR领域,一直偷偷得进行着自己的研究,不让人知道。但苹果在AR VR领域的专利布局,早在10年前就已经开始。库克也表示增强现实这个领域非常盈缺斯汀。不是不爆,时候未到。但从专利和收购公司中,或许我们可以找出一些线索。
苹果在AR领域的洪荒之力
8月15日的美国华盛顿邮报刊出Tim Cook的长篇专访,在专访中他吐露出苹果公司在AR领域的产品已经并且将投入更多的洪荒之力。然而更多的细节我们不得而知.

Redirected Walking Toolkit 放出,你要不要试试?
iPhone到iWatch回想起iphone的出现, 改变了手机市场,不得不说iPhone是苹果快速成长的最大推力,但这也是一把双刃剑。
2011年,苹果的整体营收来自于iPhone销量大约为44%,现在iPhone已经快要占据营收的三分之二。苹果是越来越倚重iPhone的销量,但是一旦iPhone销量下滑,就会影响苹果的整体业绩。最近苹果的第二季度财报一出,各种唱衰苹果的言论再度应声而起,因为这是苹果连续第二个季度iPhone销量出现下滑,同时也是苹果13年来最差财报。可见iPhone的销量是好是坏,对苹果的财报都有立竿见影的效果。

(数据来源华盛顿邮报)尽管如此,库克依然坚信,在未来,“手腕儿”会是一个重要的突破点。库克表示,可穿戴科技就像“大树上的一根重要分支”,然而智能眼镜不可能成为主流产品,他坦言“手腕更感兴趣”,并认为手腕是个更自然的部位,不显得“怪异”,且很有吸引力,如今的大多数年轻人手腕上什么也不戴,“要说服人们佩戴某样东西,它必须做到令人难以置信”。
苹果已经在AR方面付出了许多,然而AR当下的硬件多为智能眼镜,这是不是说明,苹果的AR之力,将会投入到手表上面呢?
似乎苹果感兴趣的事情都成真了
虽然苹果一直没有公开承认自己对于AR领域的研究,但仅仅从库克的这句话,便初见端倪
I think AR is extremely interesting and sort of a core technology. So, yes, it's something we're doing a lot of things on behind that curtain we talked about. - Cook
库克口中“一件有趣的事”,是不是已经意味着苹果在AR领域的研究已经大量投入,毕竟苹果感兴趣的事情似乎都成真了。
其实早在十年前,苹果就已经开始在储备洪荒之力了。
专利
2016.6
增强现实透视装置
该专利最初在2014年11月提交,详细介绍了一种方法:一个或多个触控显示屏集成在一个透明基底或设备窗口,使用户可以看到数字生成图像叠加在真实世界的物体之上。

配置卷曲显示屏的电子设备
该专利在2015年4月首度提交,这是一个极具未来感的手机,配置了柔性AMOLED屏幕,全玻璃构造和其他独特器件。


2015.12
一项与增强现实技术有关的投影仪专利

首先,它有一个用来扫描房间或办公室等周边环境的摄像头,投影仪以此为周围环境建立数字模型,并且检测出能够投射影像的平面。增强现实投影仪的第二个关键部分是投影仪,它可以改变用户所看到的影像。
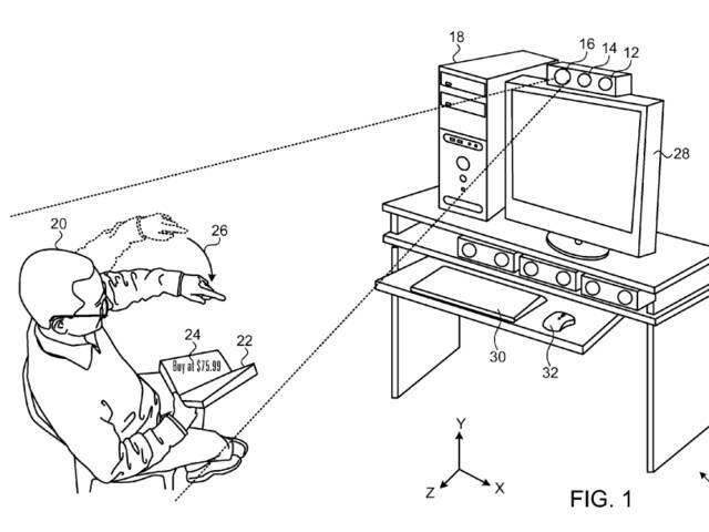
2015.10


这个系统能够将电子书和电影等数字内容引进现实世界。这会让人们更容易作出购物决定,因为这样的投影仪可以让人们对于他们想要购买的商品有一个更真切的感受。
2013
Video Goggles,具有适应人眼的可调光学系统


2012
视频通话耳机

体感3D虚拟交互设备(2012)

为人们与ios进行三维交互提供可能性,使用陀螺仪来感受设备的朝向
2009
3D超现实显示器


它通过摄像头,检测人的位置,从而给人在不同位置以不同的观察图像,动动脑袋就可以看到更深更广阔的三维世界。
类似于Oculus Rift的显示系统


2006年已经研制出,和oculus比较像,但09年才发布出来,据说是为了赶着头显的热潮吧这款头显帮助你看iPod nano里的视频,并且如果安装上一款相机,就可以释放双手地录像了



8月15日的美国华盛顿邮报刊出Tim Cook的长篇专访,在专访中他吐露出苹果公司在AR领域的产品已经并且将投入更多的洪荒之力。然而更多的细节我们不得而知.
收购公司
过去两三年,苹果耗费了巨资收购虚拟现实、增强现实领域的创业公司,包括动作传感技术公司PrimeSense、增强现实技术公司Metaio、面部捕捉和动画公司Faceshift、面部表情分析公司Emotient以及刚刚收购的曾为谷歌Project Tango开发软件Flyby Media公司。
PrimeSense
2013,PrimeSense的技术可以扫描身体运动等3D动作,将其转化成深度或者颜色等数字信息,曾是微软Kinect体感控制器的合作伙伴。通过收购,苹果在体感操作方面的研发成本及周期都可能得到改善,Apple 牌智能电视将形成体感、语音、触控海陆空多栖交互方式。考虑到 PrimeSense 在移动设备上也进行了技术积累(Capri 等),那么日后苹果的手机、平板、Mac 甚至未来的智能手表加入体感操作也不会让人奇怪。

Metaio
2015年5月,苹果已经收购了Metaio——世界上最大的增强现实技术的公司之一。Metaio专门从事增强现实和计算机视觉解决方案。Metaio的Metaio Creator让用户使用iPad等设备获得沉浸式互动体验。Metaio的技术可能还会被集成到苹果公司自己的地图平台。

Faceshift
2015年8月 Faceshift是一家专注于实时动作捕捉技术的公司,专利是无标记(markerless)面部动画捕捉技术,经常和游戏、动画工作室合作,通过3D传感器实现快速、准确的面部表情捕捉。公司简介为「借助计算机视觉技术,让用户真正「感知」周围的现实世界,并强化其对空间的理解」。苹果收购Faceshift技术公司也预示着其将在拟现实技术和面部捕捉技术这鞋领域发力。

Flyby Media
2016年1月苹果收购Emotient以及刚刚收购的曾为谷歌Project Tango开发软件Flyby Media公司。Emotient可利用人工智能技术(AI)对人们的面部表情进行分析以解读其情绪。

WiFiSLAM
能够让你和朋友的手机作为标志点,只需要Wifi信号就可以完成室内定位,精度2.5m


Polar Rose
2010年9月,苹果以2900万美元的价格收购瑞典面部识别技术公司Polar Rose
产品
在回答关于Apple Pay商业价值的问题时,库克提到了现实增强游戏《Pokemon Go》。库克表示:“关于现实增强和口袋妖怪现象,很难相信这里发生了什么。我认为,这证明了创新应用和整个生态系统的潜力。如果有开发者能按下这颗按钮,在全世界推出产品,那么能发挥出巨大的力量。到目前为止,这家开发商由于服务器压力问题还没有在全球范围内推出游戏,但我认为他们将会这样做。”
库克还表示:“这也表明,现实增强可以非常强大。我们已经在这一领域有许多投资,并且正在继续投资。在长期发展中,我们看好现实增强。我们认为,这对用户来说很好,同时也是很不错的商业机会。因此我们正在投资。最重要的一件事在于,确保我们的产品与其他开发商的同类产品,例如口袋妖怪,协同工作。因此你可以看到,许多人拿着iPhone走到户外去抓口袋妖怪。”
其实早在2012年, 苹果地图就已经崭露头角.
苹果地图
不让谷歌再把市场抢了去




正如他们预测到了笔记本电脑的市场方向,他们很清醒地了解移动市场的发展方向。谷歌已经占领了85%的搜索引擎市场。GPS对真正潜力需要借助AR来发挥,比如显示饭店的菜单和营业时间等商业信息,比如LayAR。地图,GPS与地点的结合,是苹果未来的方向。
Watch+AR的应用猜想?


虚拟键盘?那怕是洗澡的时候,你也可以任性地敲着键盘了。


游戏移植?GPS与AR结合,让熟悉的场景变成需要占领的据点。

招贤纳士
自从2013年收购PrimeSense以来,苹果从未停止过招揽虚拟现实、增强现实领域的科技人才。现已将微软HoloLens音效工程师主管Nick Thompson,美国弗吉尼亚理工大学虚拟现实专家Doug Bowman博士以及在光场技术领域具备领先优势的Lytro公司几名员工等纳入门下。

可以看出,苹果从各处挖人,Magic Leap微软MIT相机场Lytro,几乎挖遍了所有AR大公司。
钱砸了人有了,苹果到底要干啥呢?
CEO库克对此一直笑而不语,评论AR VR技术非常“阴吹思婷!”
目前苹果未公布任何AR VR计划,但传闻最近要发布的2016 iMac模型会支持VR和AR技术,预计在高配版iMac里,会用到AMD的Polaris 10或者 11,号称普通人也能买得起的VR显卡。
目前的iMac显卡达不到VR要求,这也是为什么当年Oculus CEO Palmer Luckey选择跟Windows电脑合作的原因。如果新的iMac能达到配置要求,果粉们的VR体验指日可待!
渐入佳境
苹果目前有218名科技骨干的团队负责AR技术的研究,比去年增长了18%。在全年总手机下降7%的条件下,苹果投入的AR研究资金反而将比去年增长21%,首次突破百亿达到104亿美元。
未来可预见的二十年,苹果显然已经将宝压在了AR的头上。不过目前还没有苹果关于AR技术的产品的相关信息。我们几乎一无所知,甚至连苹果是推出AR软件,还是会推出类似谷歌眼镜一类的AR硬件都毫不知情,更神奇的是,连个像样的爆料人都没有。
目前来看,还没有一种AR产品在商用化的道路上实现成功。但是让苹果对某些事情感兴趣并不容易,但一旦感兴趣,苹果就会尽全力去将其展现到人们的视野当中,当前苹果感兴趣的AR难道不可能成真?苹果会像它推出iPhone时那样一鸣惊人,推出划时代意义的AR产品,改变游戏规则吗?
AR酱文章,转载须注明出处
AR酱微信号:ARchan_TT
AR酱官网:www.arjiang.com