
海蒂·拉玛。Adrian Curry/Zeitgeist Films
撰文 | Tushna Commissariat
翻译 | 李晓东
校译 | 陈晓雪 庄秋莞
● ● ●
她是移民,演员,制片人,也是发明家,战争时期的筹款人,女权主义者——海蒂·拉玛(Hedy Lamarr),一个超越时代的女人。即使现在看来,拉玛也是一个矛盾的混合体,她既是好莱坞知名电影明星,被誉为“世界上最美丽的女人”,又是创意十足的天才工程师,拥有一项发明专利。今天试图了解她的人,似乎总是对她充满误判、不屑,只是赞赏她的美貌。实际上,性、科学、名望和不幸充斥着她的人生,这些元素令人迷醉地混为一体,构建成了她激荡人心、非同反响的一生,而这些被完美收录在了在传记体电影《重磅*弹炸**:海蒂·拉玛的故事》中。
这部电影由亚历山大·迪恩(Alexandra Dean)编剧和执导,讲述了拉玛的完整人生经历:拉玛在维也纳度过了富足和雅致的青年时期,随后进入好莱坞踏上对荣誉和金钱的追求之路;之后她拍摄了许多电影,经历了六次婚姻,生育了三个子女;在2000年去世之前,拉玛已经过上了自我封闭的隐居生活。迪恩有好几年时间为《彭博商业周刊》报道创新技术,她发现女性发明家罕见报端,于是她尝试着去找到这样一个人物。在读了理查德·罗德的《海蒂的蠢事》(Hedy's Folly)》之后,迪恩不由赞叹到:“Bingo!这就是那个全世界都以为不存在的先锋人物。她居然是个电影明星!我的下一个目标人物就是她了!”
《重磅*弹炸**》有一个特别有趣的地方,那就是这部电影大多是由拉玛自己讲述的。在搜寻拉玛的专访时,特别是那些谈及她科学研究的访谈时,迪恩向“每个曾经报道过拉玛的尚健在的记者”求助。她很幸运地得到了记者弗莱明·梅克斯(Fleming Meeks)的帮助,后者在1990年为《福布斯》工作期间采访过拉玛,并且还保留有三盘录音带。迪恩谈道:“这是电影的转折点。我们扔掉了之前制作的电影,并从零开始创作。(在新的制作中)拉玛成为了讲述者,这种感觉就像忽然间拉玛本人开始执导这部电影。”另外,拉玛的儿子安东尼·洛德(Anthony Loder)和女儿丹妮丝·洛德(Denise Loder),她著名的朋友和同事,像梅尔·布鲁克斯和罗伯特·奥斯本等,也都为这部电影增添了大量内容。
拉玛1914年出生于维也纳,取名海德维希·爱娃·玛丽亚·基斯勒(Hedwig Eva Maria Kiesler),她的父母是被同化的奥地利犹太人。拉玛的父亲虽然是个银行职员,但对机械技术有浓厚的兴趣。父女俩绕着维也纳城散步时,父亲会告诉女儿电车或电厂是如何工作的,在幼年的女儿心中播下好奇的种子。“也许我来自其它的星球......谁知道呢?” 拉玛笑着对Meeks说道。“但不管怎么说,搞发明对我来说并不难。”五岁的拉玛就能够拆开一个小音乐盒并组装回去。在电影中,她的儿子安东尼展示了一个完全一样的音乐盒,此情此景感动人心。
尽管她拥有才华,也热爱科学,但16岁的拉玛是如此美丽,大家一致认为除了表演,她无法去追求别的职业。这真是一种充满讽刺意味的二元对立––––拉玛的绝世姿容,某种程度上阻绝了她成为科学家的可能,尽管她在科学方面天赋卓然。“任何女孩都可以魅力四射,只要你呆立不动,看起来像个傻瓜就行。”这是拉玛广受欢迎的名言之一。而另一句是她认为“人的思维比外表更有趣”。在《重磅*弹炸**》中,电影历史学家珍妮·贝辛格(Jeanine Basinger)声称“如果拉玛身处一个不同的时代,她很可能成为一名科学家.....不管怎么说,她的过人美貌强行扭转了她成为科学家的可能。”类似的陈述在电影中随处可见(在当今的拉玛文献中也是如此)。这使我不由思考,是否即便放到现在,拉玛也有可能由于“过于”美丽而无法“只”成为一名科学家,希望这是我多虑了。
17岁时,拉玛出演了她人生中的第一部电影。18岁时,她主演了当时引发轰动的德国电影《神魂颠倒》(Exstase)。这部电影里有裸体画面和臭名昭著的*爱性**场面(因此被阿道夫·希特勒禁止上映),但也让她进入了好莱坞的视线。随后她嫁给了一位名叫弗里茨·曼德尔(Friedrich Mandl)的奥地利*火军**商。由于曼德尔与贝尼托·墨索里尼和希特勒都有关系,她的犹太父母并不赞成这门亲事。曼德尔最终成为拉马尔的前夫,成为拉玛爱过然后离开的诸多控制狂男人中的一个。这部电影展现了拉玛如何精心编织了近乎电影般的情节(利用伪装和*眠药安**),以逃脱曼德尔的掌控,并最终逃离德国。她前往美国,结识了米高梅工作室的路易·B·梅耶(Louis B Mayer),并改名为海蒂·拉玛,开始了她漫长的演艺生涯。
在某种程度上,拉玛维持她的电影生活和科学爱好之间看似互不干扰。她其实还有一个不大的化学实验室––––这是来自她的朋友兼情人霍华德·休斯( Howard Hughes)的馈赠,他还提供了一个工程师团队供其支配。这个实验室设置在她的活动房车里,以度过两场电影拍摄的间隙。 “我听说她是一名科学家......这是真的吗?”在电影开头,布鲁克斯惊道。
有一次,科学方面基本是自学成才的拉玛描述了她的一个设想,她试图发明一种能溶于水以制成可乐类饮料的药片。尽管它未能成真,但她的初衷是想让全美各地的*队军**都可以喝上可乐,因为很多地方缺少供应。让人着迷的是,拉玛还谈到了她如何帮助休斯重新设计机翼的形状。她描述了她如何想到“机翼不应该是正方形”,随后购买了关于鸟类和鱼类的书籍,然后“利用最快的鸟,并联系到最快的鱼,用以设计弯曲的机翼”,显而亦见,她的思路已经涉足了仿生学。
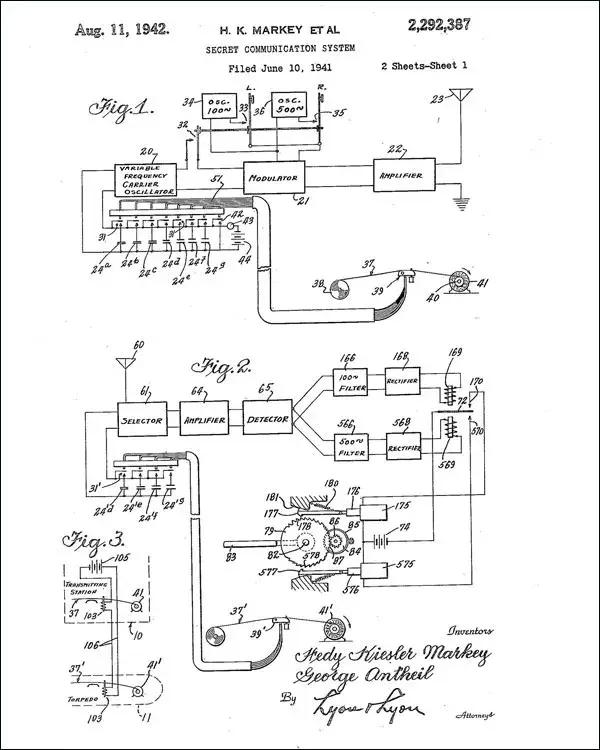
《重磅*弹炸**》用大段篇幅描述了拉玛的表演、多次婚姻和离异,还有她的复杂个性。不过电影也很好地阐释了她的科学造诣。在逃离纳粹魔掌后,拉玛尔热衷于帮助反法西斯同盟赢得战争。1941年时,德国U型艇几乎永不沉没,因为它们可以轻易地躲避“过时的英国鱼雷”。这种鱼雷是由特定频率的无线电信号引导,因此敌舰可以通过拦截信号来阻拦鱼雷。拉玛反其道而行之,通过使用一系列快速变频信号解决了这个问题。正在监听的敌舰只能截取到一个随机的无线电信号频率,但对整个信号系列无能为力。这种简单但颇具创造性的“黑客”手法形成了拉玛“跳频”秘密通信系统的基础。她和朋友乔治·安塞尔(George Antheil)一起开发了这个设计,后者是“坏男孩”的作曲家。他们想出了一种方法,能使船上的发射器和鱼雷上的接收器之间能够同步变化频率。
他们的解决方案(无疑是受到安塞尔的启发,在其作品《机械芭蕾》(Ballet Mecanique)中他同步了16台自奏钢琴的演奏)是使用电机驱动的自奏钢琴打孔卷,分别安装在船和鱼雷上,这样两端可以同步切换令人眩晕的88个不同频率。一位电气工程师也提供了一些帮助,随后两人于1941年提交了他们的系统,并在一年后获得了专利(编号2292 387)。然后他们将这个系统提供给了美国海军。然而不幸的是,海军认为钢琴打孔卷的办法不够稳妥,没有采用这个设计。并且,由于该技术可能的军事用途,该专利被标记为“绝密”,并在余下的战争时日里被束之高阁。

海蒂·拉玛的“秘密通讯系统”专利,专利号:2292 387
拉玛被告知,如果她真的想为战争出力,那么她应该利用她的名人身份出售战争债券。尽管这绝非她想要提供的技术帮助,但拉玛最终还是售出了价值约3.43亿美元的债券。更糟的是,美国政府在1942年将拉玛的专利以“外籍财产”名义没收,因为她不是美国公民。拉玛大惑不解,“我想不通。他们要利用我卖债券时我就不是外国人。当我为这个国家发明东西时,我又变成了一个外国人?”
拉玛和安塞尔的技术沉寂多年,专利也已过期。直到20世纪50年代时,人们才从故纸堆中找出了他们的设计,并开发了跳频系统的电子版本。相当讽刺的是,1962年美国海军*锁封**古巴期间最终还是用上了这项技术。由于海军声称专利到期后才开发出这项技术,所以拉玛和安塞尔从没有因这项发明得到任何报酬。
影片的最后部分描述了跳频系统的“革命性”和广泛应用,包括GPS和蓝牙,以及WiFi技术,当然还有现在的卫星保密通信。影片的最后一帧写着“她的发明市场估值约300亿美元”,让人感觉科学家拉玛在《重磅*弹炸**》中只是个微不足道的小人物。某种程度上这么说丝毫没错,毕竟她的发明无疑是在没有任何合理报偿的情况下被广泛使用。但最终,我不禁认定拉玛本人并不会在意这些。她当然知道这个发明的价值所在,而我只是衷心期望她能知道她的事迹将被广而告之。

秘密通讯系统:海蒂·拉玛的专利“秘密通讯系统”,授予者姓名是“Hedy Kiesler Markey”。1941年注册专利时,拉玛正好与好莱坞剧作家吉恩·马基(Gene Markey)喜结连理。她相信专利里放上她的夫家名字能够增加其可信度。
原文链接:
https://physicsworld.com/a/a-tale-of-two-lives/
▲本文为Physics World专栏的第16篇。
第一篇:中国的挑战和变化
第二篇:第一个中美合作大学的物理研究所的故事
第三篇:专访张富春:让外国学者长期留在国内是个巨大的挑战
第四篇:中国冲刺月球计划
第五篇:随机行走人生路,量子计算是归途
第六篇:什么情况下冷水比热水升温快
第七篇:文科教育为什么不能偏废?
第八篇:如何写一份面向工业界的简历
第九篇:液晶隐形眼镜帮助老年人“看清”未来
第十篇:动物集体行为背后,到底是何机制?
第十一篇:世界首次人机合一的奥运会:比赛爬楼梯、晾衣服背后的黑科技
第十二篇:植“根”于物理
第十三篇:树冠的顶级智慧:启发超音速飞行器降温新技术
第十四篇:专访王贻芳:建造下一代对撞机
第十五篇:物理学家30年前遭遇的问题,至今没有改善
版权声明
原文标题“A tale of two lives”,首发于2018年8月出版的Physics World,英国物理学会出版社授权《知识分子》翻译。中文内容仅供参考,一切内容以英文原版为准。未经授权的翻译是侵权行为,版权方将保留追究法律责任的权利。
登陆Physics World,关注日常全球科学新闻、热点报道和评论。Physics World 帮助学界与产业界的研究人员走在世界重大科研突破与跨学科研究的前沿。
去知识分子网站看一看这些文章:
他说:从小看太空地图长大的孩子,一定有更强的人类责任感
http://www.zhishifenzi.com/depth/character/4482.html
不回餐桌,地沟油还能去哪里?
http://www.zhishifenzi.com/depth/depth/4475.html
一个伟大的发明:人类第一个降胆固醇药的诞生
http://www.zhishifenzi.com/depth/depth/4454.html
惠康和盖茨基金联手加盟助推欧洲“没有付费墙阻隔的科学”
http://www.zhishifenzi.com/news/multiple/4483.html
空间探测专家、高能所原*党**委书记王焕玉,在汇报现场去世
http://www.zhishifenzi.com/news/multiple/4484.html
Nat Biotech:北大学者利用基因编辑技术筛选长非编码RNA功能
http://www.zhishifenzi.com/news/biology/4485.html
美国大幅度增加对脑科学项目的资助,涨幅高达50%
http://www.zhishifenzi.com/news/multiple/4486.html
北京市长陈吉宁调研北京脑科学与类脑研究中心,强调了这些
http://www.zhishifenzi.com/news/multiple/4487.html
本页刊发内容未经书面许可禁止转载及使用
公众号、报刊等转载请联系授权
copyright@zhishifenzi.com
商务合作请联系
business@zhishifenzi.com
知识分子为更好的智趣生活 ID:The-Intellectual