晋江学校足球场地 (晋江市足球场)

2018年“国际大体联世界杯及亚洲大体联亚洲杯中国大学生足球选拔赛”、2018年“亚洲大体联亚洲杯”将分别于今年8月份和10月份在晋江市举行。

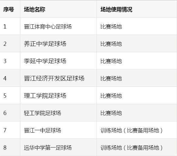
亚洲杯及中国区选拔场地安排

晋江市正全面推进赛事场馆建设

晋江一中足球场

晋江一中足球场改造完成后既可以作为大体联、世中运等大型国际赛事场地,也可以为晋江一中5000多名学生带来一个全新的高规格运动场所。

晋江一中副校长 陈福元:5月底就要全部完工,经过两个月的种植维护,7月份我们就可以投入使用。

季延中*运学**动场

季延中*运学**动场改造项目施工总面积约2.2万平方米,工程总造价近1500万元,改造完成后,运动场中的足球场将满足大体联、世中运的足球赛事训练和比赛需求,同时会配备休息房、淋浴房、公厕、监控室等多个功能用房。

季延中*运学**动场改造项目施工方经理郭春海:我们这个足球场是达到一级比赛级别的标准。

晋江二中足球场

晋江二中足球场改造完成后将作为大体联足球训练场以及世中运足球赛场。根据国际赛场标准,该足球场的长度、草种、灌溉设备等都将进行相应改造。

晋江二中副校长 陈维新:预计草坪施工在5月底能够结束,完了以后还有一个半年期的草坪的维护。

远华中学足球场

远华中学两个足球场都已经建设完成,种植的兰引三号草也已长得郁郁葱葱。

远华中学总务处主任 蔡计划:我们引入专业的团队来养护,每天要进行施肥、拔草,还要除杂草,以达到我们大体联训练场地,还有2020年世中运比赛场地的要求。

养护草坪的同时,赛场相关功能用房将由学校原有的四间功能教室改造而成。

晋江经济开发区足球场

晋江经济开发区的足球场,单一连片、平整美观的翠绿草坪映入眼帘。这里是大体联的足球赛场之一,如今草坪的种植工作已经全部完成。

晋江经济开发区足球场项目现场负责人 黄荣凯:足球场在建设前期就已经引进符合国际赛事要求的“兰引三号”草皮,配备了一个自动喷灌系统,每天不定时地进行喷灌,安排人员在现场清理杂草、杂物,病虫害防护等。

2018年“国际大体联世界杯及亚洲大体联亚洲杯中国大学生足球选拔赛”、2018年“亚洲大体联亚洲杯”安排6个比赛场地和7个训练场地,由于场地需求数量增加,增加泉州理工学院、泉州轻工学院两个学校的足球场为赛事场地。目前,新建、改建、扩建场地正全力推进,所有场地建设(草坪)均按照国家1类场地标准建设。

记者 | 曾荣清、柯一凡

编辑 | 王韦

长按二维码 关注我们

广告合作:15860407999