
原发性胆汁性胆管炎(PBC)是一种免疫介导的慢性胆汁淤积性肝病,其特征是肝内小胆管的肉芽肿性破坏。该病有特异性的临床特点,主要好发于女性,年龄集中在40岁以上,几乎不在儿童中出现。PBC之所以被认为是一种自身免疫性肝病,是因为它有特征性的血清学标志物[抗线粒体抗体(AMA)]和胆道组织学上的特异性发现;但其发病机制尚不清楚。
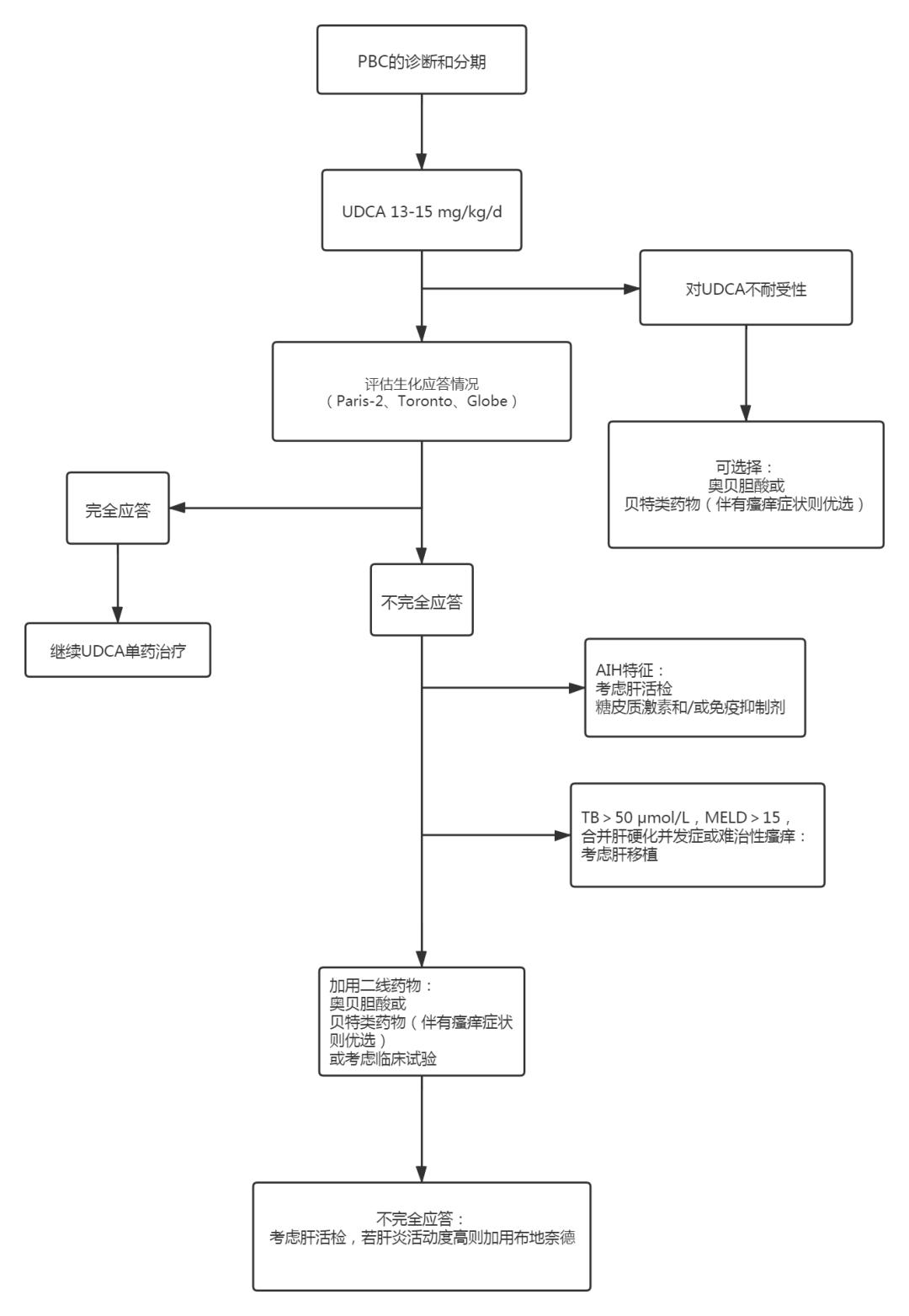
PBC的一线治疗
熊去氧胆酸(UDCA)是一种亲水性胆酸,是肠道细菌的代谢衍生物。UDCA具有多种潜在的作用机制,包括刺激胆道分泌疏水性胆汁酸和碳酸氢盐,后者可以保护胆管细胞和门周肝细胞免受内源性胆汁酸的毒性作用,这两种作用都有助于保护肝细胞,使肝细胞避免胆汁酸诱导的凋亡。
美国肝病研究协会(AASLD)指南和欧洲肝病研究协会(EASL)指南均建议将UDCA作为所有PBC患者的一线治疗药物,每日剂量为13-15 mg/kg,如果存在耐受性问题,可分次给药。
UDCA通常安全性良好,其最常见的副作用是胃肠不适,包括腹泻和消化不良,以及头12个月内轻微的体重增加。
UDCA治疗PBC的临床疗效已在多个临床试验中得到评估。使用UDCA治疗PBC的特点是改善肝功能指标、胆固醇和免疫球蛋白M水平,并延缓疾病的组织学进展,特别是在疾病的早期阶段时接受治疗。
尽管如此,但仍有30%-40%的PBC患者经UDCA治疗后应答不佳(生化指标并未改善不明显),并继续处于发生肝硬化的风险中,可能需要进行肝移植。然而,UDCA疗法应该终生使用,因为即使在生化指标未改善的情况下,其仍可以延长PBC的无肝移植生存期。
PBC对UDCA治疗不完全应答的定义
表1总结了八个定义PBC患者对UDCA不完全应答的标准及其主要研究结果(表1)。这些标准区分了对UDCA治疗达到“适当”应答的患者,这些患者人群的无肝移植生存率与对照组相似(与年龄匹配),而那些没有达到“适当”应答的患者发生肝脏相关不良事件的风险显著更高。
表1 PBC患者对UDCA不完全应答的定义研究

2015年和2016年分别又开发了两项评分模型:GLOBE和UK-PBC评分(表2)。
表2 UDCA治疗的PBC患者的连续预后评分

需要注意的是,Toronto标准是在UDCA治疗24个月后确定的,其目的是预测组织学分期进展,而不是临床并发症,而Paris-2标准是专门为处于疾病早期的患者制定的。
不完全应答者的管理
1. 治疗剂量和依从性
在得出任何关于治疗应答的结论之前,必须仔细评估UDCA疗法的正确剂量和患者的依从性。UDCA治疗PBC的推荐剂量为13-15 mg/kg/d。接受≤13mg/kg UDCA剂量治疗的患者,其生化指标应答率较低。
2. AIH特征
大约5%-10%的PBC患者可以同时或继发表现出与自身免疫性肝炎(AIH)相同或相兼容的生化、免疫学和组织学特征。这种所谓的“具有AIH特征的PBC”是两种不同疾病的表现还是仅仅是由于PBC异常活跃尚存争议,但专家们一致认为,患有这种疾病的患者,除了UDCA之外,还可受益于短期或中期的糖皮质激素和/或免疫*制剂抑**。
临床上,那些表现出氨基转移酶(>5xULN)和免疫球蛋白G(>20 g/L)异常升高的患者,经UDCA治疗后获得获得完全生化应答的几率较低,并有疾病进展和预后不良的倾向。因此,应该对所有UDCA治疗后未获得完全应答的PBC患者进行AIH特征评估。
3. 其他必须排除的共病
甲状腺炎和乳糜泻是自身免疫性疾病,可以与PBC共存,并与不治疗时肝功能指标异常相关。因此,对于对UDCA不完全应答的PBC患者,可检查其血清促甲状腺激素和抗谷氨酰胺转移酶抗体水平。
有研究表明,伴有非酒精性脂肪性肝炎(NASH)合并BMI≥25与PBC患者严重胆道损伤和纤维化相关。然而,目前尚未有研究确定对于PBC伴NASH特征的患者何时需要进行肝活检。
对于不完全应答者,是否该继续使用UDCA?
此前,很少有证据表明对UDCA不完全应答的患者能从持续治疗中获益。而在实践中,考虑到良好的安全性和药物耐受性,这种情况下的大多数患者通常会继续接受治疗。重要的是,近期对UDCA治疗和未治疗患者的大规模随访数据显示,在PBC中,即使对UDCA不完全应答也与更长的生存期相关,这表明部分生化指标改善可以转化为真正的获益。这些发现表明,无论其生化应答如何,UDCA治疗PBC必须长期持续。因此,所有优化PBC患者预后的策略最好与UDCA联合,而不是替代UDCA。
不完全应答者的后续治疗
迄今为止,只有两种药物——奥贝胆酸(OCA)和苯扎贝特被证明与UDCA联合给药后能有效改善PBC高危患者的生化预后指标。然而,尚未有研究证明这些药物的长期临床获益。尽管证据质量较低且不一致,但在对UDCA应答不完全的患者使用布地奈德也可能会获益,尤其是对于在组织学上表现出高度肝炎活性的患者。

图1 PBC的治疗选择
结语
在未来很长一段时间内,UDCA可能仍将是PBC的一线治疗药物。最近在治疗方面的突破,包括OCA和贝特类药物,已经扩大了有效二线疗法的范围,适用于对UDCA不完全应答或在极少数情况下不耐受的患者。新一代FXR和PPAR激动剂以及胆汁酸再摄取*制剂抑**等额外的选择应该是对PBC治疗的补充。预计在未来几年内,PBC中多种联合疗法的使用将显著增加。
医脉通编译整理自:Montano-Loza AJ, Corpechot C. Definition and Management of Patients With Primary Biliary Cholangitis and an Incomplete Response to Therapy [published online ahead of print, 2020 Jul 3]. Clin Gastroenterol Hepatol. 2020;S1542-3565(20)30926-5. doi:10.1016/j.cgh.2020.06.062
