一、仓储网络布局
- 园区基本情况
一般情况下:仓库的选址规划布局,主要根据订单量的区域分布及未来增涨潜力来进行需求评估,重点考虑的几个评估维度,如下:1、订单集中区域的周边车程范围(具体视库源,业务产品的时效属性而定);2、库房靠近高速路口,火车站,飞机场等交通枢纽附近,便于时效有保障;3、园区面积与可租面积,以及周边交通和园区内交通情况;4、签署公司的背景(是否有一手房东);5、产权信息,开发的渠道等。
- 库房资质情况
地使用证、库房产权证/与原出租方的租赁合同,允许转租的证明、消防验收合格证、建设用地规划许可证。
- 库房硬件评估
消防等级、屋面、墙体隔热层、库房层数、库房净高、地面承重、月台库高度与长度、电容量需求、作业停靠场地宽度、消防门洞。
- 库房的交付情况
仓库的交付时间、交付标准,以及园区内外部的配套评估,如园区内外交通要道的宽度,基建要求,绿化路灯,排水等。
- 库房成本标准
目标仓库资源的仓租成本与周边行情对比情况,包括:税票开具点数及类型,退税政策(如保税仓),免租期等信息。
- 库房评估及租赁审批流程
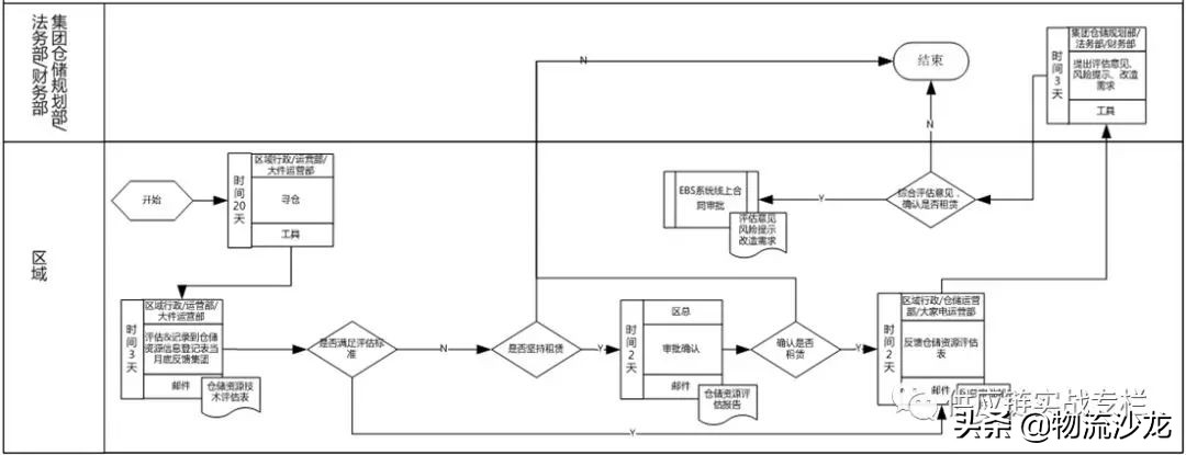
1.合格仓库评估及租赁标准流程
a.寻仓:仓储运营部/区域行政根据开仓计划寻找仓储资源。
b.区域初评:仓储运营部/区域行政评估目标仓源是否符合评估标准,无论资源是否通过评估,将仓源基础信息记录至《仓储资源信息登记表》月底反馈至集团仓储,规划,行政部。
c.仓源信息反馈:完全符合标准的仓源由仓储运营部/区域行政参考仓储资源基本信息反馈内容,提交图纸、照片、仓库基础信息和问题风险评估报告至集团规划部、法务部和财务部。
d.集团技术支持:集团规划部、法务部和财务部根据基本信息综合评估,形成评估意见、风险提示、改造需求等反馈仓储运营部/区域行政。
e.线上合同审批:区域行政线上提交合同审批申请时,需将技术评估意见、改造需求及风险提示作为合同附件一并提交,作为合同审批的参考。
2.特殊仓库评估及租赁标准流程
a.寻仓:仓储管理部/区域行政根据开仓计划寻找仓储资源。
b.区域初评:仓储管理部/区域行政评估目标仓源是否符合评估标准,无论资源是否通过评估,将仓源基础信息记录至《仓储资源信息登记表》月底反馈至集团。
c.区域审批:如因其他因素,虽然仓库不完全符合评估标准,但仓储管理部/区域行政确定租赁,则需邮件提交特殊仓库租赁审批申请及仓库评估报告至区总,审批通过后方能进行下一步流程。
d.仓源信息反馈:区域负责人审批通过后,由仓储管理部/区域行政参考仓储资源基本信息反馈内容,提交区区域负责人审批邮件、图纸、照片、仓库基础信息和问题风险评估报告至集团规划部、法务部和财务部。
e.集团技术支持:集团规划部、法务部和财务部根据基本信息综合评估,形成评估意见、风险提示、改造需求等反馈仓储管理部/区域行政。
f.线上合同审批:区域行政线上提交合同审批申请时,需将技术评估意见、改造需求及风险提示作为合同附件一并提交,作为合同审批的参考。
3.仓库评估技术规范
评估标准:
a.消防等级不低于丙二级,已通过消防验收或可与业主签订消防备忘录(明确消防责任)。
b.屋面墙体有隔热层。
c.库房层数满足要求,中小件仓最多为双层库,大件仓为单层库(坡道库除外)。
d.库房净高不低于7.5m,一般为灯下有效净高,中小件仓不低于9m,FDC仓、大件仓不低于7.5m。
e.地面承重不低于3吨,表面无起灰、无裂缝,不起灰判断方法:用钥匙或钢钉等比较尖锐的硬物用力划过地面,不会有明显的掉粉现象。
f.月台库,地坪抬高尺寸0.8m-1.5m,若为外置月台,径深不少于4m,带雨棚。
g.外排水系统,库内无管道裸露,不会发生漏雨、滴水、渗水现象。
h.满足电容量需求,中小件仓不小于150kw/万m2,大件仓不小于120kw/万m2电容需求。
i.停靠场地回车宽度不小于35m。
j.允许我方对库房进行改造,包含但不限于地面、墙体、屋面打孔、安装隔离网、货架、输送线、监控摄像头等;新建恒温库、内建房、叉车充电点位等。
k.无明显自然灾害隐患、周边环境无安全隐患,自然灾害包含但不限于洪涝、山体滑坡等,周边环境包含但不限于治安、污染、辐射等。
l.有转租或授权租赁资质,如签约人非产权人或土地使用权人,必须提供转租或授权租赁证明。
m.有国有土地使用证/集体土地使用证且土地用途符合仓储用地性质(如为仓储用地、工业用地等),必须提供资质,同时确保土地用途符合国家土地管理办法,不得为农用地、住宅、林地等,避免租赁违建库房。
n.已办理产权的情况下,提供房屋所有权证,如未有,则需提供建筑工程施工许可证、建设工程规划许可证、建设用地规划许可证、竣工备案表以证明该房屋符合国家报建手续,可以办理相关产权资质。
o.有消防备案证明或消防验收证明,择一提供,以确保可通过消防检查。
p.可签订《租赁合同》,如签订《仓储服务合同》,存在税务风险,且后期申请营业执照时必须签订《租赁合同》。
4.仓储资源基本信息反馈内容
a.图纸、照片需求。
b.CAD图纸需求。
c.库房所在园区平面图(注明区域出入口和行车路线)。
d.建筑设计平面图、剖面图、立面图、屋面图、电气图。
e.建筑设计平面图包含消防栓、剪刀叉位置和数量。
f.标注防火墙位置以及门的位置。
g.建筑设计平面务必包括灯具位置和数量。
h.建筑施工图设计说明。
i.照明需求:包括但不限于园区出入口、园区道路、月台、物流门、墙体、立柱、屋面、地面、防火分区门、剪刀叉、照明灯具、消防管道、动力柜等。
J.交通信息图:
以百度地图或google地图标注园区或仓库在所在城市的位置以及与原有园区的地理位置,做决策参照。
5.汇总仓库基本信息
- 租赁情况,包括租赁面积、拓展面积、租赁成本、租赁时间、免租期等。
- 主体结构,包括建筑结构、屋面、采光带、墙面、层数、地面、有效高度、立柱、剪刀叉、库门、防火分区、月台、雨棚等。
- 园区情况,包括主路、库间距、围墙、安保、其他等。
- 卫生间,包括园区内部、库房内部。
- 叉车充电区。
- 消防系统,包括消防等级、喷淋系统、消防栓等。
- 排水系统,园区内外周边等。
- 电力系统,包括电容量、发电机、动力柜等。
- 通风系统。
- 防雷系统。
- 网络系统。
- 照明系统,包括灯具高度、灯具密度、灯具类型、灯具功率、聚光罩、照明控制等。
- 地理位置。
- 证件报告,包括《建筑工程消防设计审核意见书》、《建筑工程消防验收意见书》、《建设工程抗震设防要求审批表》、《电气设备验收报告》、《基础建筑材料证明》、《房屋产权证》、《营业执照》、《组织机构代码证》、《税务登记证》等。
- 库房存在问题及风险。
- 不限于库房基础条件、业主方、商务、运营、安全等方面的问题及风险。
6.表格资料档案
档案一:《仓储资源评估表》
档案二:《仓储资源信息登记表》
7.库房资源审批流程图

二、仓库功能定位及规划设计
- 库房的功能定位
库房的功能定位主要取决于:计划存储商品的SKU数,件型,以及对库房温度,湿度,光照,进出货频次等需求的综合评估。
- 库房的基本要求
1.库房外围必须有围墙并且在2米以上的高度。
2.库房基础建筑结构必须是钢结构、混凝土建筑。
3.园区、库房必须有独立的消防车出入通道,并保持畅通无阻。
4.库房必须经过当地消防部门验收,防火等级符合标准不低于丙二级。
5.库房周边1000米内无易燃易爆场所如:鞭炮厂、液化气场站、加油站等。
6.库房内无漏雨、渗水的现象,物业方必须有紧急排水系统且排水管道为外置。
7.新建房必须经过电气设备验收,并有验收报告,老房屋必须有消电检当年报告。
8.库房必须设有消火栓、防火分区、烟感、手动报警器等设备,蓄水池容积充足、消防管道水压达标。
9.仓库地势不得处于低洼处,没有良好的排水性,存在灾害性气候造成积水、滑坡或泥失流等不可抗力风险。
10.新仓门窗必须设有防护设施,窗户必须离月台平面3米以上且带有防盗网装置。
- 租赁时须具备的库房租赁文件

- 以下库房、园区禁止租赁
1.即将*迁拆**或有改造计划的物业房屋。
2.库房主体结构比较简易的铁皮房屋。
3.库房涉及诉讼及进行抵押的物业房屋。
4. 个人无任何手续转手私自进行租赁的房屋。
5.库房或园区所有权不明确或有争议的物业房屋。
- 库房周边区域环境安全标准
1.仓库地势不得处于低洼处和背靠斜坡下,具有良好的排水性,不存在灾害性气候造成积水洪涝、滑坡或泥失流等不可抗力风险。
2.仓库园区到市政主干道路段注意不得有涵洞等低洼积水路段,通行高度不低于4.5m,所经过桥梁设计通过载重重不小于50T。
3.库房周边1000米内无易燃易爆场所,如:鞭炮厂、液化气场站、加油站、危险品库等。
4.园区、库房必须有独立的消防车出入通道,道路通过单向不少于2车道,并保持畅通无阻。
5.库房外围必须有围墙,并且在2米以上的高度。
- 仓库功能区管理
库房功能区一般分为:月台、收货区、入库暂存区、理货上架区、流通加工区(拣货区、复核区,打包区)、出库交接区、逆向处理区(临期产品处理区、退货待上架区、退备件区)、仓储管理区。
注意事项:行业经验来看收货区,入库暂存区操作面积需相对较大,有利于收货高峰期货物的分区识别,有序,先进先出管理。
- 进出货方式
库房的进出货流动有三种方式:“U型流动”,“直线型流动”,“T型流动”,单边或多边月台进出货模式,月台相向分布居多,最大边设置月台收发货区最利于货物进出,路径最短,中转效率更高;楼层库则主要视进出车型占比及大部分车型的周转半径需求,来定进出港设计方案。
- 自动化程度
随着人工成本及自动化水平的提高,仓储管理自动化,智能化是未来的大势所趋。自动化立体仓是目前行业水平较高,应用最广大的自动化存储出货系统,简称AS/RS。一般来说,是由高层货架,堆垛机,输送机,机算机管理系统与控制系统等组成,对仓储管理从业人士而言,有必要了解行业相关设备参数及功能,为自动化仓库发展提前做好准备。
三、库房运营管理全流程
- 预约入库系统
主要操作流程:开始——提前预约——送货准备——到货登记——卸货码货——排队叫号——验收商品——扫描评价——签单交换——结束。
主要系统模块:预约系统,实现供采销或供应商下单预约送货的功能,包含SKU及数量明细,承运商,增值服务预定等详情。
- WMS系统
主要功能模块:基础资料、异常处理,入库、在库、出库、内配出库、单据状态跟踪、单据打印、详情查询、搬仓......
1.详情查询包括:库存查询,积压查询,业绩查询,功能查询(入库查询,在库查询,出库查询),历史查询,应急报表,B计划入库报表。
2.入库模块:包括入库积压查询,验收查询,上架积压查询。
3.内配模块:内配复核积压查询,内配积压查询,内配箱发货积压查询,内配复核容器积压查询,内配发货积压查询,内配订单发货结果查询。
4.出库模块:包括客户订单积压查询,包括未生产,已生产未发货等。非客户订单积压查询,包括已拣货未复核,已复核未打包。复核积压查询,非客户订单发货积压查询,拣货积压查询,打包积压查询,拣货合流积压查询。
5.在库模块:立库任务查询(缺货待补货,上架等信息),生产波次挂单查询。
- 综合物质管理系统
对于日常运营的可回收包装耗材,如编制袋,保温箱,周转箱,周转笼,卡板等中转容器,建立线上化管理系统,提高使用率,降低物质管控成本。
- 设备选型
办公网络设备:扫描枪,打印机,标签机,电脑,主机,笔记本,AP,服务器,监控,机房,空调......
搬运设备:平衡重叉车,电动托盘车,手动液压叉车,称重一体化叉车,流水线,称重量方一体方设备,提升机,分流器,流水线,分拣机机器人,交叉带分拣机,AGV导引车......
存储及生产设备:高/低位货架,堆垛机,穿梭车,拣货车,打包台,复核台,物料输送线......
消防设备:一般包括消防车、警报器、灭火机、消防泵、水池、水井、消防栓、沙土箱、水带、水枪、消防水桶及铁锨、斧、梯子等,不同的消防等级需要配备的消防设施有一定差别。
四、作业标准流程体系搭建
仓库管理主要分为:入库,在库,出库,交接发货四个环节的管理。
- 预约入库流程:
核对预约供应商信息——点数——逐件验货——录收货系统——单据交接(实收,退回信息备注)
建立送货预约系统,权限开放给采销,仓储管理人员与采销就入库节奏及在库商品的滞销情况,进行数据可视化管理。入库的核心环节包括:

核心KPI及关键词:供应商满意度、入库SLA时效、上架及时率
供应商满意度:供应商就入预约,入库全流程的整体体验与感受,包括排队,处理时效,流程复杂度,休息区等具体因素。
预约达成率:即供应商预约送货日期及时间范围内的实际达成情况,此指标监控有利于人力等弹性资源的配备的有效使用性。
收验货成功率:计划上架数与实地符合上架成功率。
上架及时率:日送货批次内已验货待及时上架的比率。
上架准确率:周盘,月盘及部分产品的日盘机制需要系统性,持续性进行,至于盘点方式是全盘还是抽盘视SKU复杂情况或金额来定。
作业准确率:单次作业的准确程度,直接决定了运营效率及客户体验的好坏,尤其在收货环节的清点,验货,上架储位的正确程度都是确保库存正确,保障效率的关键。
结算单回传及时率:当批次收验货单据及系统信息回传及时情况。
- 在库流程:
在库管理主要流程:包含理货——上架——存储三个管理环节,辅助管理上需要统一库内的可视化标识,制定标准化作业SOP,精益化管理注重的经济,高效,安全性运营监控。
具体内容含:库房储位管理,各种逻辑标识,巷道,储存区(高值区,爆品区),生产区,物质耗材区,设备充电区,监控室,自动化设备中控室,员工休息区,办公区等的系统性规划,管理。
几个核心点把控好:
库区设计上对于收验货暂存区及月台的需求面积一般较大,主要考虑到供货集中时,对区域的分区管理收验交接需要的时间较久,这是作业环节的属性决定,所以设计时需要重点考虑。
爆品区存储的皆是畅销商品,存储时需离生产打包区足够近,便于拣选,加快生产出货的节奏。
储位的管理上需要按照库区规划标识的逻辑对应到位,一般情况下储位管理按:库房号——分区——货架号——层数——第几储位来进行所存储SKU与储位的系统绑定,如12-A-3-1-5(12号库房—A区—第3排货架—第1层货架—第5个储位),便于RF枪获取拣货或上架任务时,能指引操作人员准确,及时的进行补货或拣选商品的操作。
分区管理的规划上,不是分区越多越好,主要视场地的具体长,宽,高结构以及所存储SKU商品的种类及数量来综合考虑,
环节KPI及关键词:万元损/万件损、盘盈亏、病单率
- 货物损耗率=货物损耗额(量)/货物保管总额(量)的百分比
- 库存周转率:库存周转天数=时间段天数x(1/2)x(期初库存数量+期末库存数量)/时间段销售量;库存周转率=360/库存周转天数
- 期间货物吞吐量:期间内进出库货物的问题,常以吨或者箱表示。
- 单位面积存储量:日平均存储量/库房或货物使用面积
货物存储的质量指标:
- 帐物差异率=帐物相符笔数/账面储存总件数的百分比。
- 收发货差异率:收发货差错累计笔数(重量)/期内储存总件数(重量)的百分比。
- 平均保管损失=保管损失金额/平均储存量
- 设备完好率=完好设备台日数/设备总台日数的百分比。
货物储存的效率指标:
- 仓储面积利用率=仓储的有效堆放面积/仓储总面积。
- 仓库生产效率=员工平均每日收发货货物的笔数,员工平均保管货物的吨数等指标来评价。
资金使用效率:
- 单位货物固定资产平均占用量=报告期固定资产平均占用量/ 报告期平均货物储存量
- 单位货物流动资金平均占用量=报告期流动资金平均占用量/报告期平均货物储存量
- 流动资金周转次数=年仓储业务总收入/全年流动资金平均占用额。
- 流动资金周转天数=360/流动资金周转次数
- 出库流程:
主要作业流程:拣货——复核——打包——发货,在整个出库管理过程中,调度分单人员需要过程性观测复核积压情况进行实时调度单品或多品订单的分配比例,确保拣货及复核环节的衔接,链条顺畅有序。另外在生产整个环节,需要不断关注波次清零如何有效保障,分区拣选合流生产模式或爆品生产模式的拣选模式切换,更需要实时视情况进行调整,这个过程中分单一定要考虑避免拣选人员过渡集中于其中一个分区,因为巷道宽度有限,太多集中反而影响拣选商品的效率。总之出库与入库环节的上架,拣货路由最化的设计规划,需要综合考虑各种因素,实现系统建议型分单逻辑,这样就可以解决生产调度员不足或培训不到位导致效率不高等问题,也可以实现系统化分单作业,降低成本及可能性的差错问题。
核心KPI及关键词:订单履约率、包装差评率、工单率
人效:对于拣货,复核,打包,发货等岗位,进行量化,多劳多得考核,建立线上绩效系统,实时动态通报达成情况,主动挖潜内部效率,实现降本增效。
时效指标:在JIT准时制生产模式下,同一波次的拣货及时率,复核及时率,打包及时率,发货及时率,全程履约率,通常都是衡量生产时效的指标。
质量指标:拣货,复核,打包准确率,打包合格率,如包装差评,工单等。
- 交接发货环节:
交接发货环节主要流程按发货路由,直发或串提合流发货至一二级分拣中心,再按属地化分拣中心进行向下中转至配送站点进行投递。
核心KPI及关键词:
错发率:实物订单未按指定路由进行集装发运,导致A目的地订单错发至B目的地的情况。
落货率:当波次截单发运的订单,未当波次中转发运,导致滞留现场或下一个波次进行流转的情况。
包装差评率:对包装要求不严谨,或未能满足客户对商品包装的期望,从而出现的不良评价或建议。
随着企业仓储向仓储企业的转型加快,加之电商进一步发展,对外部客户服务能力的满足情况,需要进一步强化服务能力,做好过程性监控,包括不限于以下核心指标:订单履约率,工单率,包装差评率,仓储错货率,供应商满意度,入库SLA时效,退供合格率,库存准确率等服务指标的能力建设。
五、运营团队建设
- 仓储管理架构:
一般仓储管理部分为:运营和职能两条线管理。
运营线分:独立园区化管理及单仓管理模式,单仓管理一般架构按四个环节设组来管理,具体视单仓规模大小及人员工作饱和度等因素,决策是否整合入库组与在库组为一个单位来管理。

流程管理图:

运营线功能包括:入库作业、在库存储、出库作业,发货作业;对外增值服务有:入仓服务、客户挖潜、减亏止损,时效定制仓,存储服务,操作服务,存储价保等。
职能线功能包括:运营支持、商业服务、处理异常;对外增值服务有:产品商服,对外赋能,外部服务。
如何打造好团队建设,确保运营的顺畅、高效且持久,这是一门内容极其丰富的管理学,在这里就不过多赘述,借鉴我们经常听到的管理学9字,简洁归纳:“搭班子,定战略,带队伍”,粗浅理解上从以下几个层面加以适当扩展,由于理解有限,请大家一起完善,共同进步。
- 愿景:外部对标行业,围绕供应商树立仓储管理团队共同愿景,如开放,共赢,合作等理念与实际相匹配的具体举措;内部承上启下,找准定位和客户服务方向,如上游为下游服务,下游为上游把关等管理理念,协作实现整体效益最大化。
- 目标:制定部门管理人员竞争力考核目标,预警目标,进行逐级拆解绑定月度,季度,年度绩效考核,并建立复盘机制跟行业水平进行对比,激发调动团队内部对极致服务目标的追求
- 氛围:引导情绪管理,梳理管事逻辑,内部营造信任,敢于担当,勇于创新,业绩上比学赶超的活跃氛围,形成主动自驱型组织。
- 培训体系:俗话说制度管人,流程管事,内部建立一系列作业人员岗前培训,业务技能升级培训,文化建设上强化价值观培训,员关和文宣的体系化梳理,形成常态化机制,重点关注落地的能力。
- 考核排名机制:对全流程,各岗位进行职责梳理,尤其上架,拣货,复核,打包,发货环节尽可能实现计件量化考核,强化排名意识,营造多劳多得,争先创优的氛围,充分调动员工作业积极主动性,挖潜并提升组织效率。
- 团队激活:BOSS模式+对赌协议,给管理创新,降本增效培植土壤。
- 运营质量监控机制:
- 报告制度:建立内部日报,周报,月报,季报,年报,行业分析报告,复盘业绩达成与深度工作思考。
- 会议制度:早会,夕会,周例会,月度经营分析会,年底战略规划会。
- 正式与非正式场合的沟通交流。
总结
随着供应链市场整合能力的加强,专业化水平的提高,企业专注于核心能力的打造,仓储管理未来趋势是单一的企业仓储管理向服务型的仓储企业方向转型,仓储服务产品化,竞争市场化会越来越突显;随之发展的云仓模式,DIY定制化服务,园区场院化管理,生产环节自动化管理都是未来仓储管理的营收增涨方向,无论是赋能外部,还是整体及部分业务的代运营,接下来会越来越专业化,仓储管理环节催生的产品:商务仓,经济仓,时效仓,冷链仓以及操作分级,存储分级,增值服务都会应运而生......
作者 | 陈金刚
来源 | 供应链实战专栏
此文系作者个人观点,不代表物流沙龙立场