1、在企业中,如何规范员工上网呢?一般会用到上网行为管理设备,以下对H3C的上网行为管理设备进行实例配置,如下图为小编在企业网络中做的部分上网行为策略

举例,如下图,针对源地址和目的地址,对所有应用方向,当然

当然,企业网络管理者可以针对部分应用,进行拒绝动作:

如拒绝迅雷*载下**

为规范web网页内容,可以针对*彩博**,游戏,木马病毒等web网页进行拒绝动作

2、另外,小编发现企业部分腾讯游戏流量占用挺多,员工摸鱼,故单独对部分游戏应用多了拒绝策略,如下图:

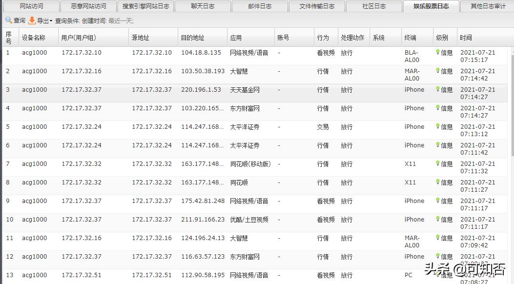
3、另外,我部署了一台日志服务器,访问后可以查看到行为管理设备所产生的日志(要先配置行为管理策略)
如下图:



用户暂时是IP地址,可以在企业内部部署域控,然后在行为管理设备获取域控的用户,这就可以实现将IP地址显示形式变为企业员工。如果企业员工数量不多也可以在行为管理设备创建本地用户与IP关联。
用户暂时是IP地址,可以在企业内部部署域控,然后在行为管理设备获取域控的用户,这就可以实现将IP地址显示形式变为企业员工。如果企业员工数量不多也可以在行为管理设备创建本地用户与IP关联。
下期将为大伙带来“2、配置行为管理设备的认证服务器,通过域控用户实现认证”
针对本章节,如果有不懂的或者遗漏的大伙可以留言,如想知道怎么部署日志服务器等,小编会针对评论多的点进行回复或者做教学
尽量每天分享企业IT知识,以后防火墙篇做完了会为大家带来网络行为管理篇(H3C、深信服),还有无线控制器(AC+AP),都是以企业在用设备实际案例为背景,希望大家多多关注哈