近期餐饮企业纷纷在香港递表,掀起餐饮企业在香港的IPO热潮。据港交所文件,“初代网红”绿茶餐厅——绿茶集团有限公司通过港交所上市聆讯,联席保荐人为花旗与招银国际。一旦上市,绿茶餐厅将成为继海底捞、九毛九之后,又一家要走向资本市场的餐饮企业。

绿茶集团是中国领先的休闲中式餐厅运营商,自2008年创设至今,绿茶餐厅凭借超高的性价比和爆款菜品,在全国开设了上百家门店,成为诸多年轻人的网红打卡地。仅2021年,绿茶集团就开设了59间新餐厅,前九个月营收逼近17亿元。截至目前,绿茶集团经营236间餐厅,公司计划于2022年及2024年每年开设75至100间新餐厅。

资料显示,绿茶餐厅凭借16亿元的总收入,占据中国休闲中式餐饮市场0.5%的市场份额,排名第四。然而,纵使绿茶餐厅成为了资本市场的新贵,但在商标问题上却一直问题频发。

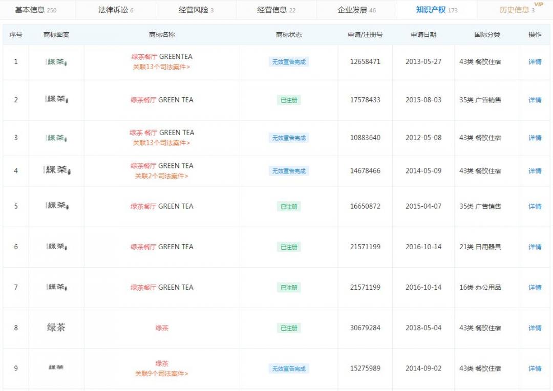
据企查查APP资料显示,绿茶餐厅关联公司杭州绿茶餐饮管理有限公司早在2005年起就开始注册与“绿茶”有关的商标,国际分类涉及43类餐饮住宿及35类广告销售。不过,这些商标的注册均遭遇瓶颈,其中文字商标“绿茶”“绿茶 GREEN TEA”“杭州绿茶餐饮管理有限公司”及图形商标绿茶状态均显示为无效,只有一件“绿茶;GREEN-TEA”商标状态为“驳回复审中”。

绿茶餐厅商标之所以难以注册,主要是由于该商标名称的特殊性。“绿茶”这个词是一种茶的俗称,类比“红茶”“乌龙茶”等。作为一种类别的总称,“绿茶”一词商标申请注册成功的难度极高。

直到后来,绿茶公司在其他城市成立了分公司,经过多年持之以恒的复审车轮战,最终拿下了43类“绿茶 餐厅GREEN TEA”商标。自此,绿茶餐厅的“绿茶”相关商标便注册在了分公司名下。而此前,绿茶餐厅一直处于无商标经营的状态,这也就导致了大量的山寨餐厅前来攀附其热度。

2020年9月,杭州绿茶餐饮管理有限公司召开发布会,宣布向全国30多家“山寨”绿茶餐厅以及餐厅场地提供方提出诉讼。这些“山寨”绿茶餐厅除了装修风格、菜单样式、员工服饰等方面完全照抄杭州绿茶外,有地区的“山寨”餐厅甚至还借用杭州绿茶的名号加盟招商,收取高额加盟费。

只因商标未成功注册,绿茶餐厅被诸多山寨餐厅蹭热度,维权之路道阻且长,品牌形象也因而受到了损害。绿茶餐厅因商标问题屡遭山寨事件也为众多经营者敲响了警钟,企业在品牌成立之初,在品牌名称的选择上一定要再三思量,避免因商标缺乏显著性而无法注册,从而影响了品牌的发展。选择品牌名称时,应该结合企业特有的文化进行独创性设计,这对商标通过审核帮助很大,更有利于品牌的长久发展。
【温馨提示】文中部分图片及素材来源网络,版权归属原作者,若有不妥,请联系告知修改或删除,谢谢!