继索尼在周五公开PS5视频后,ResetEra论坛网友brokenswiftie发现,PS5主机、Dualsense手柄、HD 摄像头、PULSE 3D无线耳机组上都包含由PlayStation标志性的( X O □ ∆ ) 符号组成的表层材质。

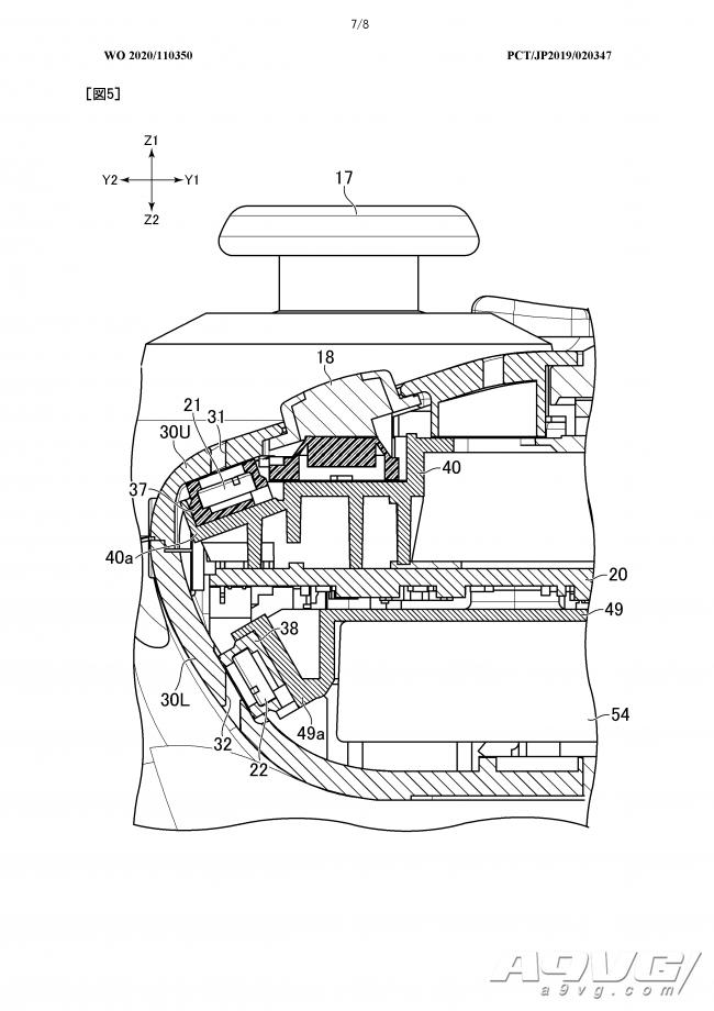
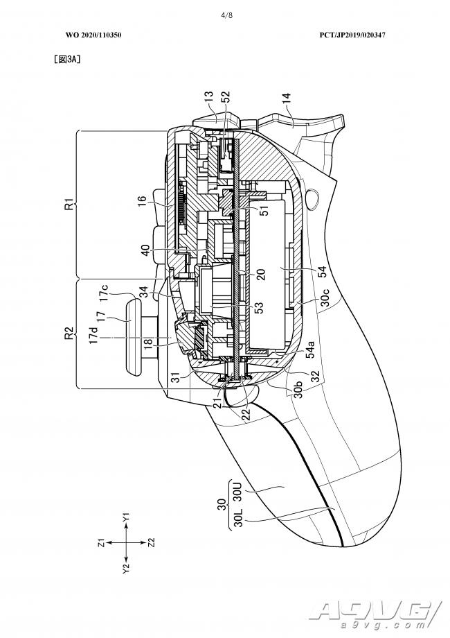
外媒Playstationlifestyle最近发现了PS5手柄DualSense的专利页面,其中显示手柄将支持语音输入,能通过麦克风阵列获取用户语音,并通过先进的降噪技术减少其他环境音的干扰。

你可以点击这里查看PS5发布会的完整内容汇总,DualSense手柄除了外观方面的变化以外,还将支持触觉反馈、自适应扳机、“Create”按键、内置麦克风阵列等功能,具体详情请点击此处。
