要说起中小排量运动型跑车大家可能第一时间想到的是川崎的Ninaj 400,的确Ninja 400自从推出后收到了不少跑车迷们的追捧,双缸,排量适中,价格还公道所以会有不少人选择。

而在这个级别中其他厂家也有竞争车型,最近日本媒体就爆出了本田新款双缸CBR300R的消息,从消息中来看一直并未改款的本田CB300R将会全新升级双缸发动机,或将提升更大的排量来提高竞争能力。

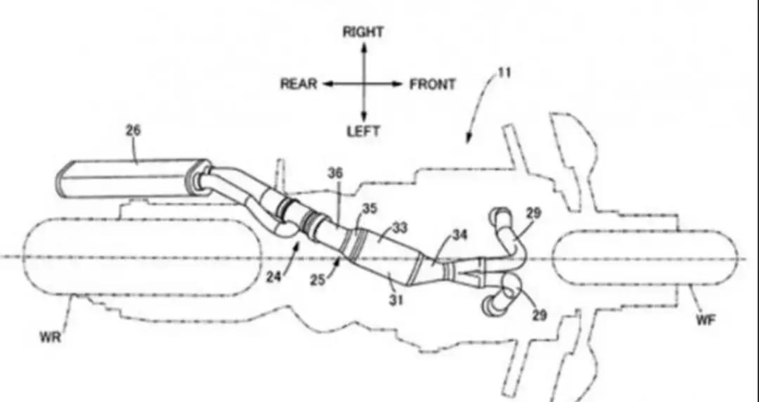
虽然现在还只是在专利图的阶段,但是可以明显的看到由原来CBR300R的平台换上了一台双缸发动机。

不仅如此,根据外媒的报道新款的CBR300R在排气方面也会做一些较大的改变来应对更加严格的排放标准,而在动力方面很有可能超过300cc来提高CB300R的竞争力,而在马力方面也很有可能将会超过40匹,之前单缸款的CB300R的马力为30.4匹。

而在车型定位方面全新的双缸CBR300R也将会和运动小钢炮CBR250RR区分开来,之前单缸的CBR300R一直走的就是廉价的入门亲民车型,所以在设定上也不会像CBR250RR那样极致,而新款的双缸300R将会继续延续高性价比的路线,来获得更多的入门级用户。
CBR300R(14款)

而在外观方面也很有可能跟CBR250RR接近,就如上图曝光的那样隐藏式的LED头灯和跟CBR650R一样的地区隐藏排气将有可能配备,当年的CBR300R可以说是较早引进国内的车型了但是由于是单缸加上当时的售价问题导致CB300R的不温不火。那么如果换成了双缸发动机后的平民小跑车你会喜爱吗?