华泰证券成立于1991年,是一家领先的科技驱动型综合证券集团。它的先进的交易软件是方便了众多的投资者,那么这到底是是一家什么样的券商呢,又与其他的券商企业又什么区别呢,我们今天就来了解一下这家公司。

2010年2月26日,华泰证券A股在上海证券交易所挂牌上市交易。2015年6月1日,华泰证券H股在香港联合交易所挂牌上市交易。2019年6月17日,华泰证券全球存托凭证在伦敦证券交易所成功上市交易,成为首家按沪伦通业务机制登陆伦交所的中国公司。自此,华泰证券也成为一家在上海、香港和伦敦三地上市的中国金融机构。
公司前身为江苏省证券公司,于 1990 年 12 月经中国人民银行总行批准设立,1991 年 4 月 9 日领取企业法人营业执照,1991 年 5 月 26 日正式开业。1994 年,经江苏省体改委批准,公司改制为定向募集股份公司。1997 年 6 月,公司更名为“江苏证券有限责任公司”。1999 年 3 月,公司更名为“华泰证券有限责任公司”。2007 年 11 月 29 日经中国证监会批准, 公司整体变更为“华泰证券股份有限公司”。
华泰证券是一家国内领先的科技驱动型证券集团,拥有高度协同的业务模式、先进的数字化平台以及广泛且紧密的客户资源。本集团从事的主要业务包括财富管理业务、机构服务业务、投资管理业务和国际业务。本集团搭建了客户导向的组 织架构及机制,通过线上线下有机结合的方式,为个人和机构客户提供全方位的证券及金融服务,并致力于成为兼具本土优势和全球影响力的一流投资银行。

华泰证券近些年来业绩稳定增长,主要营收从2017年的211亿增长到2021年的379亿,经营净利润从2017年的92亿增长到2021年的133亿。

华泰证券的营业收入构成主要是由财富管理业务和机构服务业务在,这两个业务贡献了绝大部分的利润。其中利润的主要形式是手续费和利息的收入,另外华泰的主要服务地区是江苏和广东东区,这两个省是国内经济最发达的省。

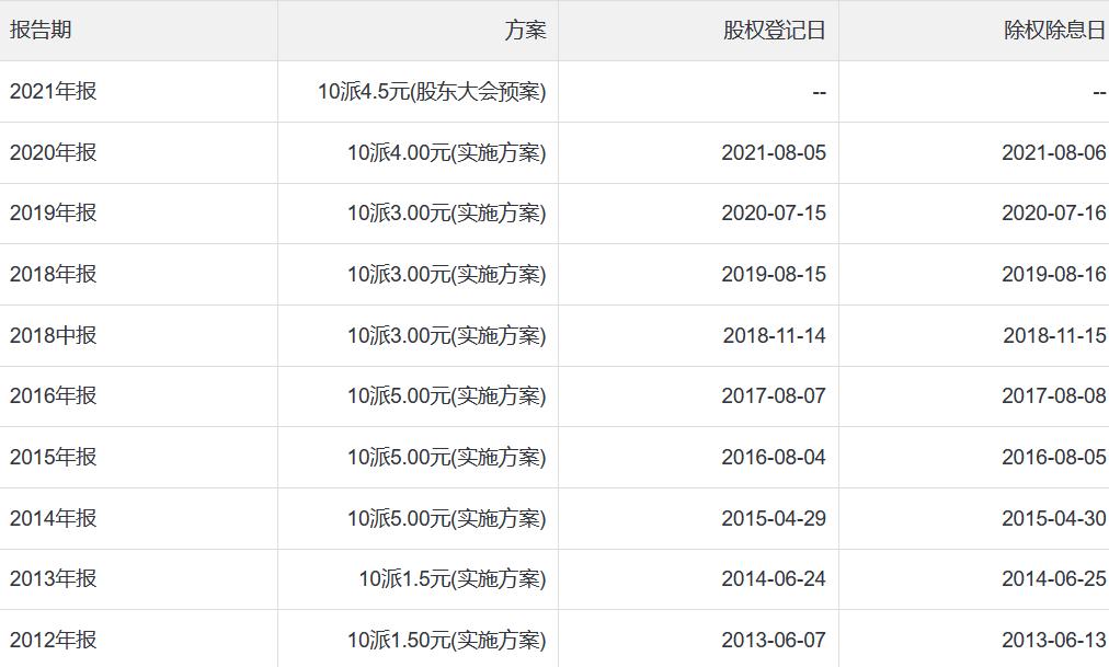
华泰的分红较为稳定,每年都会给予股东一定的分红。
#券商#