
关注【本头条号】更多关于制度、流程、体系、岗位、模板、方案、工具、案例、故事、图书、文案、报告、技能、职场等内容,弗布克15年积累免费与您分享!
1 零缺陷管理实施流程
零缺陷管理强调预防系统控制和过程控制,要求第一次就把事情做正确,使产品符合对客户的承诺要求。零缺陷管理的核心思想是基于企业宗旨和目标,通过对经营各环节各层面的全过程全方位管理,保证各环节各层面各要素的缺陷趋向于“零”。
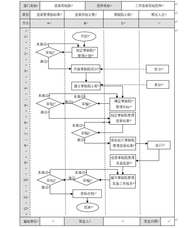
(1)零缺陷管理实施流程图

图6-3 零缺陷管理实施流程图
(2)执行关键
表6-6 零缺陷管理执行关键点
|
关键节点 |
细化执行 |
|
C5 |
零缺陷管理的目标一般有以下内容。 ◆ 所有环节都不向下一环节传送有缺陷的决策、信息、物资、技术活零部件 ◆ 每个环节、每个层面都建立管理制度与规范,按照管理程序实施管理 ◆ 每个环节、每个层面都必须具备对产品或工作差错的事先防备与事中修正措施 ◆ 管理系统应实现动态平衡,保证管理系统对企业的发展有最佳的适应性和最优的应变性 |
|
C6 |
质量标准编制要求有以下4点。 ◆ 指向性。直接面对要阐述的对象,避免出现于标准无关的词语和内容。 ◆ 执行方法描述完整。完整的显示原因和结果,以及指导作业人员进行具体操作的方法及得到的结果 ◆ 描述准确。避免出现抽象的形容性描述,应具体说明操作的执行标准,避免理解上的差异 ◆ 运用数字。尽量使用图表与数据,使相关人员都以相同方式解释标准 |
|
质量标准应包含以下4部分。 ◆ 制定履历,包括制定时的日期、修订时的修订原因、修订内容、修订日期等 ◆ 制定目的与适用范围,使用该标准的部门、场所、时间 ◆ 标准正文,即任务的具体实施方法 ◆ 附表附图,即附加说明的表格或图形 |
|
|
C9 |
零缺陷管理小组定期监测并评定质量标准的实际效果,检验方式有以下三种。 ◆ 审核方式,通过对生产记录、质量记录等文件的审核进行评价 ◆ 考试方式,通过抽取若干人员进行考试,考察其对质量标准的理解程度、运用质量标准及处理质量问题的能力等 ◆ 现场采访方式,通过对现场作业人员的交谈、观察,评价其对质量标准的认识与运用情况 |
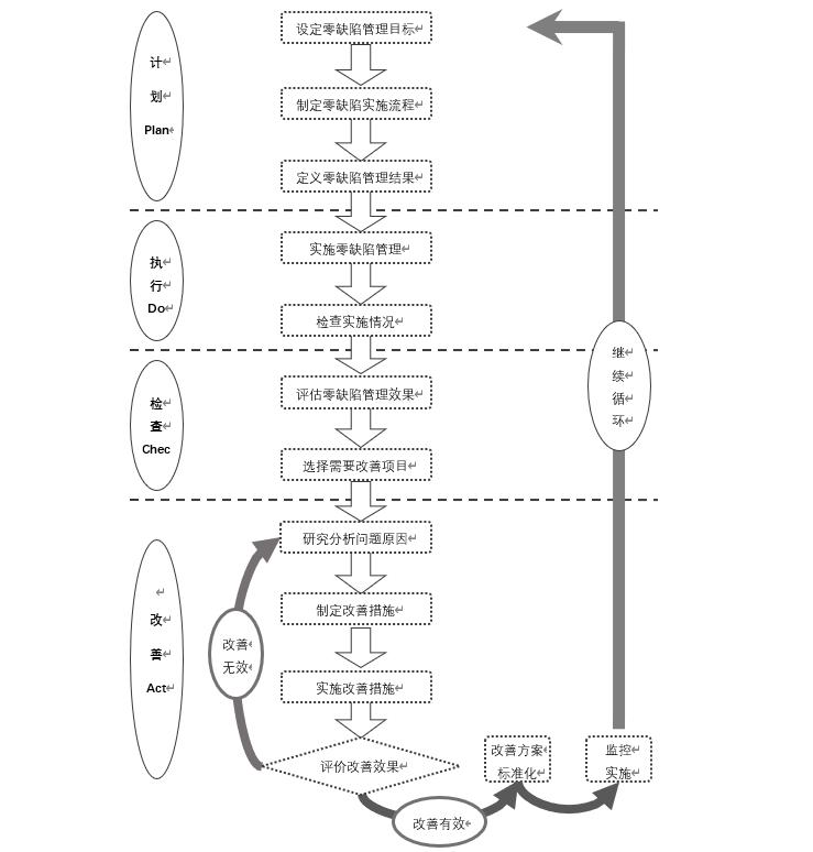
2 零缺陷管理改进循环
零缺陷管理可通过PDCA循环来针对差距与不足,进行不断改进、完善,循环往复,直至实现零缺陷。具体循环如图6-3所示。

图6-3 零缺陷管理改进循环
3 零缺陷管理操作方案
企业为了更好地做到零缺陷管理,应制定零缺陷管理操作方案,规范零缺陷工作的相关内容,对内部的每一个环节做到可控,下面是一则零缺陷管理操作方案,以供参考。
零缺陷管理操作方案
一、零缺陷管理目标
1.所有环节都不向下一环节传送有缺陷的决策、信息、物资、技术活零部件。
2.每个环节、每个层面都建立管理制度与规范,按照管理程序实施管理,消除漏洞。
3.每个环节、每个层面都必须具备对产品或工作差错的事先防备与事中修正措施。
4.以人的管理为管理中心,完善激励机制与约束机制,充分发挥每个员工的主观能动性。
5.管理系统应实现动态平衡,保证管理系统对企业的发展有最佳的适应性和最优的应变性。
二、零缺陷管理机制
生产部负责组建零缺陷管理小组,小组成员包括生产部人员、工艺技术部人员与质量管理部人员,由小组具体负责零缺陷管理的操作与改进工作。
三、零缺陷管理实施准备
(一)达成共识
零缺陷管理小组应保证工厂全部员工对零缺陷管理达成共识,积极参与零缺陷管理,具体应做到以下三点。
1.领导重视,坚持零缺陷管理的推进与实施。
2.管理人员了解质量改善程序,认识到质量管理的重要性,并鼓励员工加强质量管理。
3.员工对质量要求严格,追求零缺陷。
(二)宣传推广
零缺陷管理小组可通过以下方式进行宣传推广。
1.海报宣传。
2.张贴标语。
3.厂内广播。
4.开设质量管理相关培训课程。
四、零缺陷管理操作流程
(一)制定零缺陷管理质量标准
工厂全体员工达成共识后,经总经理批准,由零缺陷管理小组负责制定零缺陷管理质量标准。
1.质量标准编制要求
①指向性。直接面对要阐述的对象,避免出现于标准无关的词语和内容。
②执行方法描述完整。完整的显示原因和结果,以及指导作业人员进行具体操作的方法及得到的结果。
③描述准确。避免出现抽象的形容性描述,应具体说明操作的执行标准,避免理解上的差异。
④运用数字。尽量使用图表与数据,使使用人员都以相同方式解释标准。
2.质量标准内容
质量标准应包含以下五部分。
①制定履历,包括制定时的指定日期、修订时的修订原因、修订内容、修订日期等。
②制定目的。
③适用范围,使用该标准的部门、场所、时间。
④标准正文,即任务的具体实施方法。
⑤附表附图,即附加说明的表格或图形。
(二)检验质量标准实施结果
零缺陷管理小组定期监测并检验生产季度和产品质量,评定质量标准的实际效果。
1.检验方式
①审核方式,通过对生产记录、质量记录等文件的审核进行评价。
②考试方式,通过抽取若干人员进行考试,考察其对质量标准的理解程度、运用质量标准及处理质量问题的能力等。
③现场采访方式,通过对现场作业人员的交谈、观察,评价其对质量标准的认识与运用情况。
2.检验期限
每年至少进行一次对质量标准的实施情况的评价。
(三)采取纠正措施
1.零缺陷管理小组在检验过程中发现问题后,应清查所有本类事物,并分析造成的原因。
2.针对问题组织相关人员进行讨论,寻求纠正措施,并制定改进方案。
3.组织实施纠正与改进方案,并由零缺陷管理小组对其执行进度和效果进行追踪验证。
(四)修订标准
根据追踪,验证改进方案可行后,零缺陷管理小组根据实际情况检查质量标准是否有必要进行修订,若需要,则应按规定对质量标准进行修订,并由总经理审核批准后生效。
#弗布克#质量管理#零缺陷管理#制度#标准#
领取本资料的Word、PDF版完整内容方法:
1.本资源编号:2860。
2.关注+评论+转发,然后私信“资料”。