财经类专业每年都是热门专业,一提到金融,大家都认为这是一个最能赚钱的行业,动辄几百万年薪的人才,都是出自于该专业。
我国有很多实力强大的财经院校,但没有一所是985。大家公认的两所实力最强的财经类大学,一所是位于首都北京的中央财经大学,另外一所则是位于魔都上海的上海财经大学。这两所大学的录取分数非常高,甚至超过了很多985大学,说明考生的眼睛还是雪亮的,如果被这两所大学录取,"钱"途无量。

很多高分考生一定会纠结,这两所学校都是211,所在城市都为一线,实力也不相上下,究竟报考哪一所呢?下面,我就带着大家来了解下,我国实力最强的两所财经大学,看看这两所学校,大家更喜欢哪一所。
1 历史底蕴
中央财经大学是教育部直属高校,国家世界一流学科建设高校,211工程大学。学校始建于1949年,创办之初由财政部主管,校名先后为中央税务学校、中央财政学院;1952年,与北京大学、清华大学、燕京大学、辅仁大学的经济系科合并成立中央财经学院,由高等教育部主管;1996年,中央财政金融学院更名为中央财经大学;1998年,在中央财政金融干部学校基础上成立的中央财政管理干部学院并入中央财经大学。

上海财经大学,教育部直属的研究型重点大学,国家首批世界一流学科建设高校,211工程大学。学校源于1917年南京高等师范学校开设的商科,是中国人自主创办的第一所研究商学的高等学府。此后历经国立中央大学商学院等阶段,1932年独立建校,定名为国立上海商学院,1985年更名为上海财经大学。

从历史底蕴来看,上财是一所百年老校,历史悠久,央财比它建校晚了三十多年。文化沉淀对比,上财占优。
2 学科评估
中央财大共有9个学科参与教育部第四轮学科评估,从结果来看,应用经济学获评A+,全国只有三所大学得到A+,另外两所是北京大学和中国人民大学,这也是财经类院校中唯一获得的A+学科。其他财经类学科像理论经济学、统计学等,获评B+,还算是不错。

上海财大也有9个学科参评,从结果来看,没有A+,但有3个A类学科,分别是应用经济学、工商管理和统计学,比央财多一个。在B类学科中,上财和央财旗鼓相当,不分上下,对于211工程院校来说,实至名归!

学科均衡度上,上财稍占优势,学科实力厚度上,央财稍占优。
3 就业率和升学率

上海财经大学2020届毕业生的就业率数据来看,本科生就业率达到了88.68%,研究生的就业率达到98.75%,总体就业率为94.01%。升学率上,本科生为26.26%,研究生为4.27%,总体达到13.72%。

从专业来看,保险学、金融学、统计学等3个专业就业率达到了100%,这是非常不错的成绩,说明读这所大学,如果你填报这几个专业,是不愁找不到工作的。
就业率没有达到80%的专业一共有2个,分别是物流管理和经济学(基地班),这两个专业要注意"避坑"。

中央财大的2020届毕业生中,本科就业率达到86.17%,升学比为28.29%。对比上财,不难发现,升学央财占据优势,就业上财占优势,这也从侧面证明了上海才是我国的经济中心,读完本科就想就业,选择上财错不了。

从专业来看,税收学、贸易经济等7个专业就业率达到100%,就业率排在后面的物流管理、翻译、法学、英语等专业,都是在70%以下,这些专业都是教育部公布的红牌专业,共有5个,要注意避坑。

从就业率和升学率对比,以及两所学校的优势专业和劣势专业,从这几个表中大家可以看得一目了然,选择的时候要多留心。
4 毕业生薪酬
中央财经大学的薪资

上海财经大学薪资:

两所学校一对比,不难发现,上财毕业生的薪资水平要比央财毕业生高出1000元左右,虽然同属211大学,但薪资的差别,还是会让考生在选择的时候多一些倾斜。
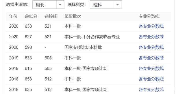
5 录取分数线
我们以湖北省理科为例,上财在2020年最低分为651分。

而中央财经大学在湖北(理科)的最低录取分为638分,两所学校差13分之多,高分考生更青睐于上财,而且分数远远高于部分985高校,像中国农业大学、西北农林科技大学等。

财经类院校的两所金字塔尖:上海财经大学和中央财经大学,都是实力非常强大的院校,学科实力都超过同类其他院校。
如果高考分数都达到了这两所院校的录取分数,你是选择上财还是央财呢?