“今日芯声”是读芯术推出的一档简读栏目,汇聚每日国内外最新最热的AI应用资讯,敬请关注。

1、难以启齿,就让AI来!这款聊天机器人专为青少年解惑“性事”

现在的青少年在成长过程中会不可避免地受到互联网的影响。许多父母觉得性是一个难以启齿的问题。但Planned Parenthood发现,青少年也不会非常主动地在社交媒体上求助。
“他们不会问谷歌,也不会问YouTube和Facebook。因为他们觉得谷歌在监视自己,Facebook也几乎无所不知。他们不想让别人知道自己问了什么,”Planned Parenthood数字产品实验室的高管Ambreen Molitor在今天的Transform 2019人工智能大会上说道。
Planned Parenthood的聊天机器人Roo就专注于解答性和性健康方面的问题。Roo发布于今年一月,它旨在解决美国性教育方面的缺失,某些州的政策比较宽松,互联网上的错误信息较多——这些信息可能源于谷歌或者其他的论坛。
这个聊天机器人的设计就像平时的消息应用一样,用户可以发送文字信息,然后就会得到回答。其实许多青少年有很多问题,但不知道从何问起,Roo的询问环境就非常安全。
Molitor表示,Roo可以在网页端直接使用,因为某些青少年用户其实不喜欢在手机上装太多应用。用户可以从常见的问题列表当中寻找答案,也可以浏览*慰自**、怀孕和节育等方面的话题。最后他们也可以选择匿名提问。
Molitor表示,Roo会预先设置好提问,帮助用户引出自己的问题,同时它还能预测用户潜在的疑问。例如许多人喜欢在Roo上询问,某种特殊的经历或感受是否“正常”。
Planned Parenthood无法知道用户之前是否使用过Roo。同时它没有任何缓存信息,也不需要用户的定位,这也是它在努力保护用户的隐私。
在推出不到半年的时间里,Roo上面的提问已经接近80万个。青少年占据了81%的流量,Roo的用户中有60%属于有色人种。
青少年有了问题不找别人求助,却找人工智能帮忙,这多少有些讽刺。但人类注定是有偏见的——年轻人群需要空间来验证自己的价值和判断。

2、中国互联网协会电子竞技工作委员会正式成立

IT之家消息,中国互联网协会电子竞技工作委员会成立会议暨“数字电竞与智慧经济”电子竞技行业峰会在2019年中国互联网大会第三日召开,会上宣布了中国互联网协会电子竞技工作委员会正式成立,并公布相关职能和工作任务。
该工作委员会旨在认真研究相关行业产业发展规划,积极倡导电子竞技行业自律和规范,推动行业关键技术和服务能力的提升,组织电子竞技行业标准的制定,促进电子竞技行业的交流与合作,开展电子竞技竞赛和公益活动等工作。
“中国互联网协会成立电子竞技工作委员会是非常有意义的事情。”国家体育总局科研所电子竞技研究室主任杨越表示,这次大会是电子竞技产业发展的一个新起点,是电子竞技科技讨论的新起点,是电子竞技学术研究的新起点。

3、垃圾分类机器人来了:每分钟可分拣80件

对塑料、玻璃和纸张等可回收废弃物进行分类是一项人们不介意交给人工智能的工作。而一些废弃物处理公司已经开始部署并利用人工智能训练的机器,从而对废弃物进行快速准确分类。
这些不知疲倦的高效设备所从事的工作枯燥、肮脏,已经在不少仓储和其他行业企业确立了主力地位。
位于美国佛罗里达州萨拉索塔的Single Stream Recyclers LLC公司每天处理多达350吨的可回收废弃物。该公司上周表示,计划在现有6台机器人的基础上再增加8台AMP Robotics公司生产的机器人。有了这些机器的帮助,其回收操作将能够实现大部分自动化。
企业共同所有人约翰·汉森(John Hansen)表示,这种由科罗拉多州路易斯维尔市AMP Robotics公司定制的机器每分钟可以分拣80件物品,大约是普通人分拣速度的两倍。自动化设备解决了回收中心长期存在的人员短缺问题。招聘废弃物分拣员需要Single Stream Recyclers公司从人力资源代理公司指派一名全职员工来发布招聘广告,还需要该公司向所招聘的分拣员支付10美元至12美元的时薪。
“平台可以完成95%废弃物的分拣工作。”汉森说。他说,AMP Robotics机器人的“速度是普通机器人的两倍,而且不会出错。”
密歇根州安娜堡资源回收系统公司(Resource recycling Systems Inc.)高级顾问凯里·桑德福德(Kerry Sandford)说,美国和加拿大只有不到5%的居民垃圾回收中心使用机器人分拣机。
AMP Robotics开发机器学习软件,并将其添加到来自第三方供应商的现成机器人中。这些定制化机器人有一个抓握手臂、视觉传感器和保护附近员工的安全笼。机器人内置的算法通过海量的图像进行训练,包括水瓶、啤酒罐、牛奶罐、食品包装盒等各种各样的可回收废弃物。而图像数据库包含了这些回收物完好无损、有凹痕以及被压碎等各种状态。传感器利用计算机视觉扫描快速移动的物体,通过颜色、质地、形状、大小和材料来区分物体。机器人的附件利用吸盘从传送带上抓取物品,并将其扔进相对应的垃圾回收箱。
AMP Robotics首席执行官兼创始人马塔尼亚·霍洛维茨(Matanya Horowitz)说:“只要人能识别的东西,我们的系统都能识别。”“所有的系统都可以集体学习。所有的机器人都在向全国不同的机器人学习。”
AMP Robotics在美国部署了24套类似系统。预计到今年年底,这一数字将翻一番。
今年4月,南卡罗来纳州伯克利县(Berkeley County)开设了一家回收设施,配置了9台来自人工智能开发商Bulk Handling Systems的回收机器人。Bulk Handling Systems也使用现成的机器人来执行其专有的人工智能算法。
Bulk Handling Systems位于俄勒冈州尤金市,伯克利县是这家技术开发公司最大的单一部署地。市场营销总监Peter Raschio说,该公司总共在10个国家部署了84台机器人,分拣塑料、金属、纸张和其他可回收废弃物。
该公司所开发回收系统的成本约为每台20万美元。AMP拒绝透露价格。
汉森说,Single Stream Recyclers公司可能需要18个月到4年的时间才能收回投在AMP机器人上的成本,具体时间取决于产量、市场价格和其他因素。
机器人开发人员还一直在竞相研发下一代回收技术:在拥挤的传送带上对纸张和其他二维物体进行分拣。
今年4月,Bulk Handling Systems部署了升级版的分拣纸张机器人,提高了识别重叠纸张、部分可见纸张和塑料的能力。AMP Robotics今年5月也对机器人产品进行了升级:这种由人工智能“大脑”引导的双功能机器人能够探测更多区域,可以识别快速移动传带上重叠的纸张。

4、苹果最新专利流出,让自动驾驶汽车实现无线充电

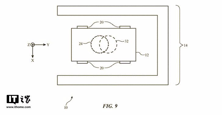
IT之家7月12日消息 说起无线充电人们一般都会想到手机的无线充电,不过近日苹果公司则已经申请了电动汽车的无线充电专利。该专利名为“无线充电校准系统”,苹果在专利申请文件中还描述了一款可能采用了辅助转向推进系统以实现停靠的汽车。此外,在该专利文件中苹果还为大家描述了这款汽车是如何使用连接到车身的无线电力接收器进行充电的。
一旦汽车停放到位,车身周围的无线电力发射器将自动为汽车充电。耐人寻味的是,这项专利申请提到了Apple的高级硬件工程经理Jeff Alves和一位名为Derryk Davis的产品设计工程师,除此以外在专利文件中还提到了Special Projects Group的电力工程师Hunter Wu,之前曾担任WAVE公司的首席科学官。
众所周知苹果公司正在开发一款自动驾驶的电池动力汽车,其最近收购了一家自动驾驶汽车初创公司Drive.ai。尽管如此,目前并没有更多有关苹果自动驾驶汽车发布的信息,不过据最新的一份报告显示苹果的自动驾驶电池动力汽车将会在2023年前对外发布。
预计图中的这款带有自动泊车功能的汽车主要依靠的是控制电路进而让转向和推进系统将车辆停放在停车位中,而后无线电力即可从停车位中的无线电力发射器传输到车身内部的无线电力接收器。在这一过程中控制电路可以使用传感器在停车充电期间对汽车周围物体的距离进行测量。
关于自动泊车功能先前宝马公司就曾研发出一款可自动泊车的宝马5系。不过苹果公司似乎是将无线充电嵌入停车位当中,整体而言更像是一款大号的“充电盘”。当车停靠在无线充电停车位充电时就如同人们平常将手机放置在无线充电盘上充电那样,只不过这一过程都是自动化的。
目前传统的电动汽车往往依靠车主手动将充电器插入汽车充电口,苹果公司的新专利让未来“停车即充电”成为可能。不过将电力接收器与电力发射器对准是非常关键的,如果操作不当则很有可能会对汽车造成严重损坏。

留言 点赞 关注
我们一起分享AI学习与发展的干货
素材来源:新浪科技、搜狐科技、凤凰网科技、虎嗅网、钛媒体等
(加入圈子,一起讨论新鲜的人工智能干货)
(此处已添加圈子卡片,请到*今条头日**客户端查看)