这是一颗频率为11.0592MHz的晶振,肯定有人会问,它的数值为什么不直接取整,或者直接用12MHz呢?如图1

图1 11.0592MHz晶振
今天,我们就来探究这个问题。在电子通信领域,标准的通信波特率如图2

图2 标准波特率及串口设置方式
而在串口通信时我们使用定时器T1作为波特率发生器,设置串口的工作方式1或3,波特率的计算公式如图3

图3 波特率计算公式
带入相应的数值,得出只有时钟频率为11.0592MHz的时候定时器的初值才可以取整。如图4.

图4 频率为11.0592MHz时
我们尝试使用12MHz的晶振,此时定时器的初值均取近似整数,这样就为通信带来了误差。如图5

图5 频率为12MHz时
这也是为什么在串口通信时,单片机均使用11.0592MHz的晶振的原因。
另外一个值得探究的问题是,11.0592MHz的晶振是被如何制造出来的?

图6 晶振是如何制造出来的?
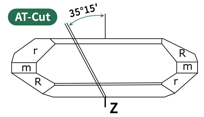
我曾经提到过,晶振是人们将石英晶体按一定的方位角切割后,增加外壳封装而成。切割的角度及打磨的精度决定了晶振的频率及温度特性。大部分的晶振均采用AT切割的方法制造而成,其它的切割方法诸如BT、CT、SC、音叉型等,它们代表着不同的切割角度或切割方式。而AT切割时,它的切割面与Z轴成35°15′角。如图7

图7 AT切割示意图
这种石英晶片具有良好的频率-温度特性,它的特性曲线在一定的温度范围内对称,且25℃为曲线的拐点。因此被广泛应用于数MHz到数百MHz的晶振。如图8

图8 AT切割的频率-温度曲线
而需要得到某一频率的晶片,则先通过控制切割的厚度尺寸得到一定频率范围的晶片,如图9

图9 第一步,切割
研磨切割面使晶片的厚度符合要求,进一步提高频率精度,最后在切割面电镀银层,实现频率微调,这样就得到了我们想要的频率值。如图10、11

图10 研磨,提高频率精度

图11 电镀银层,频率微调
最后,请大家思考一下另一种我们常用的32.768KHz的晶振,它的数值32.768有什么特殊的意义呢?以及这种晶振采用的晶片切割方法是怎样的呢?

图12 思考问题