在螺丝行业中,当螺栓轴向力小于拧紧时的轴向力时,称为 "螺丝松动" ;本文主要介绍螺钉松动的原因和解决措施,希望对大家有所帮助;

一、螺栓的紧固状态;
由于螺栓和被紧固件都是弹性体,可以理解为非常强的 "弹簧" ;当拧紧螺栓后,螺栓变长(类似弹簧受到拉力而变长)产生"轴向-弹力",被紧固件变短(类似弹簧受到夹紧力而变短)产生"反弹力";

二、螺栓的松动;
螺钉松动大致可分为两种类型。内螺纹和外螺纹在相对松动方向旋转时发生的松动为 "旋转松动",以及即使它们不相对旋转也会发生的松动 "非旋转松动" ;

铁轨上松动的螺栓;
1.螺钉未旋转松动(螺钉的"弹力"减小),主要有以下几种原因;
①螺钉与被紧固件之间,以及两个被紧固件之间的粗糙接触面,在一定的振动、冲击后会出现摩擦而变得平滑,最终导致螺钉的轴向力减小;

解决措施:尽量减小各个接触面的粗糙度,避免被紧固件之间出现缝隙;使用一段时间后再次拧紧螺钉,就可以恢复螺丝的轴向力;
②在拧紧螺钉时,若被紧固件的屈服强度低于螺钉的屈服强度,则表面可能发生塑性变形,久而久之产生塌陷;最终导致螺钉的轴向力减小,出现松动;


解决措施:通过使用垫圈或法兰螺栓,加大螺钉与被紧固件之间的接触面积来解决;
③在一些有蜜蜂要求的场合,有 "密封垫" 安装在结构件中间;在一定时间后,密封垫的回弹性会下降,导致螺钉的轴向力减小,出现松动;

解决措施:使用一段时间后再拧紧螺钉,就可以恢复螺丝的轴向力;
④在几百度的高温下,由于螺钉与被紧固件的线膨胀系数不同,螺钉也可能会出现松动;

解决措施:为了防止螺钉的脱落,可采用双螺母和防松螺母;在温度较大的位置,螺栓和被紧固件可以采用热膨胀系数相同的材料;
2.螺丝旋转松动,主要有以下几种原因;
①当旋转轴中心是螺栓中心时,若旋转轴往螺栓拆卸方向旋转,则螺栓可能出现旋转松动;

解决措施:可使用开槽螺母,带销钉孔的螺栓及止动垫圈,以防止螺栓和螺母的松动;
②在垂直于螺钉轴向上施加一个外力(往复的、波动的外力),并引起位移时,则接触面会出现相对滑动,并导致螺钉旋转松动;

解决措施:可使用双螺母或预涂式螺钉(如耐落螺钉、P80螺钉),还可以采用螺钉锁固剂(如乐泰243胶水);
③当波动的载荷施加在螺栓轴向上时,也可能导致螺栓的旋转松动;

解决措施:采用更大规格的螺栓或增加螺栓的数量,以增大螺栓的轴向力;
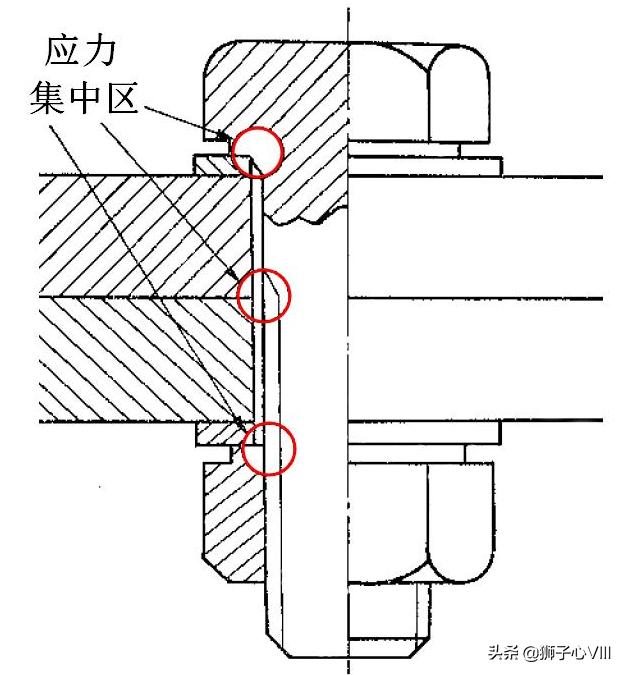
④在受到振动或冲击载荷时,螺栓与被紧固件的接触面等应力集中区会发生形变,导致螺栓松动;

解决措施:同样是采用更大规格的螺栓或增加螺栓的数量,以增大螺栓的轴向力;
这次的要点总结如下;
一、螺栓的紧固状态;
二、螺栓的松动;
1.螺钉未旋转松动的原因;
2.螺钉旋转松动的原因;