文/慧心引力佳
编辑/慧心引力佳
PDC(聚结金刚石复合)钻头是一种广泛应用于石油钻探领域的重要工具,然而,在复杂地层条件下,PDC钻头的冲蚀性能是其工作稳定性和寿命的关键因素,喷焊层是PDC钻头的重要部分,可以提供额外的保护和增强其耐用性,本论文旨在研究球形铸造碳化钨对PDC钻头喷焊层冲蚀性能的影响,以进一步优化PDC钻头的设计和材料选择。

PDC钻头的工作原理和冲蚀机制
PDC钻头的结构和组成
PDC钻头是一种聚结金刚石复合材料钻头,由多个重要组成部分构成,其主要结构包括刀翼、基体、背靠层和喷焊层。
刀翼是PDC钻头最关键的部分,它负责切削岩石和传导热量,刀翼通常由多个聚结金刚石切削齿片组成,这些切削齿片是由人造合成金刚石颗粒和金属结合剂制成的,聚结金刚石齿片在切削过程 中具有优异的硬度和耐磨性 ,可以有效地切削各种类型的岩石。
基体是刀翼的支撑结构,它通常由硬质合金材料制成,如钴基硬质合金,基体具有较高的强度和刚度,能够承受来自地层的高压力和冲击力,它还通过传导热量,帮助降低切削齿片的温度,以提高钻头的寿命和性能稳定性。

背靠层位于基体和喷焊层之间,起到连接和支撑的作用,它通常由金属材料制成,如钴合金,背靠层具有较高的粘结强度和耐磨性,可以有效地将刀翼和基体固定在一起,增强整个钻头的结构强度和稳定性。
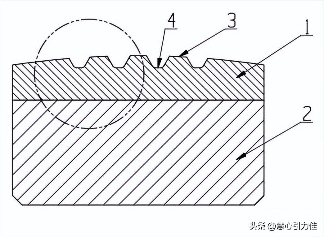
喷焊层位于刀翼表面,是PDC钻头的重要保护层,喷焊层通过喷射或涂覆一层材料在刀翼表面形成,常用材料包括碳化钨、钛碳化物等,喷焊层的主要作用是提供额外的硬度和耐磨性,以抵抗岩石冲蚀和磨损,它还可以增加钻头的抗切削能力和工作寿命,提高钻井效率。
PDC钻头的结构和组成是一个复杂而关键的系统,各个部分相互配合,共同发挥作用,刀翼提供切削功能,基体和背靠层提供支撑和连接,喷焊层提供保护和耐磨性。

PDC钻头的工作原理
PDC(聚结金刚石复合)钻头是一种广泛应用于石油钻探领域的重要工具,它由聚结金刚石(PDC)刀片和钻具钢体组成,PDC刀片是通过高温高压合成技术将金刚石颗粒与金属结合而成的硬质材料,PDC钻头的工作原理基于PDC刀片的特性。
在钻井过程中,PDC钻头被连接到钻柱的底部,通过旋转和下压的力来切削地层,PDC刀片上的金刚石颗粒与地层岩石发生摩擦和冲击 ,将岩屑切削下来,金刚石颗粒的硬度和尖锐度使其能够有效地穿透不同类型的地层。
PDC钻头的工作原理可以分为两个关键方面:切削和冲蚀PDC刀片上的金刚石颗粒在与地层岩石接触时,通过切削作用将岩屑切割下来,这种切削作用是由PDC刀片的结构和形状以及旋转和下压力的作用所决定的。

其次,PDC钻头在工作过程中还会面临冲蚀的挑战, 冲蚀是指地层中的泥浆和岩石颗粒对PDC刀片表面的磨损和侵蚀 ,这种冲蚀作用可能导致PDC刀片失去尖锐度和切削效率降低,从而影响钻头的性能和寿命。
为了提高PDC钻头的冲蚀性能,喷焊层被应用在PDC刀片表面,喷焊层可以提供额外的保护和增强刀片的耐磨性能,常用的喷焊层材料包括碳化钨、碳化钛等,这些材料具有优异的硬度和耐磨性,能够有效地抵御冲蚀作用。
综上所述,PDC钻头的工作原理基于PDC刀片的切削和冲蚀特性,通过旋转和下压力,PDC刀片上的金刚石颗粒能够切削地层岩石,并通过喷焊层的保护提高其冲蚀性能。

冲蚀机制分析
PDC钻头在钻探作业过程中,经常会面临复杂地层的冲刷和磨损,这主要是由冲蚀机制引起的,冲蚀机制是指在高速冲击和摩擦力的作用下,材料表面逐渐失去或剥落,导致材料的形状和性能发生变化的过程。
冲蚀机制可以分为物理冲蚀和化学冲蚀两个方面,物理冲蚀主要是由流体冲击、磨粒撞击和摩擦磨损引起的,在钻井过程中,钻头表面受到钻井液高速流动的冲击,形成喷流和涡旋,产生强大的冲击力,这些冲击力会导致钻头表面的微小凸起部分受到剪切和冲击力的作用,从而引起局部材料的剥落和磨损,此外,钻井液中的磨粒和岩屑也会与钻头表面发生撞击和磨擦,进一步加剧冲蚀的程度。

化学冲蚀主要是由酸性或碱性介质对钻头表面材料的腐蚀作用引起的,在一些特殊地层中,地层水或地层流体中的酸性或碱性物质会与钻井液相互作用,形成具有腐蚀性的介质,这些介质会侵蚀钻头表面的金属材料,导致材料的腐蚀失效和磨损加剧。
冲蚀机制的研究对于优化PDC钻头的设计和提高其冲蚀性能具有重要意义,通过深入了解冲蚀机制,可以选择合适的喷焊层材料、改进钻头的结构设计,以提高其抗冲蚀能力和延长使用寿命,此外,通过对冲蚀机制的研究,还可以制定相应的维护和保养措施, 减少钻头的冲蚀损失,提高钻井作业效率 。

PDC钻头喷焊层的作用和材料选择
喷焊层的作用
喷焊层是PDC钻头的关键部分之一,其作用是提供额外的保护和增强钻头的耐用性,喷焊层位于PDC钻头的刀翼上,通常由 一种耐磨、耐腐蚀的金属材料构成 ,喷焊层的主要功能有以下几个方面:
喷焊层可以提供机械保护,在钻井作业中,PDC钻头会受到来自地层中砂石、岩石碎屑等颗粒物的冲击和摩擦,喷焊层能够承担一部分冲击和磨损,减轻钻头本身的损伤,延长其使用寿命。

其次,喷焊层可以提供化学保护,在一些特殊地层环境中,存在一些腐蚀性的物质,例如酸性溶液、高温高压下的气体等,这些物质会对PDC钻头的金刚石颗粒和金属结构造成腐蚀和侵蚀,喷焊层作为一层密实的金属保护层,可以降低这些腐蚀性物质对钻头的侵害,提高钻头的耐腐蚀性能。
此外,喷焊层还可以增强钻头的切削能力,喷焊层通常具有良好的硬度和切削性能,能够更好地应对复杂地层的切削需求,喷焊层的硬度可以有效提高钻头的切削效率和工作稳定性,减少能量消耗和工作振动, 从而提高钻井作业的效率 。
总之,喷焊层在PDC钻头中具有重要的作用,通过提供机械保护、化学保护和增强切削能力,有效地延长了钻头的使用寿命,提高了钻井作业的效率和质量,喷焊层的材料选择和优化设计对于钻头性能的提升具有重要意义。

喷焊层材料的选择标准
喷焊层材料的选择标准主要涉及以下几个方面,喷焊层应具有优异的耐磨性和耐蚀性,以抵御复杂地层中的冲蚀和化学侵蚀作用,其次, 喷焊层还应具有良好的热稳定性和热导性, 以确保在高温和高压条件下仍能保持稳定性能,此外,喷焊层的结构应该致密均匀,没有气孔和裂纹,以提高其机械强度和防止介质渗透。
同时,喷焊层的粘结力也是一个重要考虑因素,应能够牢固地粘附在PDC钻头的基材上,以避免层与基材之间的剥离或脱落,最后,喷焊层的材料成本和可加工性也需要考虑,以确保在实际应用中具有经济性和可操作性,综合考虑这些标准,可以选择适合的材料作为喷焊层,如碳化钨、碳化钼、碳化铬等金属或合金材料,它们具有良好的热化学稳定性和抗腐蚀性能,可满足PDC钻头在复杂地层中的要求。

碳化钨在喷焊层中的应用
碳化钨在喷焊层中的应用广泛且重要,作为一种高硬度和高熔点的材料,碳化钨 具有出色的耐磨、耐腐蚀和耐高温性能 ,使其成为理想的喷焊层材料,在PDC钻头中,喷焊层被用于增加钻头的耐用性和抗冲蚀能力。
喷焊层中的碳化钨颗粒可以提供额外的硬度和耐磨性,以增加PDC钻头在高速旋转和摩擦条件下的寿命,碳化钨颗粒的高硬度可以抵抗磨损和划伤,从而延长钻头的使用寿命,此外,碳化钨还具有良好的耐腐蚀性能,能够在恶劣环境中保持喷焊层的完整性。
在喷焊层的制备过程中,将碳化钨颗粒与焊接粉末或焊接材料混合,然后通过喷射或涂覆的方法将混合物喷涂到PDC钻头的基材上,喷焊层中的碳化钨颗粒被牢固地固定在基材上,形成一个坚硬且耐磨的保护层。

碳化钨在喷焊层中的应用还可以通过调整颗粒的尺寸和含量来实现特定的性能要求,较大尺寸的碳化钨颗粒可以提供更高的冲蚀抗力,但可能降低钻头的整体强度,相反,较小尺寸的碳化钨颗粒可以 增加喷焊层的致密性和强度 ,但对冲蚀性能的提升可能有限。
总之,碳化钨在喷焊层中的应用能够显著改善PDC钻头的冲蚀性能,通过提供额外的硬度、耐磨性和耐腐蚀性能,碳化钨颗粒能够延长钻头的使用寿命,提高钻探效率,并降低维护成本,因此,在PDC钻头设计和材料选择中,碳化钨作为喷焊层材料具有重要的应用前景。
