
这年头,谁还不会点小魔术哇!





哈哈哈 小时候觉得会魔术帅呆了 我只需要 会变钱 这辈子都不愁啦
但是 我现在还没参透 给你说几个魔术的秘密吧
1. 人体漂浮中,其实助手躺在一个平台上,一根由地面延伸出来的支架支撑着平台,而魔术师会用脚巧妙地挡住它,而他脚下踩得就是控制支架升起的开关。平台边边会再多出弯曲的S型,所以能制造出圈圈穿过去的假象。
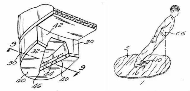
2. 人体漂浮魔术则是利用升降架,底部在地板处,而抬起的高度则是透明玻璃,真正操作的人是平躺着的助手。
哈哈哈 这就是所谓的漂浮
3. 由迈克尔杰克逊发明的反重力倾斜舞步,其实是鞋底有特制的凹槽,能够卡在舞台早就设计好的螺栓上。
4.自动跳牌 表演者把一副扑克牌展开,请助手随意从中抽出一张,例如,抽的是梅花K,表演者收回来把它高举起来,让观众看清楚。然后插入全副牌中,理成一叠,紧握在手中。他对着牌吹口气,那张梅花K竟自己从全副牌中跳了出来。 这个魔术的秘密就在这副牌中的两张牌,这两张牌每一张的正中穿了一个小孔,用一根20毫米长的橡皮筋贯穿两张牌的小孔之间,在橡皮筋的每一头都打一个死结。这样,橡皮筋就不会从小孔中脱出来了。表演的时候,把这两张牌的中间,并用力把橡皮筋压下去,再将全副牌捏紧,暂时不让它弹出来。吹口气后,将手指放松,抽出过的牌就被橡皮筋弹了出来,在观众看来,就好像是自动跳出来的一样。

想了解更多生活小常识吗 想知道更多有趣的东西吗 请添加下方微信公众号:
superwoman9520

您的分享是给我最大的支持,我会发更好的文章给您,如果您有任何需要可以投稿哦,么么哒。