一、石油钻机的组成
1.石油钻机的组成
目前,世界各国通用的常规钻机是一套大型的综合型机组,整套钻机是由动力系统(为整套钻机提供能量的设备)、传动系统(为工作机组传递、输送、分配能量的设备)、工作系统(按工艺的要求进行工作的设备)、控制系统(控制各系统、设备按工艺要求工作的设备)和辅助系统(协助主系统工作的设备)等若干系统和相应的设备所组成。

根据钻井工艺中钻井、洗井、起下钻具各工序以及处理钻井事故的要求及现代化技术水平的条件,整套石油钻机必须具备下列八大系统设备,如图2-1所示。

图2-1 钻机组成示意图
1―人字架;2―天车;3―井架;4―游车;5―水龙头提环;6―水龙头;7―保险链;8―鹅颈管;9―立管;10―水龙带;11―井架大腿;12―小鼠洞;13―钻台;14―脚架;15―转盘传动;16―填充钻井液管;17―扶梯;18―坡板;19―底座;20―大鼠洞;21―水刹车;22―缓冲室;23―绞车底座;24―并车箱;25―发动机平台;26―泵传动;27―钻井泵;28―钻井液管线;29―钻井液配置系统;30―供水管;31―吸入管;32―钻井液池;33―固定钻井液枪;34―连接软管;35―空气包;36―沉沙池;37―钻井液枪;38―振动筛;39―动力机组;40―绞车传动装置;41―钻井液槽;42―钻井绞车;43―转盘;44―井架横梁;45―方钻杆;46―斜撑;47―大钩;48―二层平台;49―游绳;50―钻井液喷出口;51―井口装置;52―防喷器;53―换向闸门
(1) 旋转系统设备:为了旋转钻具破碎岩石,钻机必须配备钻盘、水龙头等地面旋转设备,以及方钻杆、钻杆、钻铤、钻头等井下旋转设备。
(2) 循环系统设备:为了随时清除井底已破碎的岩屑和正常连续钻进,钻机必须配备有全套洗井液的循环设备。如钻井泵、地面管汇、钻井液和钻井液槽等,有的钻机还配备有钻井液净化设备、调配钻井液设备。在涡轮钻井中它还担负给涡轮钻具传递动力的任务。
(3) 起升 系统设备:为了起下钻具、更换钻头、控制钻头送进、下套管等,钻机还必须配备一套起升系统设备,它主要由以下设备组成:主绞车、辅助绞车(或猫头)、辅助刹车、游动系统(包括钢丝绳、天车、游动滑车和大钩)以及悬挂游动系统的井架组成。另外,还有起下钻操作使用的工具及设备(吊环、吊卡、卡瓦、大钳、立根移动机构等)。
(4) 动力驱动系统设备:为了使工作机获得足够的动力进行运转,必须配备动力设备及其辅助设备,如柴油机及其供油设备,或交流、直流电动机及其供电、保护、控制设备等。
(5) 传动系统设备:传动设备的主要任务是联接发动机与前三个工作机组,把发动机的能量传递并分配给各工作机。为了解决发动机与工作机二者之间存在的运动特性上的矛盾,要求传动系统应包括减速、并车、倒车、变速机构等。根据能量传递形式与传动所用的介质不同,传动系统又可分为:机械传动、液力传动(涡轮传动)、液压传动等。
(6) 控制系统设备:为了指挥各机组协调进行工作,在整套钻机中还装备各种控制设备,如机械控制设备(手柄、踏板、杠杆等)、气动或液动控制设备(开关、调压阀、工作缸等)、电控制设备(开关、变阻器、启动器、继电器等)以及集中控制台和观察记录仪表等。
(7) 机底座:包括钻台底座、机房底座和钻井泵底座等,车装钻机的底座就是汽车或拖车底盘。为了钻机的安装、运移方便,重型钻机多采用整体安装托运底座,即将动力、传动机构和绞车等设备都安装在一起进行托运。钻台上要装井架和转盘以及绞车的一部分或全部,钻台下要能容纳井口装置,所以底座需要一定的高度和面积。
(8)辅助设备:成套钻机还必须具备供气设备、供水设备、钻鼠洞设备、井口防喷设备、辅助发电设备及辅助起重设备,在寒冷地区钻进时还需要配备保温设备。

2.钻机各主要部件的相互关系
整套钻机除了地面设备外,还要有很多井下设备和部件,将这些设备部件按工艺要求安装连接,才成为一套完整的钻机。图2-2所示是一台转盘旋转钻机各主要部件的相互关系图。

图2-2 转盘钻机的各系统和部件
以上便是适应钻井工艺的要求而形成的钻机各系统和部件,它们有机地结合成一整套钻机,协调地完成生产任务。
二、钻机的类型及特点
世界各国的各大石油公司、各钻机制造厂家按照各自的特点,对石油钻机的分类不尽相同。一般来说,可按以下方法对石油钻机进行分类。
1.按钻井方法分类
(1)冲击钻机:如钢绳冲击钻机(也称为顿钻钻机)、地面发动振动钻机、爆炸钻井钻机、电火花钻井钻机。
(2)地面发动旋转钻机:如转盘旋转钻机(也成为常规钻机,是目前世界各国通用的钻机)、顶部驱动水龙头旋转钻机等。
(3)井底发动钻机:如井底冲击振动钻具、井底旋转钻具(涡轮钻具、螺杆钻具、电动钻具)。
2.按驱动钻头旋转的动力来源分类
(1)转盘驱动旋转钻机:也就是用转盘驱动钻具旋转的常规钻机。
(2)井底驱动旋转钻机:即转盘旋转钻机加井底动力钻具所组成的钻机。
(3)顶部驱动旋转钻机:即转盘旋转钻机加顶部驱动钻井装置所组成的钻机。
3.按驱动设备类型分类
(1)柴油机驱动钻机:以柴油机为动力通过机械传动(柴油机驱动—机械传动)或液力传动(柴油机驱动—液力传动)的钻机。
(2)电驱动钻机 :电驱动钻机又可分为直流电驱动钻机和交流电驱动钻机。直流电驱动钻机是指工作机用直流电动机驱动。用柴油机或燃汽轮机带动发电机供电,或从电力网供电。这种型式的钻机适用于海上钻井。
交流电驱动钻机包括:交流发电机(或工业电网)—交流电动机驱动钻机和正在发展中的交流变频电驱动钻机,即交流发电机—变频调速器交流电动机驱动钻机o
4.按工作机分组分类
(1)统一驱动钻机:绞车、转盘及钻井泵三个工作机由统一动力机组驱动。统驱钻机的功率利用率高,发动机有故障时可以互济,但其传动复杂,安装调整费事,传动效率低。
(2)单独驱动钻机:各工作机单独选择大小不同的发电机驱动。单驱钻机多用于电驱动,其传动简单、安装容易,但功率利用率低、设备笨重。
(3)分组驱动钻机:动力的组合介于前两者之间,将三个工作机分成两组,绞车、转盘两个工作机由统一动力机驱动,钻井泵由另一动力机组驱动。与单独驱动钻机相比,这种钻机的功率利用率较高,传动较简单,还可将两组工作机安装在不同高度和分散的场地上。
5.按主传动副类型分类
(1)V带钻机:V带钻机是指采用V形胶带作为钻机主传动副,多台柴油机并车、各工作机组及辅助设备的驱动及钻井泵的传动均采用V带完成o
(2)链条钻机:链条钻机是指采用链条作为主传动副,2~4台柴油机用链条并车,统一驱动各工作机组,用V带传动驱动钻井泵。
(3)齿轮钻机:齿轮钻机采用齿轮为主传动副,配合万向轴驱动绞车和转盘,或采用圆锥齿轮—万向轴并车驱动绞车、转盘和钻井泵。
6.按钻井深度分类
- (1)浅井钻机:钻井深度在1500m以下。
- (2)中深井钻机:钻井深度为1500-3000m。
- (3)深井钻机:钻井深度为3000—5000m。
- (4)超深井钻机:钻井深度为5000-9000m。
- (5)特深井钻机:钻井深度在9000m以上。
7.按使用地区和用途分类
(1)陆地钻机:也称为常规钻机,用于正常陆地勘探、钻井。
(2)海洋钻机:用于海上钻井平台。
(3)浅海钻机:用于0~5m水深或沼泽地区钻井。
(4)丛式井钻机:用于在一个井场或平台上钻出若干口井。
(5)沙漠钻机:用于在沙漠地区勘探、钻井。

(6)直升机吊运钻机:用于将钻机吊运到偏远的山地、丛林、岛屿或沙漠腹地等无地面公路,不适合地面行驶的油区钻井。
(7)小井眼钻机:用于钻探井口直径较小的油、气井,井眼直径为85.73mm,这种钻机由于井场面积小、井眼小、钻屑少,不需废泥浆池,所需装机功率低,因此,不仅可大幅度降低钻井成本,而且安全、环保。
(8)柔杆钻机:柔杆钻机是一种新型的钻探设备。它包括以环链牵引器为主体的地面设备、柔杆及储存装置、钻探电机三大部分。这种钻机是用电动机作为井底动力直接带动钻头旋转切削岩石和割取岩芯。用连续的柔性钻杆(简称柔杆)代替普通的刚性钻杆,由若干液压夹持器组成的环链牵引器夹持柔杆实现连续起下钻。
石油钻机均具有如下明显的特点:
- 第一,传动效率低,机械化自动化程度低;
- 第二,钻井操作是不连续的,其中辅助生产的起下作业耗费能量颇大;
- 第三,工作地区广阔(平原、山地、沙漠、沼泽、海洋),自然环境恶劣(风、沙、雨、雪),野外流动作业,因此,要求钻机有很强的适应地区、环境的能力和便捷的运移性能。
三、地面旋转设备
地面旋转设备是旋转钻机的重要组成部分,其主要功用是旋转钻柱、钻头、破碎岩石、形成井眼。它主要包括转盘、水龙头和顶驱钻井系统三大部分。
(一)转盘
转盘是旋转钻机的关键设备,也是钻机的三大工作机之一。转盘实质上是一个大功率的圆锥齿轮减速器。在钻进过程中,转盘的作用是把发动机的动力通过方瓦传给方钻杆、钻杆、钻铤和钻头,驱动钻头旋转,从而实现进尺,钻出井眼。在起下钻和下套管过程中,需要把管柱卡在转盘上进行卸扣。因此,始终保持转盘处于良好的工作状态,是快速优质钻井的必备条件之一。
1.钻井工艺对转盘的要求
(1)具有足够大的扭矩和多挡的转速。转矩用于转动钻柱带动钻头破碎岩石;高挡转速用于快速钻进,低挡转速是为了满足打捞、对扣、倒扣、造扣或磨铣落于井底的刮刀片、牙轮或其他物件等特殊作业的要求。
(2)具有足够抗震、抗冲击和抗钻井液腐蚀的能力,尤其是上轴承应有足够的强度和寿命,并要求其承载能力不小于钻机的最大钩载。
(3)能正、反转,且具有可靠的制动机构。
(4)转盘中心孔的直径应能满足通过最大号钻头。但也不能过大,否则会造成钻盘体积过大和井口操作不便,一般在525~600mm之间。
(5)转台面直径应根据中心孔直径、操作是否方便及吊卡尺寸等因素确定,一般以~,1000mm左右为宜。
(6)在结构上应具有良好的密封、润滑和散热性能,以防止外界的泥浆、污物进入转盘内部损坏主辅轴承。
2.转盘的结构组成

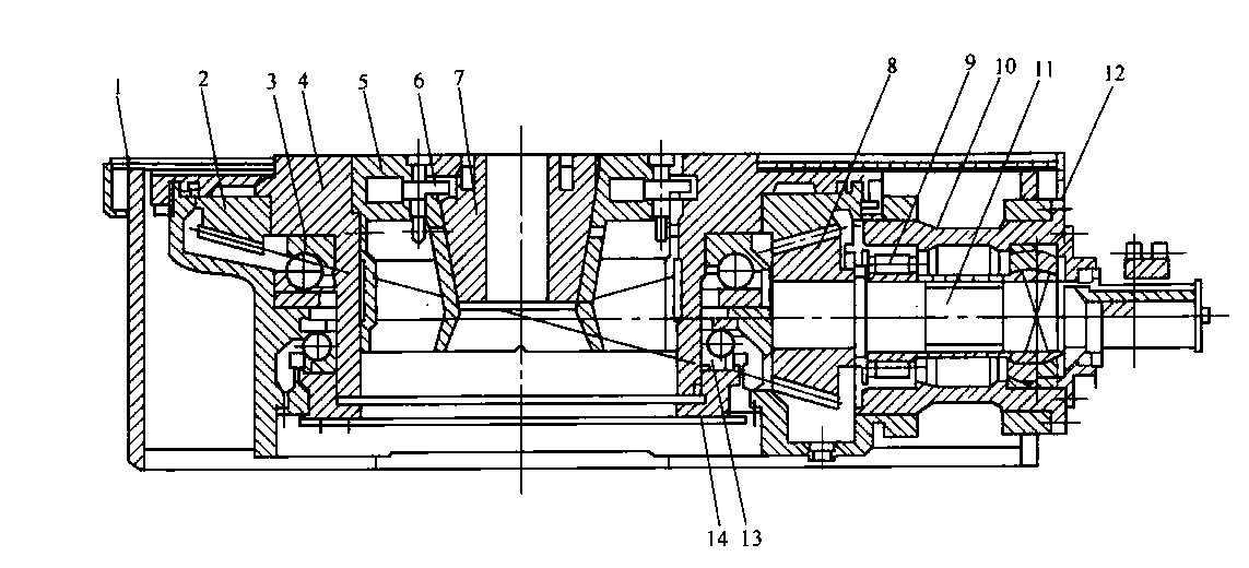
图2-3 ZP-700转盘
1―壳体;2―大圆锥齿轮;3―主轴承;4―转台;5―大方瓦;6―大方瓦与方补心锁紧机构;7―方补心;8―小圆锥齿轮;9―圆柱滚动轴承;10―套筒;11―快速轴(水平轴)12―双列向心球面滚子轴承;13―辅助轴承;14―调节螺母。
图2—3所示是我国深井钻机中广泛使用的ZP—275(in)转盘,也称为ZP—700型转盘,它主要由水平轴总成、转台体总成、主辅轴承、密封及壳体等部分组成。
(1)水平轴总成:水平轴总成主要由链条驱动的动力输入链轮或万向轴驱动的连接法兰、水平轴、小锥齿轮、轴承套和底座上的小油池组成。水平轴由两副轴承支承,靠近小锥齿轮的轴承是向心短圆柱轴承,它只承受径向力。靠近动力输入端的轴承是双列调心球面滚子轴承,它主要承受径向力和不大的轴向力。在水平轴的另一端装有双排链轮或连接法兰。小锥齿轮与水平轴装好后,与两个轴承一起装入轴承套中,再将轴承套连同套内的各件一起装入壳体。大、小锥齿轮之间的间隙可通过轴承套与壳体之间的调整垫片予以调节。
(2)转台总成:转台总成主要由转台迷宫圈、转台、固定在转台上的螺旋齿大锥齿轮、主轴承、辅轴承、下座圈、大方瓦和方补心等组成。转台体如同一根又粗又短的空心立轴,借助于主轴承座将螺旋齿大锥齿轮安装在壳体上。转台迷宫圈(两道环槽)装在转台外缘上,与壳体上的两道环槽形成动密封,防止钻井液及污物进入转台并损坏主轴承。转台是一个铸钢件,其内孔上部为方形,以安装方瓦,下部为圆形。
(3)主、辅轴承:主轴承起承载和承转作用。静止时,承受最重管柱重量;旋转工作时,承受主要由方钻杆下滑造成的轴向载荷及圆锥齿轮传动所形成的径向载荷。辅助轴承起径向扶正和轴向防跳的作用。
(4)转盘的制动机构在转盘的上部装有制动装置,以控制转台的转动方向。制动装置由两个操纵杆、左右掣子和转台外缘上的26个燕尾槽组成。当需要制动转台时,扳动操纵杆,将左右掣子之一插入转台26个燕尾槽的任意一个槽中,即实现转盘制动。当掣子脱离燕尾槽时,转台即可自由转动。
(5)壳体:壳体相当于转盘的底座,它由铸钢件和板材焊接而成。壳体主要是作为主辅轴承及输入轴总成的支撑,同时,也是润滑锥齿轮和轴承的油池。其内腔对着小锥齿轮下方的壳体上形成半圆形大油池,用以润滑主轴承,在水平轴下方的壳体上形成小油池,用以润滑支撑水平轴的两个轴承。
3.转盘的使用及维护保养
(1)使用前的准备与检查
转盘在使用前应做如下准备工作:
- ①对于新转盘应先在油池内加足工业齿轮润滑油,油面应达到油标尺最高位置;
- ②对锁紧装置上的销轴注入润滑脂;
- ③在转盘开动前,锁紧装置上的操纵杆或手柄应在不锁紧位置,以防止转盘启动时损坏转盘内的零部件,制动块和销子转动应灵活,制动应可靠;
- ④检查转台与方瓦、方瓦与补心是否锁紧;
- ⑤检查快速轴上的弹簧密封圈是否可靠;
- ⑥检查转盘油池和轴承温度是否正常;
- ⑦检查链轮是否有轴向位移,如果有,则用螺栓固紧轴端压板,然后装上转盘链条护罩或万向轴护罩,未装上护罩前不得使其运转;
- ⑧使转盘平稳启动,慢慢合上气阀手柄或转盘离合器,检查转台是否跳动,并检查圆锥齿轮的啮合情况,检查声音是否正常,应无咬卡和撞击噪声。
(2)工作中的检查
工作中需进行如下检查:
- ①每班应检查转盘的固定情况,检查是否平、正、稳和牢固;
- ②检查运转的声音是否正常,动力输入轴端的弹簧密封圈密封是否可靠;
- ③每班检查油池内油面是否符合要求,必须以停车5mb后检查的油位为准,检查油的清洁情况,如油脏要及时换油,检查油池和轴承温度是否正常;
- ④严禁使用转盘崩扣,防止损坏齿轮牙齿;
- ⑤钻进和起下钻过程中应避免猛憋、猛顿,以防因此而损坏零件;
- ⑥钻台和转盘面要保持清洁,油标尺和黄油嘴要上紧;
- ⑦方补心不能高于大方瓦面3一,大方瓦与转台面要齐平;
- ⑧当转盘承受较大冲击载荷后(如卡钻、顿钻)应注意检查运转声音有无异常;
- ⑨定期检查输入轴端的万向轴连接法兰(或链轮)是否有轴向窜动,如有,应拧紧轴端压板螺钉;
- ⑩定期检查下座圈的连接螺栓是否松动。
(3)润滑的检查
- ①锥齿轮副和所有轴承均采用飞溅润滑,润滑油每2个月更换1次,每周检查1次油的清洁情况,油脏应随时更换,换油时应使用轻质油彻底清洗油池,然后注入工业齿轮油润滑;
- ②防跳轴承和锁紧装置销轴应每周润滑1次,用油枪注入锂基润滑脂。
(二)水龙头
水龙头是钻机的旋转系统设备,又起着循环钻井液的作用。它悬挂在大钩上,通过上部的鹅颈管与水龙带相连,下部与方钻杆连接。它一方面要导输来自钻井泵的高压钻井液,将其引入旋转钻井柱内注入井底洗井,另一方面还要承受井内钻具的全部重量,悬挂钻柱并保证钻具自由旋转。因此,水龙头是旋转钻机中提升、旋转、循环三大工作机中相交汇的关键设备,是连接旋转系统、起升系统和循环系统的纽带。
1.钻井工艺对水龙头的要求
(1)水龙头的各承载件(如中心管、主轴承、提环、提环销等)要有足够的强度、刚度和寿命,并且要求连接可靠,其承载力应不小于钻机的最大钩载。
(2)鹅颈管、冲管(钻井液管)、中心管内径应使水力损失达到最低程度,并具有耐高压、耐磨、防腐蚀的特性。管内钻井液流速不应超过5-6m/s。
(3)水龙头的外型应圆滑无尖角,尺寸大小适中,易于在井架内部空间通过o
(4)水龙头上端与水龙带连接处能适合水龙带在钻进过程中的伸缩弯曲。水龙头下端有反扣的钻具丝扣以便与方钻杆上端反扣连接,并且要求连接可靠,能承受高压,上、卸扣方便。
(5)有可靠的高压钻井液密封系统,且耐压、耐磨、耐腐蚀和拆卸迅速、方便。能够自动补偿工作中密封件的磨损。
(6)水龙头的易损件如冲管、冲管盘根、机油盘根等应耐磨,寿命长,且易于检查、维修并便于更换。
2.水龙头的代号
水龙头的代号标识如下:

3. 水龙头的结构组成
普通水龙头的结构主要由“三管”、 “三(或四)轴承”、“四密封”组成。“三管”即鹅颈管、冲管、中心管; “三轴承”即主轴承、上扶正轴承、下扶正轴承,所谓四轴承结构,即除上述三轴承外,还有一个防跳轴承; “四密封”即上、下钻井液密封和上、下机油密封。下面以较典型的SL—450水龙头为例,介绍水龙头的结构组成及特点。

1一鹅颈管;2—上盖;3一浮动冲管总成;4一泥浆伞;5—上辅助轴承;6—中心管;7一壳体;8—主轴承;9-密封垫;10—下辅助轴承;11ー下盖;12一压盖;13一方钻杆接头;14一护丝;5一提环销;16一缓冲器;7一提环
SL—450水龙头的结构如图2—4所示。该水龙头包括固定部分、旋转部分和密封部分。固定部分由外壳、上盖、下盖、鹅颈管、提环等组成;旋转部分由中心管、接头、主轴承、上扶正(防跳)轴承和下扶正轴承组成;密封部分由上、下钻井液密封总成和上、下机油密封盘根装置组成。
(1)固定部分
- ①提环是由合金钢经锻造再热处理后加工而成,通过提环销与外壳相连。
- ②外壳是一个中空的铸钢件,用螺栓分别与上、下盖连接,构成润滑和冷却水龙头主轴承和扶正轴承的密闭壳体和油池。外侧面装有3个防止吊环撞击外壳的橡胶缓冲器
- ③上盖是铸钢件。其上部加工成法兰,用于安装鹅颈管。其下部是圆形,用螺栓与壳体上部连接,构成壳体上盖,在圆盖中心孔处装有扶正(防跳)轴承和两个反向安装的自封式u形上机油弹簧密封圈,以防壳体内部油液外漏和外界泥浆及其他脏物侵入壳体内部。圆盖上有一个螺纹孔,用来添加油液和固定油标尺,油标尺的丝堵(呼吸器)上有一个折角通孔,用以排除壳体内热气,降低润滑油温度。
- ④鹅颈管是一个中空的合金钢铸件,在其下部的异型法兰上加工有左螺纹,通过上钻井液盘根压盖与冲管总成连接。
- ⑤下盖是一个圆形铸钢件,用螺栓与壳体连接,在其中心孔处安装下扶正轴承和3个自封式u形弹簧密封圈。下盖上有两个排油孔,用于更换壳体内的油液,排油孔的丝堵带有磁性,用以吸附壳体内的金属屑。
(2)旋转部分
- ①中心管是用合金钢锻造并经热处理后加工而成,它是水龙头旋转部分的重要承载部件。它不仅要在旋转的情况下承受全部钻柱的重量,而且其内孔还要承受高压钻井液压力。中心管上端连接冲管总成,下端母扣与保护接头连接,保护接头再与方钻杆上端连接。中心管上、下端螺纹均为左旋,以防止钻进时松扣。
- ②主、辅轴承中的主轴承为圆锥滚子轴承,承载能力大,寿命长。下扶正轴承为短圆柱滚子抽承。上扶正(防跳)轴承是圆锥滚子轴承.它能同时承受较大的轴向力和径向力,并兼有扶正和防跳双重作用。下扶正轴承的作用是承受中心管转动时的径向摆动力.使中心管居中,保证密封效果。因此,上、下扶正轴承距离较远时扶正效果较好。上扶正轴承在上机油盘根下,下扶正轴承在下机油盘根上,分别由上盖和下盖用螺栓压紧。
(3)密封部分
密封部分由上、下钻井液冲管盘根盒组件和上、下机油盘根盒组件四部分组成。
- ①上、下钻井液冲管盘根盒组件
该水龙头采用浮动式冲管结构和快速拆装的u形液压自封式冲管盘根盒总成。浮动式冲管盘根是将上、下冲管盘根装于盘根盒中,构成上、下盘根盒组件。盘根分别套在冲管上、下端面处的外径上,通过密封盒压盖分别与鹅颈管和中心管组装为一体。上钻井液密封盒组件由上密封盒压盖、上密封盒、上密封金属压套、u形自封式盘根、金属衬垫、弹簧圈和。形密封圈组成。金属压套上有花键与冲管上部的花键
相匹配,保证冲管不能转动,但能够上、下窜动。弹簧圈用于将压套、盘根及衬垫固定在冲管上及上盘根盒内。上盘根盒组件通过上盘根盒压盖上的左旋螺纹与鹅颈管上的异型法兰连接。下钻井液盘根盒组件由下钻井液盘根盒压盖、盘根盒、4个u形白封式盘根、4个金属隔环、1个下O形密封压套、O形密封圈和在盘根盒上的1个黄油嘴组成。下密封盘根盒组件通过下盘根盒压盖上的左旋螺纹安装在中心管上,因此下钻井液盘根盒组件是旋转的,而冲管不转,为了减少盘根与冲管间的磨损,必须定期通过下盘根盒上的黄油嘴注入润滑脂。盘根盒中的u形盘根要注意安装方向,上盘根朝向鹅颈管,下盘根朝向中心管。盘根装置
可快速拆卸,在钻井过程中可随时更换,更换时只需用16lb铁锤敲击盘根盒压盖上的凸台,使其旋转,将上、下盘根盒旋下,即可将整个装置从上盖一侧取出,不需要拆卸鹅颈管和水龙带。
- ②上、下机油密封装置
其上部机油盘根组件包括2个u形橡胶密封圈和橡胶伞;它的功用是防止油池内机油从中心管溢出和钻井液及脏物进入壳体内部。机油盘根和橡胶伞都转在盖内,由上盖法兰压紧,只承受低压。下部机油盘根组件包括3个U形自封式橡胶密纣圈和石棉板,用下盖压紧,其作用是在中心管旋转时密封油池下端防止漏油,只承受低压。此外,在多处需要密封的两个连接件之间均装有。形密封圈,以保证密封。
除了普通水龙头,还有两用水龙头。与普通水龙头相比,两用水龙头只是多了一个风马达。风马达通过变速箱驱动中心管快速转动,完成在接单根作业时快速上扣动作。风马达气原来自钻机气控制系统,可以满足接单根时上扣的需要。
(三) 顶部驱动钻井系统
顶部驱动钻井系统是取代转盘钻进的新型石油钻井系统,英文缩写为TDS(Top Driv-edrilingSystem)。顶驱钻井系统自20世纪80年代问世以来发展迅速,尤其在深井钻机和海洋钻机中获得了广泛应用。顶驱钻井系统现在已发展到最先进的一体化顶部驱动钻井系统,该系统显著提高了钻井作业的能力和效率,并已成为钻井行业的标准产品。通常,人们把配备了顶驱钻井系统的钻机称为顶驱钻机,考虑到顶驱钻井系统的主要功用是钻井水龙头和钻井马达功用的组合,故将其列为钻机的旋转系统设备。
1、顶驱钻井系统的特点
顶驱钻井系统是一套安装于井架内部空间,由游车悬持的顶部驱动钻井装置。常规水龙头与钻井马达相结合,并配备一种结构新颖的钻杆上卸扣装置,从井架空间上部直接旋转钻柱,并沿井架内专用导轨向下送进,可完成旋转钻进、倒划眼、循环钻井液、接钻杆(单根、立根)、下套管和上卸管柱丝扣等各种钻井操作。与转盘—方钻杆旋转钻井法相比较,顶驱钻井系统具有以下主要特点:
- (1)节省接单根时间
顶部驱动钻井装置不使用方钻杆,直接采用立根(28m)钻进而不受方钻杆长度限制,避免了钻进9m左右接单根的麻烦,节省了近2/3的接单根时间,从而提高了钻井效率。
- (2)减少钻井事故
起下钻时,顶部驱动钻井装置具有使用28m立柱倒划眼的能力,可在不增加起钻时间的前提下,顺利地循环和旋转将钻具提出井眼。在定向钻井过程中,可以大幅度地减少起钻总时间。使用顶部驱动钻井装置下钻时,可在数秒内接好钻柱,立刻划眼,从而减少了卡钻的危险。系统具有遥控内部防喷器,钻进或起钻中如有井涌迹象,可在数秒内完成旋扣和紧扣,恢复循环,并安全可靠地控制钻柱内压力。
- (3)提高钻定向井速度
顶驱系统以28m立根钻水平井、丛式井、斜井时,不仅节省钻柱连接时间,而且减少了测量次数,容易控制井底马达的造斜方位,明显提高了钻井效率。
- (4)减轻劳动强度
顶驱系统配备了钻杆上卸扣装置,实现了钻杆上卸扣操作机械化,接单根时只需要打背钳,减少了接单根钻井的频繁常规操作,既节省时间,又大大减轻了操作工人的劳动强度,钻杆上卸扣装置总成上的倾斜装置可以使吊环、吊卡向下摆至鼠洞,大大降低了人身事故的发生机率。
- (5)设备安全
顶部驱动钻井装置采用马达旋转上扣,上扣平稳,并可从扭矩表上观察上扣扭矩,避免上扣扭矩过盈或不足。钻井最大扭矩的设定,使钻井中出现蹩钻扭矩超过设定范围时马达会自动停止旋转,待调整钻井参数后再正常钻进,避免设备超负荷长时间运转。
- (6)提高取芯质量
系统以28m立根进行取芯钻进,改善了取芯条件,提高了取芯收获率,减少了岩芯污染,提高了岩芯质量。
2、顶驱钻井系统的结构
顶驱钻井系统主要包括:钻井马达—水龙头总成、钻杆上下卸扣装置、导轨—导向滑车总成、平衡系统、冷却系统、控制系统和附属设备等,如图2-5所示。

2.1.钻井马达—水龙头总成
(1)钻井马达 钻井马达是顶驱钻井系统的动力源,根据马达的类型可将顶驱分为液马达顶驱、AC—SCR—DC顶驱和AC-VF-AC变频顶驱。图2-5所示为Varco公司生产的TDS—11SA型顶驱系统(AC—SCR—DC驱动),马达上装有双头电枢轴和垂直止推轴承。气刹车用于马达的惯性刹车,承受钻柱扭矩,并有利于定向钻井的定向工作。气刹车由一个远控电磁阀控制,其气源来自于钻机气控制系统。
(2)齿轮箱总成 TDS—11SA型顶部驱动钻井装置的单速变速箱主要由大齿齿轮、小齿齿轮、箱体、主轴和钻井马达等部件组成。变速箱是一个单速齿轮减速装置,水龙头主止推轴承装在齿轮箱内,主轴由主止椎轴承支撑,主轴通过一个锥形衬套连接大齿轮,并支撑钻杆上卸扣装置。通过3~4hp的马达驱动润滑油泵,润滑油通过主止推轴承、上轴承,再经齿轮间隙、水冷或风冷的热交换器连续循环,并对齿轮进行强制润滑。油泵、油热交换器和油滤清器安装在传动箱外壳上。
(3)整体水龙头 水龙头主止推轴承位于大齿圈上方的变速箱内部。主轴的上部台阶座落在主止推轴承上,用以支承钻柱的负荷。水龙头密封总成装在钻井马达上方,由标准冲管、组合盘根、联管螺母组成。联管螺母使密封总成作为一个整体运动,使水龙头密封总成能够承受42MPa的工作压力。盘根盒为快速装卸式,与普通水龙头相同,只要松开上、下压紧盘根帽,即可快速拆装、更换冲管和盘根。
(4)钻井马达冷却系统 钻井马达冷却系统为风冷,马达的冷却是借助于鼓风机和空气进气管道来实现的,鼓风机由一台20hp、3450r/rain的防爆交流电动机驱动。
2.2.钻杆上卸扣装置
顶驱钻井系统将钻井马达和钻井水龙头组合在一起,除了具有转盘和常规水龙头的功能以外,更重要的是它配备了一套结构新颖的钻杆上卸扣装置,从而实现了钻柱连接、上卸扣操作的机械化及自动化,使钻机旋转系统设备焕然一新。
钻杆上卸扣装置由扭矩扳手、内防喷器启动器、吊环连接器、吊环倾斜机构、旋转头总成筹组成,典型的钻杆上卸扣装置的结构如图2-6所示。

(1)扭矩扳手
扭矩扳手作为卸扣之用,通过吊架将其悬挂于旋转头上。扭矩扳手位于内防喷器下部的保护接头一侧,两个液缸连接在扭矩管和下钳头之间,下钳头延伸至保护接头外螺纹下方。钳头的夹紧活塞用来夹持与保护接头相连接的钻杆内螺纹。扭矩管内的母花键同上部内防喷器下方的公花键相啮合,为液缸提供反扭矩。卸扣时,启动扭矩扳手,便使其自动上升并与内防喷器上的花键相啮合,在得到程序控制压力后,夹紧液缸开始动作,夹紧活塞的夹持爪夹住钻杆的母接头。当液缸中的液体压力上升至夹紧压力时,另一程序阀自动开启,并将压力传给和扭矩臂相连的两个扭矩液缸(冲扣液缸)使保护接及上轴旋转 25°,完成冲扣动作。再启动钻井马达旋扣,完成卸扣操作,钻杆上卸扣装置另有两个缓冲液缸,类似大钩弹簧,可提供螺纹补偿行程125mm。整个作业由司钻按动控制台上的电按钮便可自动完成。
扭矩管升降机构有两挡,使用一挡,夹紧装置可以升起,直到能夹住保护接头为止,从而可根据需要上紧和卸开保护接头。换用二挡则可以卸开下防喷器或调节接头。用手动阀控制上卸扣旋转方向。
(2)内防喷器和启动器

如图2—7所示,内防喷器由带花键的远控上部内防喷器和手动下部内防喷器组成,属于全尺寸、内开口、球形安全阀式的井控内防喷系统。上、下内防喷器形式相同,接在钻柱中,可随时将顶部驱动钻井装置同钻柱相连起来使用。内防喷器还有一个功用:即当上卸扣时,扭矩扳手同远控上部内防喷器的花键相啮合即可传递扭矩。在井控作业时,可以将下部内防喷器卸开留在钻柱当中。顶部驱动钻井装置还可以用一个中间转换接头,将钻柱和下部内防喷器连接起来。
在扭矩扳手架上安装有两个双作用液缸,液缸的动作由司钻通过控制台上的电开关和电磁阀来控制。液缸推动位于上部内防喷器—侧的圆环。同液缸相连接的启动手柄与圆环相啮合,可以远控开启或关闭上部内防喷器。
(3)吊环连接器
吊环和钻杆吊卡 吊环连接器通过吊环将下部吊卡与主轴相连,主轴穿过齿轮箱壳体,齿轮箱壳体又同整体水龙头相接。吊环连接器额定负荷650t,可配350-650t提升能力的标准吊环。一般钻井配用3.35m、350t的吊环和中开钻杆吊卡,留出一定的空隙装固井水泥头,固井时要用4.57m长吊环。吊环配对使用,以保持最佳平衡效果。
提升负荷通过吊环连接器、承载箍和吊环传给主轴。在没有提升负荷的条件下,主轴可在吊环连接器内转动。吊环连接器可根据起下钻作业的需要随旋转头转动。与常规吊卡相比,该吊卡在连接吊环处较宽,且吊环长,这样可避免钻进时同其他设备相碰。
(4)吊环倾斜器
吊环倾斜装置上的吊环倾斜臂位于吊环连接器的前部,由空气弹簧启动,钻杆上卸扣装置上的1.7m长吊环在吊环倾斜装置启动gS的作用下可轻松摆动,提放小鼠洞内的钻杆。启动器由电磁阀控制。该装置的中停机构便于井架工排放钻具作业。吊环倾斜装置的主要功用是:①吊鼠洞中的单根;②接立根时,不需井架工在二层台上将大钩拉靠到二层台上。
若行程为1.3m的吊环倾斜装置不能满足使用要求,则可使用行程为2.9m的长行程吊环倾斜装置。有些国产吊环倾斜器通过液缸控制操作,吊环可前倾30,后摆60。
(5)旋转头总成

顶驱钻井装置旋转头如图2—8所示。:当钻杆L知扣装詈在起钻中随钻柱部件旋转时,能始终保持液路、气路的连通。在固定法兰体内部钻有许多油气通道,一端接软管口,另一端通往法兰,向下延伸到圆柱部分的下表面。在旋转滑块的表面部分有许多密封槽,槽内也有许多流道,密封槽与接口靠这些流道相通。当旋转滑块位于固定法兰的支承面上,密封槽与孔眼相对接时,滑块和法兰不论是旋转还是在任意固定位置,都始终会有油气通过。旋转头可自由旋转和定位。当旋转头锁定在24个刻度中任意刻度位置时,则通过凸轮顶杆和自动返回液缸对凸轮的作用,使旋转头自动返回到预定位置。
2.3.导轨—导向滑车总成
导轨—导向滑车总成由导轨和导向滑车框架组成。导轨装在井架内部,通过导向滑车或滑架对顶驱钻井装置起导向作用,钻井时承受反扭矩。20世纪80年代顶驱系统多为双导轨,90年代改为单异轨,单异轨顶驱系统结构更加轻便。导向滑车上装有导向轮,可沿导轨上、下运动,游车固定在其中。当钻井马达处于排放立根位置上时,导向滑车则可作为马达的支撑梁。
2.4.平衡系统

平衡系统又称为液气弹簧式平衡装置,平衡系统总成如图2—9所示。平衡系统有两个作用:一是防止上卸接头时损坏螺纹:二是在卸扣时,可帮助外螺纹接头从内螺纹接头中弹出。这就为顶驱钻井装置提供了一个类似于大钩的1520皿的减震冲程。因顶驱系统太重,大钩弹簧的弹性力对顶驱钻井系统起了缓冲作用,所以,顶驱钻井系统不安装大钩。平衡系统包括两个相同油缸及其附件,以及两个液压储能器和一个管汇及相关管线。油缸一端与棺体水龙头相连,另一端或与大钩耳环连接,或直接连到游车上。这两个液缸还与导向滑车总成马达支架内的液压储能器相通。储能器通过液压油补充能量并保持一个预设的压力,其压力值由液压控制系统主管汇中的平衡回路预先设定。
平衡系统的活塞杆上端与游车连接,油缸下端与水龙头连接。油缸上腔始终通高压油,下腔抽缸产生的向上拉力作用在水龙头上,一直提着水龙头。两个相同的油缸产生的向上拉力的合力要比顶驱钻井装置和立根的自重大一些,当上、卸螺纹完成时,蓄能器排放出压力,供给油缸工作。随着蓄能器内的油液逐渐放出,油压会逐渐降低,油缸的拉力也就逐渐减少。当油缸的拉力小于顶驱钻井装置和立根本身重量(忽略导轨的摩擦力)时,上提过程由加速变为减速,最后停止上移。当提起整个钻柱时,钻柱和顶驱钻井装置的重量大于油缸向上的拉力,油缸被拉下来,缸内油液被排出,大部分返回蓄能器储存。
2.5.控制系统
顶驱钻井装置的控制系统主要由司钻仪表控制台、控制面板、动力回流等组成。控制系统相当于为司钻提供了一个控制台,通过这个控制台实现对顶驱钻井装置自身的控制。司钻仪表控制台由扭矩表、转速表、各种开关和指示灯组成。顶驱钻井装置可实现的基本控制功能为:吊环倾斜、远控内防喷器、马达控制、马达旋扣扭矩控制、紧扣扭矩控制、转换开关等。
钻井时的转速、扭矩和旋转方向由可控硅控制台控制。可控硅控制台装有马
达控制指示灯、远控内防喷器指示灯和马达鼓风机指示灯。

推荐阅读:
压裂技术详解
常用压裂泵车介绍(700型|1650型|2000型|2500型)
泥浆泵基础知识
套管事故的预防与处理