一 鹤管的概述及应用
鹤管是用于公路和铁路槽车在敞开或密闭状态下进行各种液体和液化气体的顶部和底部装卸,适用介质为液化气、石油产品、酸、碱等化工产品。
二 鹤管的种类及图片
鹤管种类主要包括:
1.按管道材质分为碳钢、不锈钢、铝合金鹤管等
2.按介质分为汽柴油、液氯、液氨、液化气、甲醇、乙醇、丙烯鹤管等
3.按使用场景分为陆用鹤管及船用鹤管等
几款典型鹤管图片如下:

火车鹤管

低温鹤管

路用流体装卸臂

丙烯鹤管

API鹤管
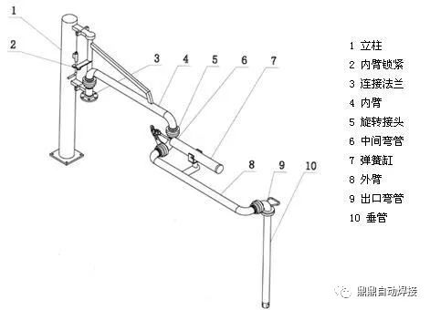
三 鹤管的部位组成及焊接

上图为鹤管的典型组成结构,其间连接除几处旋转接头之外大部分是需要焊接的,由于其介质大多为易腐蚀性介质,有毒性,所以鹤管装备用钢和对应的焊接工艺均提出了较高要求。

其中需要焊接要求较高的位置主要为四部分:连接法兰3、内臂4、中间弯管6、外臂8。其余为工作结构件,焊接要求相比前四比较低。下面为列举几个典型焊件图片:














鹤管所有承压主管道焊缝采用氩弧焊,并且要求经过严格的探伤检验和水压试验。



内部如果成型且防止氧化,内部是少不了充气保护的。(见文章《弯头与管的内部充气》)
焊接处焊接牢固,焊缝平整,焊渣清除干净,不允许有焊瘤、虚焊、夹渣、气孔、咬口、未焊透等焊接缺陷。焊缝表面应平整,高度不得低于母材表面,并与母材圆弧过渡。
焊接为该产品比较重要的一道生产工艺,产品经过焊接基本成型,后续经过组装及喷漆等处理后即出货。


四 附属产品
该行业有些许附属产品,比如卸液管(金属软管)以及组装式内浮盘,分为不锈钢和铝制两种材料。


金属软管

组装式浮盘


不锈钢浮盘

铝制浮盘
以上内容及焊接图片均来自实处,可溯源。如有兴趣欢迎分享。
