东方红轮式拖拉机基本使用保养及注意事项
拖拉机的磨合
磨合过程必须注意:
(1)观察电器设备和各种仪表的读数是否正常。
(2)发动机运转是否正常。
(3)离合器结合是否平顺,分离是否彻底。
(4)变速箱的换档是否轻便、灵活,有无乱档、自动脱档现象。
(5)制动器工作是否可靠。
(6)差速锁接合与分离是否可靠。
(7)转向是否灵活可靠。
(8)前驱动桥挂接是否顺和。
当发现不正常的现象和故障时,应立即停车,排除故障。
拖拉机使用注意事项
(1)拖拉机各部件应严格按要求使用推荐牌号的溶液。燃油必须经过至少48小时沉淀后,传动系(驱动桥除外)润滑油必须经过与提升器过滤精度相同的滤油器过滤后,才能加注。
(2)各连接部位的螺栓、螺母及其它易松动零部件等应经常检查,发现松动时应及时拧紧。
(3)保养电器系统以前,一定要先拆掉蓄电池搭铁线,以免电器元件烧毁。
(4)检查、清洗、调整、修理、保养拖拉机和农具前,一定要停车熄火,并将变速杆置于空档位置,动力输出轴操纵按钮置于分离位置,使所有运动部件处于静止状态。
(5)牵引挂车时,一定要用牵引钩而不能用三点悬挂杆件。
(6)拖拉机配带悬挂农机具行驶时,应将下降速度控制旋钮旋出,将农机具锁定,以防提升器操纵手柄被碰动,引起农机具突然降落造成事故。
(7)拖拉机动力输出轴带负荷工作时,拖拉机不能急转弯,以免损坏万向节。
(8)使用动力输出轴驱动农具以前,应检查拖拉机和驱动农具匹配合理性。一般耕作时,应使动力输出轴与万向节传动轴的夹角不大于10°,地头转弯提升农具后,动力输出轴及农具输入轴与传动轴的夹角不大于30°。
(9)轮胎的安装调整,只能由经验丰富的专业人员,使用合适的专用工具进行。轮胎安装不正确会引起严重事故。
(10)发动机在热车状态时,不要去拧水箱盖,以防冷却水喷出烫伤。应在发动机熄火并冷却后,才可拧下水箱盖。
(11)用户在启动拖拉机时,请扳动提升器提升手柄,如果提升器不提升,请先对液压管路进行排气,排气时,先松开齿轮泵处高压油管,待有高压油流出时快速拧紧齿轮泵处高压管。
(12)为保证液压提升系统滤油精度,除液压滤清器滤芯外,特在备件箱内增加一个
(13)纸滤芯和一个钢滤芯,当拖拉机在磨合满30 小时后必须更换纸滤芯,磨合满60 小时
(14)后必须更换成钢滤芯,以后每工作60 小时需对滤芯进行清洗,否则会堵塞滤芯。
(15)拖拉机在坡度不大于20%的坡地作业或行驶时可以正常使用,否则可能会出
(16)现故障或发生危险。
(17)水田胎仅适用于土壤湿度大,较泥泞的稻田,水田等田间作业,其他路况不宜使用此种轮胎,且行驶速度不大于10km/h,使用不当引起的磨损不负责三包。
紧急情况应采取的措施
上坡时突然熄火,踩下制动和离合器,并做到离合器、油门、手制动三者配合,即在加油门的同时,松抬离合器,待车辆有起步的感觉时,再放松制动,同时适当加大油门,完全抬起离合器,不使车辆*退倒**、熄火,平稳上坡。
下坡时突遇制动失灵。先拉紧手制动,然后迅速逐步换入低速档。如果是在山路,要设法靠山壁行驶,以阻车辆前进。
禁用要求:
在标定工况下,燃油消耗率上升幅度大于出厂标定值20%的;
拖拉机发动机有效功率或动力输出轴功率降低值大于出厂标定值15%的;
有效制动距离低于出厂标定值的;
经非规范改装存在安全隐患的。
东方红拖拉机操纵注意事项
(1)拖拉机每次连续启动时间不得超过15s,启动间隔应不少于2min。连续启动3次失败,则应检查原因,待排除故障再启动。
(2)拖拉机高速行驶时,切不可用单边制动作急转弯。
(3)拖拉机在行驶过程中切莫用主、副变速杆换挡,以免传动齿轮打齿。
(4)当拖拉机处于结合状态时,拖拉机不能转弯行驶,否则将引起轮胎异常磨损,损坏中央传动,甚至翻车。
(5)拖拉机在道路上行驶时,一定要把左右制动器踏板连锁起来。
(6)不许在拖拉机行驶中挂接同步动力输出轴。
(7)拖拉机在道路上行驶时,不可挂前驱动。
东方红拖拉机使用、保养、调整知识
1、油浴式空气滤清器粗滤器的保养
及时清理滤清器积尘碗中的灰尘,经常检查各连接处有无漏气现象。粗滤器积尘盘内的灰尘达到所标刻线时,应立即清除灰尘,若拖拉机在多灰尘地区作业,更应检查油盆油面,若油盆底部沉淀物较多,应缩短清洗沉淀杯及滤芯的保养周期。
打开搭钩,将底部油盆拆下,倒掉脏油,并用煤油清洗干净,同时清洗下滤芯,然后将下滤芯用压缩空气吹净,最后在油盆内换加新机油。

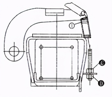
2、主离合器的检查调整
1)离合器踏板的自由行程为15~25mm当踏板的自由行程小于15mm时,须按以下步骤进行调整
去掉拉紧弹簧①确保踏板在消除自由行程时距离地板高度为190mm,如装上驾驶室,则距离橡胶地板高度为170mm,否则可按以下步骤进行调整,松开紧锁螺母C,转动调整螺母D每旋一圈相当于踏板位移9mm.
2)使踏板自由行程保证在15-25mm之间,并拧紧螺母C锁死。
这样调整后,踏板的高度将上升到220mm左右,如装上驾驶室袁则距离橡胶地板高度为200左右.


70-90马力 100-130马力
3、动力输出离合器的调整
下图所示位置的自由行程应为3.5-3.7mm(相当于操纵手柄处53-56mm)如果其自由行程小于1.5mm请按以下方法进行调整:
先松动螺母A,逆时针方向转动螺母B(螺母B每转动1圈,自由行程位置移动1mm)再锁紧螺母A,自由行程为3.5mm左右,将自由行程调整好以后,检查回位弹簧C的安装长度是否是140mm左右,如果不符,移动安装孔D的位置加以调整。

动力输出离合器的操作


将操纵手柄B向上拉,动力输出轴离合器分离.稍等片刻再将操纵手柄A向下推, 缓慢地将操纵手柄B向下压,可使动力输出轴平顺结合。
独立式动力输出轴操纵手柄A向下压,即可以进行移动作业或固定作业,动力输出轴的工作是完全独立的。因此当踩下主离合器使拖拉机停止前进时,动力输出轴可继续工作,分离动力输出轴离合器B,动力输出轴虽停止工作,而拖拉机仍可前进。
操纵手柄、踏板及控制按钮

①控制开关板;②主离合器踏板;③驾驶座前后调整手柄;④动力输出轴离合器操纵手柄;⑤动力输出轴操纵手柄;⑥前桥驱动操纵手柄;⑦提升器操纵手柄;⑧停车制动器操纵杆;⑨手油门操纵手柄;⑩副变速箱操纵杆;⑾差速锁控制踏板;⑿脚油门操纵踏板;⒀主变速箱操纵杆;⒁制动器操纵踏板;⒂仪表板;⒃多路阀操纵手柄


1、蓄电池充电报警灯(红色)

2、柴油机正常运转后,该灯熄灭,表明蓄电池充电正常。若柴油机中高速运转时该灯不熄灭,表明充电回路有故障,应停机检修。
柴油机正常运转后,该灯熄灭,表明柴油机润滑系统压力正常。当柴油机怠速运转时,由于润滑系统压力低,该灯可能亮,应属正常现象。当柴油机在正常转速时,若该灯仍不熄灭,则应停机检查油压报警传感器是否损坏或润滑系统是否出现故障。

3、正常油位时,若该灯不亮,若拖拉机正常行驶时该灯亮,则表明制动油路有泄漏故障,应停机检修。
拖拉机工作速度选择

A-主变速杆;B-副变速杆
拖拉机田间作业的基本工作挡位是:犁,耕常用低4、中1、中2、及中3挡,旋耕常用低1、低2及低3挡;耙地常用低4、中2,中3、中4及高1挡;播种常用中1、中、及中3挡;收获常用低2、低3、低4中1挡;田间道路运输常用中4、高1、高2、高3、及高4挡,具体作业时应根据不同的地域不同的作业条件选择合适的档位。
差速锁的操纵
拖拉机工作时,一般差速锁保持分离状态。当拖拉机后轮单边滑转严重,使行驶速度降低时,应踏下差速锁控制踏板。并保持在整个位置,使差速锁结合。此时两半轴齿轮被刚性锁住,两后轮同速转动,以克服一侧后轮滑转,使拖拉机驶出打滑地段,此时放松踏速锁踏板,使差速锁自行分离。
注意:
当差速锁处于接合状态时,拖拉机不能转弯行驶,否则将引起轮胎异常磨损,损坏中央传动,甚至发生翻车。
拖拉机的制动
一般情况下,应先减小柴油机油门员,再踩下主离合器踏板,然后根据情况逐渐踩下行驶制动器踏板员,使拖拉机平稳停住。紧急制动时,应同时踩下离合器踏板和行驶制动器踏板,不能单独踩下行驶制动器踏板,以免使制动器急剧磨损或柴油机熄火。
注意: 拖拉机在道路行驶时,一定要把左右制动器踏板联锁起来。
拖拉机的停车
1、先减小油门,降低拖拉机速度。
2、踩下主离合器踏板和行驶制动器踏板,当拖拉机停车后,将主、副变速杆放在空挡位置,并向上拉动停车制动器操纵杆,使停车制动器处于制动状态。
3、松开主离合器踏板及行驶制动器踏板,减小油门使柴油机怠速空转。严禁在水温过高时骤然停车。
4、拉动熄火拉线,喷油泵停止供油,柴油机立即熄火。使拉线处于拉出锁定状态,并取下启动开关钥匙。
注意:
1、若坡上停车时,柴油机熄火后,再松开行驶制动器踏板前应先挂上挡。上坡时挂前进挡,下坡时挂倒挡。
2、在气温低于0℃的情况下停放时,不用防冻液的拖拉机应放尽冷却水。
前驱动的操纵
当拖拉机进行田间重负荷作业、或在潮湿松软土壤上、或在水田作业时,为了改善拖拉机附着性能,通常挂接前驱动桥工作。对于机械操纵分动箱,应向上拉动前驱动桥操纵手柄“A”,使前驱动桥接合(见图4-10、图4-11)。若发生挂接困难,应握住手柄缓慢向上拉动,同时操纵拖拉机使挂接两齿轮发生稍微的相对转动。往下推动操纵手柄“A”,前驱动桥即行分离。


图4-10 前驱动桥操纵手柄 图4-11 前驱动桥的接合与分离
操纵手柄“A”向上--接合 操纵手柄“A”向下-分离
配重的使用


后轮配 前桥配重
水田轮胎的正确使用
水田轮胎不允许用于旱田、运输、工程;不允许在硬路面上、石子路面长距离行驶;不允许在路面上高速度行驶;行驶过程中不允许急刹车次数过多和急转弯;不允许挂前驱动或踩下差速锁;轮胎气压应保证在98Ka~118Ka范围内;用户不按规定使用引起的早期磨损不予三包。
后轮毂的保养
通过油杯A处(每边1个)注润滑脂,直至从内侧防尘罩缝隙处挤出润滑脂为止。转动后轮使轮毂与末端传动壳体之间充满润滑脂。如果拖拉机在灰尘特别多或水田、沼泽区作业时,要特别注意经常加注润滑脂以防灰尘和水渗入轮毂。加注润滑脂时注意要挤出全部泥和水,直到清洁的润滑脂溢出为止。

四轮驱动型液压转向油缸的保养
四轮驱动型拖拉机液压转向油缸见图按维护保养要求向箭头所指两处加注润滑脂

前驱动桥中央摆销的保养
按维护保养要求向图箭头所示两处加注润滑脂

注意:上滤芯不可拆卸,柴油机工作600-1000h后,连同上外壳一起取下,用柴油冲洗上滤芯,再用压缩空气从空气滤清器出气口往里吹净。
前驱动桥油面检查
前驱动桥末端传动壳体油面检查时,见图应转动前轮,使螺塞A处于水平位置,拧出螺塞,油面应达到螺塞孔处,否则应加机油。更换机油时,应转动轮毂,使放油螺塞A处于最低位置拆下放油螺塞,放净污油,再转动轮毂,使螺塞口处于水平位置,加注新机油至螺塞口。

应拆出螺塞A油面应达到螺塞孔处,否则应加机油.再换机油时,应从螺塞B处放净污油,再拧上螺塞B从螺塞A处加新机油。

前驱动桥主销及十字轴的润滑
前驱动桥每侧有两个油杯见图箭头所指要加注润滑脂,每年应至少加注两次;十字轴处每年应至少加注两次。


停车制动器的调整
如果带齿扇形板的自由行程超过3个棘齿袁应按下列方法调整院先松开螺母A再转动螺母B直至带齿扇形板自由行程为3个棘齿,最后重新锁紧螺母A。

液压转向油箱的保养
如图所示取出滤清器(将滤清器向下按并将其上端向油箱口倾斜即可取出),连同滤清器罩一同放到煤油里清洗。换油时,拆开油管B,把油箱的油放掉,取出滤清器并清洗干净,然后再安装上油管B,并加足新机油。

传动系和提升器的保养
检查油面时见图,要将拖拉机停放在水平地面上,将柴油机熄火,提升臂放到最低位置,然后检查油面.如油面低于油尺A上限线,应从B处加油.
更换润滑油时卸掉螺塞A、B、C、D,放尽脏油,然后把螺塞全部拧上,加注新机油。

轮胎充气压力的检查

制动系统的排气
制动系统的排气制动系统油管拆卸后,或进行制动平顺性(同步性)检查调整时,都必须对制动系统进行排气。制动系排气应当由训练有素,经验丰富的人员按下列步骤进行操作:
先彻底清洗放气螺塞四周部分和制动器油箱盖,检查排气操作前和排气过程中,油箱左区间B和右区间A的油面都必须保持在最高油面位置。
先缓慢踩动左制动器踏板到底,使之建立制动压力,踩下制动器踏板同时松开放气螺C拧松半圈让油溢出,拧紧放气螺塞C,并重复上述动作,直到气泡随着溢出的油排净.再踩制动器踏板以建立油压,当踏板到达正常行程时,油压应完全建立(达到规定压力).
按上述顺序,对右制动器进行排气.最后将制动器油箱加满油,未经滤清的油不能重复使用。


制动器油箱
拖拉机的用油
1、燃油

2、制动器用油
国内标准:采用传动液压制动三用油。
3、润滑脂
国内标准:对所有油杯都采用通用钙基润滑脂(GB491-87)
4、冷却液
建议拖拉机冷却系统采用防冻液.防冻液应选用比当地最低温度低5℃防冻液,必须加注正规生产厂家的防冻液。防冻液中不允许加注清洁的软水,若不使用防冻液,则必须用清洁的软水,亦可用经过化学处理或经过煮沸的自来水。防止水箱和发动机产生水垢。在冬季要及时放水和加注。
提升器机油滤清器的保养
首先将网式滤芯清洗干净并用压缩空气吹净,当滤芯难以清洗干净或损坏时,需更换新滤芯。更换时,必须将滤清器罩内部清洗干净,并添加新润滑油。

发动机油底壳油量的检查
检查发动机油底壳油量,拔出油尺“A”,检查油面高度是否在上下刻线之间。若油面达不到下刻线,应取下发动机上的润滑油加油口盖“B”。


图5-8 检查发动机 油底壳油量
燃油沉淀杯的保养
柴油机燃油沉淀杯见图:如燃油沉淀杯中有积水,则应打开底部放水塞放掉。
燃油滤清器见图:采用两级滤清器串联,左边为第1级,右边为第2级,纸质滤芯不允许清洗,柴油机每工作200h后更换第1级滤芯,更换时可将第2级滤芯装在第1级内,在第2级内换上新滤芯


燃油沉淀杯 燃油滤清器
机油滤清器的保养
旋装式机油滤清器见图,柴油机每工作200h后应按技术要求更换滤芯。

柴油机旋装机油滤清器
风扇胶带张紧度的调整
用大拇指下压风扇胶带进行检查,其下压距离10~15毫米,如不符合此要求,应进行调整,其方法如下:松开发电机调整支架上的固定螺母,向外侧扳动电机使胶带张紧,再拧紧发电机调节支架上的固定螺钉。

蓄电池的维护
当使用免维护型蓄电池时,可观察蓄电池上面的电量的颜色袁,绿色为正常状态,黑色为电量不足,白色为电量耗尽。

东方红农机具使用、维护和保养
拖拉机与配套机具作为一个机组,在各项作业中能否做到质量好、效率高、成本低、操作方便,不仅取决于拖拉机及农机具各自的参数和性能,而且取决于拖拉机与农机具间的配套性能,二者具有密切的关系。所以,用户在购买机具时,一定要根据当地的土壤情况和拖拉机的PTO转速选择合适的刀轴转速。
1、机具在投入使用前要进行磨合,磨合要求为:
1)、空转:0.5h ;2)、半负荷:2.5h ;3)、全负荷:2.5h ;4)、调整、更换润滑油
注意:在磨合过程中注意有无异常响声!
2、机具班次保养
1)、检查拧紧各连接螺栓、螺母、检查放油螺塞有无松动。
2)、检查各部位插销、开口销有无缺损,必要时添补或更换新件。开口销不得用旧件或它物代替。
3)、检查齿轮箱齿轮油油面,缺油时应添加至大锥齿轮1/2齿宽至整个齿宽。
4)、对十字轴、刀轴轴承座、两侧双链轮处的黄油杯,注黄油3~5下。
5)、检查滑切刀和松土刀是否缺损和紧固螺栓有无松动,必要时补齐、拧紧。
6)、检查有无漏油现象,必要时更换油封、密封垫。
3、机具季保养
1)、全部执行班保养的规定项目。
2)、更换齿轮油。
3)检查万向节传动轴十字轴滚针磨损情况,拆开清洗后涂抹新黄油装好,如十字轴过度磨损,应及时更换。
4)、检查刀轴两端轴承磨损情况和油封密封情况,必要时更换新件。
5)、检查刀片是否过度磨损,必要时更换新刀片。
4、机具年保养
1)、彻底清除多功能机具上的油污。
2)、齿轮箱放出齿轮油,进行拆卸检查,特别注意检查各轴承以及齿轮的磨损情况。清洁零件后重新安装,加注新齿轮油至规定油面。
3)、拆洗刀轴轴承及轴承座,安装时要注足黄油。更换新油封。
4)、拆洗万向节总成,清洗十字轴滚针,如损坏应更换。
5)、拆下全部刀片检查,磨损严重和有裂痕的必须更换。
6)、拆下链轮罩,进行内部清洗,根据链条涨紧情况调整连接螺栓,涨紧链条。
5、机具使用注意事项
1)、拖拉机与机具连接时,万向节传动轴中间方轴和方轴套节叉的开口必须在同一平面内;

2)、万向节传动轴和方轴套应保证机具在最高位置时不能顶死,工作状态时的接合长度不小于15cm,且为防止传动轴损坏,机具作业时传动轴和水平夹角不得大于±10°,地头转弯时不得大于25°;
3)、严禁机具作业中先入土,后结合动力输出轴,或急剧下降机具;
4)、机组作业时严禁转弯和*退倒**。转弯和*退倒**时必须将机具升起,万向节传动轴与水平夹角不得超过25°,否则必须切断动力;
5)、机组长距离运行时,应将动力输出操纵手柄扳到空挡位置,切断动力,以免在运行中损坏农具和造成人身事故;
6、机具长期停放要求
1)、拆下万向节传动轴,放置室内;
2)、垫高机具,使刀尖离地;
3)、刀片应涂废机油防锈,外露花键轴亦需涂油防锈;
4)、非工作表面剥落的油漆应按原色补齐以防锈蚀;
5)、机具放置于室外时应覆盖。
7、悬挂件的调节
与拖拉机悬挂拉杆连接,并上好插销(提升杆和下拉杆连接时,将销子插到提升杆的腰形孔内)。

8、耕深的调节:
当旋耕机下降到所需要的耕深时,将拖拉机液压油缸的定位阀卡箍挡块固定在相应位置即可。
秸秆还田机的调整和使用
1、秸秆还田机的调整
(1)、将拖拉机停放在水平的路面上,落下秸秆还田机,地滚与地面接触。

(2)、测量刀片与地面的距离应在18-25mm(两指左右)

(3)、调整提升杆和上拉杆后刀片与地面的距离仍不能保证在18-25mm时,应调整地滚;拧松固定地滚的四个螺钉,将前端的螺钉拆下,安装在呈扇形分布孔系最上端的孔内,并拧紧。

(4)、销子必须插到提升杆的腰型孔中,保证作业中秸秆还田机有一定的浮动量。

2、秸秆还田机的使用
(1)、开始作业时需先加大油门保证发动机转速在2000r/min以上;作业中拖拉机应使用低Ⅳ、中Ⅱ前进档,第二遍允许使用中Ⅲ档,提升器手柄必须放在浮动位置。
(2)、严格要求用户进行农田作业时将提升器操纵手柄置于浮动位置,严禁将手柄放在强压位置;提升杆与下提升臂连接时必须将销子插在提升杆的腰型孔中,保证作业中秸秆还田机有一定的浮动量。
注意事项:拖拉机动力输出工作转速与空转转速的区别,由于标准不统一,不同厂家的动力输出转速标注的意义不同,有的标注的是工作转速,有的标注的是空转转速。因此,不能简单的认为标注的速度越高就说明工作转速越高。固执的选择高转速的速比,会导致工作负荷增大,从而出现发动机无力的假象。