前言

传统的螺纹加工方法主要为采用螺纹车刀车削螺纹,或者曹勇丝锥、板牙手工攻丝及套口,随着数控加工过的发展,现在数控螺纹铣削得以实现,在数控螺纹铣削时需要用到专门加工螺纹的铣刀,现在一般的螺纹铣刀的散热下过不好,散热不好容易崩刀,不利于螺纹的加工。

带毛刷的螺纹铣刀

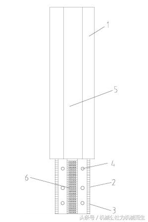
切削效果好,散热能力好,能去除螺纹间杂屑的螺纹铣刀。包括刀柄 1 和刀头 2,刀柄 1 与刀头 2 活动连接,刀柄 1 和刀头 2 螺纹连接,刀柄 1 设置在刀头 2 的上面,刀头 2 上设有若干道螺纹切削刃组 3,螺纹切削刃组 3 均布在刀头 2 上,螺纹切削刃 3 组有若干条横向螺纹切削刃组成,在刀具回转加工时,能加工出螺纹,每两道螺纹切削刃组 3 之间设有通气孔 4,螺纹通气孔 4 与设置在 4刀柄 1 上的总通气孔 5 连接,总通气孔 5 轴向贯穿刀柄 1,将冷空气从刀柄 1 的总通气孔 4中穿到到头上的小通气孔中,在散热的同时,可将粘在刀头 2 上的切削吹出,两个切削刃之间的凹槽中设有毛刷 6,凹槽内开设有容纳毛刷 6 的容纳槽,毛刷 6 内部固定在容纳槽内,毛刷 6 的外端与螺纹的外端齐平,毛刷 6 通过耐高温胶水与容纳槽内部粘结,在螺纹切削在螺纹牙之间会有很多小切削,用毛刷能将黏在加工表面上的小切屑扫掉,提高加工表面的整洁度。

