
负春暖花开
不
好
*光春**
春暖花开正是学车考试的好季节,有不少小伙伴向小管咨询考试预约的事情,有各种各样的问题,甚至有不知道在哪里约!

还有不少驾考学员向小管吐槽预约难、预约不成功,本来觉得练得不错了,可是一直约不上考试,心情焦躁没有练车的心情,今天小管就跟你说说约考那些事,让学员考试做到心中有数,抛开负面情绪。
驾考预约服务说明
1、考试预约方式包括普通预约和优先预约两种。公安机关将根据本地实际,在考试场次中设置优先预约名额和普通预约名额。
2、学习驾驶证明有效期不足6个月(第一次科目一后的两年半后)的学员在有效期内每个科目可以优先预约1次考试。学员优先预约时,可以选择具有空余优先预约名额的考试场次进行预约。
3、采用普通预约方式预约考试的,将按照普通预约规则,确定排序时间,并根据排序时间先后,确定预约是否成功。

学习驾驶证明
普通预约规则
1、首次预约科目一考试的,以初次申领驾驶证、申请增驾业务时间为排序时间;
2、非首次预约科目一考试的,以上次考试时间为排序时间;
3、考试预约成功的用户因自身原因取消预约的,以取消预约时间为排序时间,非自身原因不能考试的,排序时间不变;
4、同时符合本项第二项、第三项情形的,以最近时间为排序时间。
普通预约规则详解
1、一次过的情况:首次预约科目一,以学员体检后,车管所归档并成功出流水号那天起算;科目二以科目一考试通过那天开始算起,只要别人比你早考或早合格排名都在你之前;科目三、科目四同理。
2、挂科了怎么算:如果科目一挂科了,预约排序就以你挂科那天起算,而不再以你首次预约的情况来排序,同理,如果科二至科四挂了的话,也从挂科那天起算排队。
3、取消预约怎么算:这有两种情况,一种是学员预约成功后因自身原因取消预约,这时以取消当天时间为排序时间;另一种是因其他原因(比如停电)致使学员预约不成功或当天不能考试的,排序时间不变。

4、记好三个时间点:学员只需关注三个时间点,也就是排序时间,“业务受理时间”、“ 上一次考试时间”、“ 上一次取消约考时间”,其中根据学员当时完成情况来定时间节点,以时间节点来算排名在前面的优先安排考试。
常见问题
1、明明预约比别人早,为什么之后去看又排到后面了?答:预约会给出一个时间段,学员虽然比别人先提交预约,但是车管所在排名时还是依据学员在车管所内记录的时间节点来自动调整顺序的。
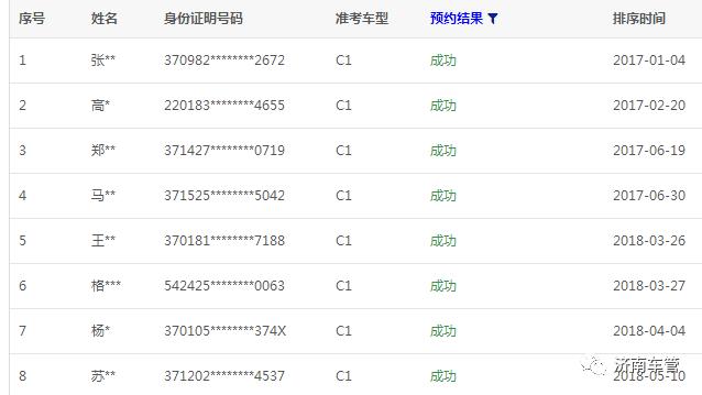
举个例子:预约3月19日的13点到15点的科目二考试,350个考试计划。假设3月4日开始预约,3月14日截止。在3月4日到14日期间,对所有预约报名的人排序时间进行排序。排序的唯一依据就是普通预约规则里面规定的“排序时间”。3月4日和3月14日预约报名是一样的,预约的早没有任何的优势。
图中排名第一的张**无论什么时候预约报名,他的排名都会在前面。
2、预约成功会有提醒吗?什么时候能知道自己是否预约成功?答:一般而言,预约系统会于考试前3日关闭通道,届时会有短信通知学员成功预约与否,如果没有收到短信,还可以到预约平台通过网办进度查看是否预约成功。
3、如果预约失败了怎么办?会计入考试次数吗?答:预约失败后可以重新预约,这种情况是不会计入考试次数的。

4、有没有什么方法可以让自己排名靠前,保证预约成功?
答:没有,预约平台不是教练或其他人为可以操控的,都是系统统一根据不同学员的时间先后来自动排名。

5、两个人同一天考的科一,排序时间一样,为什么一个能约上科目二,一个没约上?
答:原因有两种:1.有的场次预约的人多,有的场次预约的人少,预约人少的场次容易约上。2.预约同一场的,最后一些排序时间相同的,系统随机选取。

长按关注
来源:济南车管
责编:崔卉
审核:宋健
邮箱:822994000@qq.com
联系我们:jinanpolice
