
摘要
采用蛇纹玉、玛瑙、砭石、锗石、透闪石和陨石等能量石矿物,制作家庭用品及保健用品,并配设永磁组件,可产生远红外线与磁力线的组合功效,特别是矩阵排列的旋转磁场,具有祛除人体寒湿的医学功效,对寒湿病因的多种疾病有很好的治愈功效;采用合成石模压工艺制作的小型旋转磁盘,既是一种有观赏性的玩具,又有缓解疼痛与助眠等功效。
关键词
能量石、永磁组件、旋转磁场、仿玉合成石、旋转磁盘、祛寒湿、医学功效。
引言
我们在“五台山火炕文化与石质寝具的研制”一文中提出,自然疗法讲究身体的五行平衡,通过自然的力量及能量起到阴阳二气的平衡作用。五台山起于东汉或更早时期的火炕文化,以热引热,能散寒清热与益气温阳,同时能排除体内风、寒、湿、毒。以钻木取火衍生来的火炕,人们凭借它度过漫长的苦寒岁月,也是人类生存状态的一次革命。在“能量矿物的选择”一文中提到:蛇纹玉、玛瑙、砭石、透闪石、锗石和陨石等矿物,主要是利用远红外线的放射率普遍大于92%,利用其频率与生物细胞水分子振动频率相同,容易被人体吸收后激活生物分子,并能使人体血流加快,人体免疫力增强。石头固有的磁性,对人体的保健及疾病治愈,尤其利用外界温度,能产生明显的活血化瘀及保健的功效。在神农本草与本草纲目等典籍中有,磁石主治周痹风湿、肢节肿痛、祛除寒湿均有记载,竟管其是将磁石捣碎配至中药中。现时的永磁技术已将其磁性提高了许多倍,将其贴附或接近人体,同样能产生祛除寒湿的功效。磁石属于能量矿物,包括玉石、电气石在内的能量矿物,还有我们成天打交道的大理石、砂岩等,现时仅注重其装饰效果与实用性,其内在的电磁性能,尤其是见热产生远红外线的功能,是缺乏研究的。石头是产生远红外线最理想的矿物,磁性也是石头的重要属性,制备高端保健及医疗器材,应重新审视能量矿物的作用及功效。现时兴起的能量医学是在不用药物前提下,平衡人体电磁场。同时疏通经络系统,激活人体强大的自愈功能,达到身、心、灵的高度统一。采用永磁元件并进行旋转,动则生阳,对现时的各类风湿病是有积极作用的。
一、能量石与粘结材料的分析
自然界的物体,包括电气石、石墨烯、玉石等矿物,当温度高于绝对零度(-273度)时,都会辐射红外线,也有个性化的磁场。物体表面辐射的能量与其表面温度的四次方成正比,加热后都具有产生远红外线的特性。当红外线的电磁波以光速直接传播到某物体时,其发射频率与物体分子运动的固有频率相匹配,就引起其强烈振动,在物体内部发生激烈摩擦时产生热量。远红外线能使人体水分子产生共振,变成独立水分子,可自由进入细胞之间,并由其共振转化成热能,令皮下深层的温度微升,微血管扩张。
能量石的特点分别是:蛇纹玉具有较高的红外辐射率的本质在于分子振动具有红外活性;玛瑙红者为铁、蓝者为锰、紫者为锰、黄者为硅;锗石在33度以上时,锗元素开始由最外侧的轨道向内推动负离子的产生,使人体电位回归正常,并将毒物排出;砭石具有良好的热辐射性质,其中方解石颗粒都不是单晶体,是高达96%的钠米方解石组成;陨石含有陨纹石、合纹石、陨硫铁等六种宇宙矿物,也带来了外太空的磁性;透闪石是与河田玉成分基本一致的的矿物,其细小颗粒是长径比大于8的针状体。
人造合成石采用的有机高分子物质,其振荡波为3-10um,人体辐射的红外线频率与其高分子的分子振荡较接近,能产生激烈的分子共振现象。在不饱和树脂中掺入一定量的石墨烯粉,并经特殊工艺制成石墨烯混溶物,利用石墨烯能吸收和辐射高达40%的远红外线,能有效激活身体细胞核酸蛋白质生物分子功能,从而提高机体的免疫力。在玉石类及大理石的小板底面与四个侧边,涂刷石墨烯胶层后,也具有能量石的特征。
采用电气石及专用器具制备的空气负离子,主要通过呼吸道作用于人体,易于随呼吸抵达肺的深部,使分布在呼吸道粘膜上的神经末梢产生生理效益;呼吸道及肺内透过肺泡上皮层进入血液,通过神经——体液代谢活动,引起机体各个系统的生理反应,启动免疫防御的作用。实验证明,病毒必须带负电荷才能攻击活细胞,如果活细胞液带上负电荷,彼此间的相互斥力将使病毒丧失对细胞的攻击力。
二、旋转磁场的医学效应
旋磁比静磁在治疗中能起到更强的作用,矩阵旋磁技术在疏通经络方面,更由其特有的全身连串性,能够产生特殊的气流往复进行上下涌动的过程。一种玉磁陀螺型理疗器与一种组合型旋转磁场理疗床两项专利技术,已解决了用一台传动电机在平行相对条件下,利用磁力耦合作用联动多个磁盘同步旋转的难题。旋磁技术扩大了人体组织细胞内的磁通变化,调节了人体的内分泌系统,增加了胰岛素的敏感性。旋转并依次排列的磁力线,使细胞发生电荷排列方向的变化,也可使红细胞内的铁、钾、镁等顺磁而行,血球聚集状态迅速扩散,患者内脏灌注量改善,从而起到活血、降压等作用。旋磁加速炎性渗出物吸收的作用,增强白细胞的吞噬作用,达到消肿消炎的作用,磁场还通过人体穴位的神经反射作用,降低神经末梢的兴奋性,产生总有效率达90%的治疗疼痛性疾病的显著功效。人体经络遍布全身,在对人体肩部到脚部全身性的旋磁作用中,能够增加血液循环,使肌肉松弛,在从上至下往复的气流涌动中产生疏通经络的特殊作用,从而达到治疗寒湿疾病的效果。其间配合以中医的背部排列透明的罐体,还有肺部的负离子呼吸等,能够配合旋磁对恶性疾病进行有效的治愈。
三、矩阵旋磁床的制备工艺
采用普通的诊断床可进行矩阵旋磁床的改制,具体做法为:采用4-10mm厚度的不锈钢板或环氧布板,沿其中线钻出16-24mm的六个通孔,依次在左数的第四个通孔位置设置主旋转盘与传动电机,传动电机从下面进行紧固,其输出轴穿过不锈钢板7与上边的主旋转盘紧固为一体,其余5个通孔装设用轴杆紧固的副旋转盘,各旋转盘的外端面保持3-10mm的间隙,进行相互的磁力耦合传动;各旋转盘2使用碳钢制成环形凹状体,其外沿对盘内的三个或四个圆形永磁体进行离心限位,并将永磁体3进行对称设置;在邻近旋转盘的外侧设置二排红外线灯管,并对应旋转盘的上面用4-6mm厚度的环氧布板进行覆盖;在床体两边亦用环氧布板进行支撑及復盖,用石墨烯胶6抹平后,依次将能量矿物或玉石矿物制成的圆片5或方片进行排布,其周边及空隙间同样用烯胶6填充及抹平,玉石片5的上表面与中间的环氧布板保持同一水平面;在头部放置玉石枕8,在床架1的下部可配设专用的拔罐器件。
该型矩阵旋磁床是用一台传动电机带动主旋转盘进行旋转,并由主盘依次耦合副旋转盘进行同步的传动,其控制过程只能用1-2hz的低频率进行前期起动,而后用缓慢增速方式增加至额定转速。红外灯具4要加温至40-48度,使玉石圆片5具有适宜的温度。对病患者每次进行20-60min的旋磁治疗,利用其受热产生的远红外线与旋磁的组合作用,产生特殊的疗效。

图1矩阵旋磁床平面结构示意图
四、家用仿玉质旋转磁盘的制备工艺
人造合成石已出现向无机人造石产品发展的趋势。因为有机高分子的振荡波与人体的红外线频率,能产生分子共振现象,尤其在仿玉石产品的配方中,利用氢氧化铝粉与高分子材料产生的透光性及玉质感,在家用制品中同样是很有价值的配制方案。在此配方中,需将现行的粉末状的石墨烯材料配加一定量的高分子胶制成直径为1.5-3mm的小颗粒。参照一种原木旋转磁盘及其盘体制作方法,采用其中的粗混合料可模压上、下对合圆盘体,其中的粗混合料的配方为:
大理石 20-40目 30%-40%
叶腊石 20-30目 30%-40%
氢氧铝粉 230-800目 10%-25%
电气石 20-40目 0.5%-1.5%
颜料 不计
不饱和树脂 热固化 10%-15%
固化剂 按常规
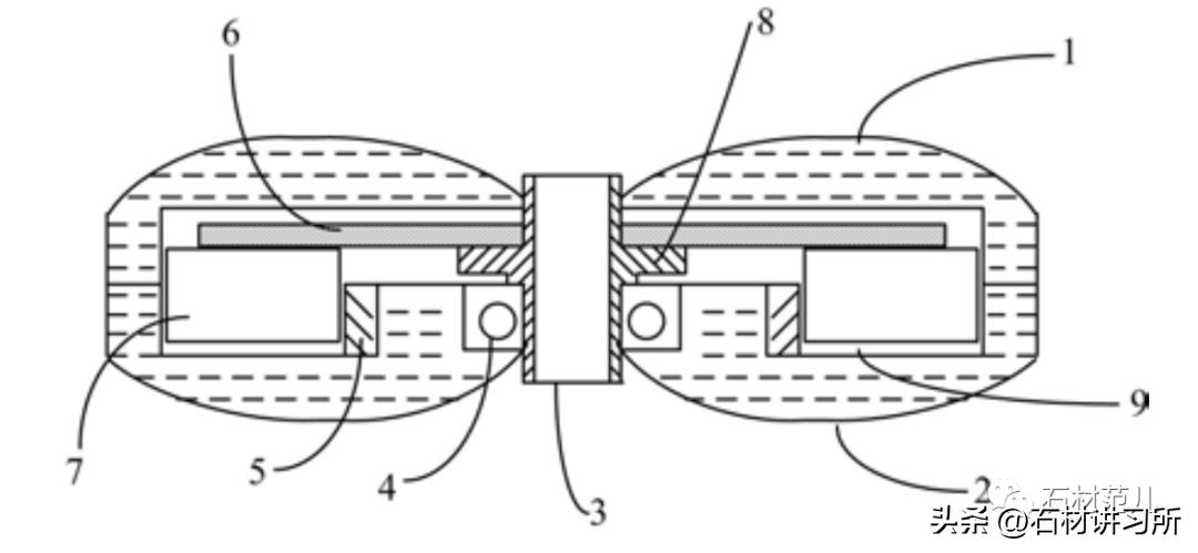
模压成型是用合金铝制作上、下圆盘体的专用器具,圆盘体的实际外径为12-18cm,圆形盘体的厚度为1.5-2.0cm。对合后呈玉璧状,并可模压出设定的图案,如螺旋纹、南无阿弥陀佛等字样。在大批量生产时,可用人造石英石生产线按上述配方先制出20-25mm厚度的软质大板,再分切成对应的小六边形,其后的制备工艺是:用车床加工成上下扣合并绕立轴3及轴承4旋转的上圆盘1与下圆盘2,并在上圆盘1的凹形槽中放置碳钢制且留有内孔的圆环体6;将黄铜圆管制成的管状立轴3垂直穿插于φ30mm内径的轴承4中,其φ42mm的外径用烯胶粘结于下圆盘2的凹形内圆中,下圆盘2绕轴承4旋转;立轴3上部穿过上圆盘1,并用烯胶将上圆盘1、圆环体6和立轴3凸台粘结成一体,成为上圆盘1绕立轴3转动而下圆盘

图2、玉质旋转磁盘侧示图
不转的外旋结构;在圆环体6的下面吸合外径为30-40mm、厚度为10-14mm的四个永磁体7,并以N45-N52钕铁硼的强磁性及圆环体形成的导磁回路,使下圆盘2的下表面具有800-1000高斯的较强磁场,手动时形成低频的旋转磁场。
五、综述
仝小林院士认为:对于新冠病毒的病因,只有认识到寒湿伤阳为主线,首先散寒化湿,通过分消走泻而治之。从中医的角度看,新冠病毒感染的肺炎是由寒湿之邪引起,在治法上要针对寒和湿的内因,采用矩阵旋磁技术能够形成活化免疫细胞及调节免疫的功能,并以能量矿物促进人体免疫系统的生成。旋磁对病毒是有消除或克制作用的。小型的旋转磁盘,利用其贴身使用及手动旋转的特点,对不适部位的缓解,尤其对改善睡眠不良等症状,具有一定作用的。在现已完成的简易旋磁床,已发现其具有突出的疏通经络效果,可否用此对各类风湿性疾病进行治疗,也有待进一步的验证。能量医学是利用印记频率所转化的生物信息,诱导细胞核内的电子运动,产生磁场而使人体的细胞维持着一种动态平衡。矩阵旋磁技术值得深入研究并取得实验数据,对各类寒湿病的实际疗效还有待做进一步的工作。
参考文献
1、刘建平、刘语涵一种玉磁陀螺型理疗器,ZL2018106281562,中国专利局;2、刘建平一种组合型旋转磁场理疗床ZL2021200886450,中国专利局;3、刘建平一种原木旋转磁盘及其盘体的制作方法,2022100466453,中国专利局。
全文完
原创作者:刘涛 山西省信息产业技术研究院有限公司 刘建平 山西省五台县工信局
END