本次拍卖处置单位为浙江省新昌县人民法院,成交时间:2020/06/28 10:25:37 83次延时,最终成交价格为367000元。

苏E17U0A奔驰GLE400成交价36.7万
拍卖标的:车牌号苏E17U0A奔驰GLE400,型号:WDCDA5GB,车辆识别码: WDCDA5GBXEA350511,发动机号:27682130027034,排量/功率 :2996/245,上牌时间:2014年04月01日,行驶里程:123143km,排放标准:国4,年检有效期至:2020年04月,交强险保险有效至:2020年05月。

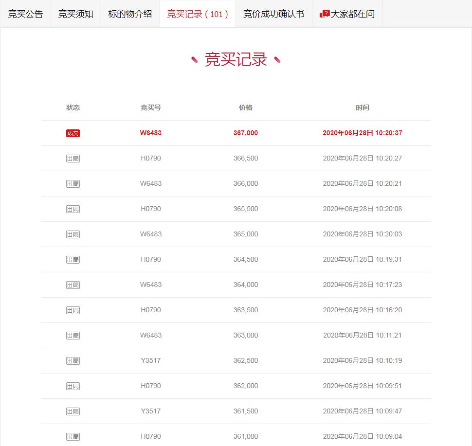
评估价:359300元,起拍价:252000元,保证金:50000元,加价幅度:500元。本次拍卖共9人报名参与竞价,竞买记录共101次出价,于2020年6月28日10:20:37成交于竞买号W6483的出价367000元夺得本次拍卖。

经现场勘察:车况较好,前保、左前叶油漆划痕、后保刮擦,车身多处修复喷漆,经测量左后叶700+um后背门1000+um(仅供参考),内饰成新较好有轻微污渍,仪表台、座椅、内饰板、方向盘、档位杆属于正常使用损耗,仪表数据正常,灯光、喇叭、电动门窗升降、天窗开闭、车载媒体*放播**工作正常,发动机启停正常运行规律机体轻微渗油,有备胎随车工具不完整,未做动态测试,车架钢印号核对与登记一致,条件限制发动机钢印号无法核对。

违章情况:该车未处理交通违法记录3起,违法内容不详,由买受人负责处理并承担费用,查询信息仅供参考具体以行政主管部门信息为准。车辆状态:违法未处理,查封,逾期未检验,抵押标记:已抵押,车钥匙一把,车辆由法院保管,没有证件。

维修记录:4S店维修记录5次,事故维修2次,保养3次,最后进店时间2016年01月21日里程为33633公里(该数据由第三方提供,仅供参考)。

标的具体情况以实物为准,如有维修、年检、*章处违理**、车辆过户由买受人处理并承担费用,如果车辆证件不全需要补办,由买方负责补办,费用由买方承担,过户提档是否有限制(限牌、环保)的相关事宜请竞买人自行咨询落户地市车管所,请购买人了解具体后慎重决定是否购买,拍卖方对此不负责任。
本次拍卖以367000元成交,大家有什么看法欢迎下方留言讨论,喜欢可以添加关注。