
原始咖啡过滤袋酿造:历史和指南
挂耳咖啡非常受手冲咖啡爱好者的欢迎,因为方便,但它的发展历史却很少有人知道,一次性咖啡过滤袋的创新和设计是各种创新的大杂烩,实际上是协作的结果。
有一些朋友说最喜欢喝的是咖啡机做出来的咖啡,油脂满满,但实际上,全世界的最昂贵的咖啡都是采用滴滤式即手冲方式冲泡的,全世界任何一个咖啡大赛和任何一个咖啡师评测也都是采用手冲方式做出来的咖啡,为什么?
因为手冲方式最能还原咖啡本身的风味,最能保存咖啡本身的香味。
这也是为什么我现在放着家里与公司里的德龙、JURA咖啡机不用,而要每天喝手冲的风孜挂耳咖啡的原因,当然,冲泡出来如果加入一些安佳全脂乳粉进行搅打,那风味也和直接喝黑咖啡一样的美味,只不过是两种风味的美味。
咖啡袋最早是什么时候出现的?

许多关于咖啡袋首次出现地点的报道通常来自日本,并且似乎都在 2000 年代初至中期建立了时间表。
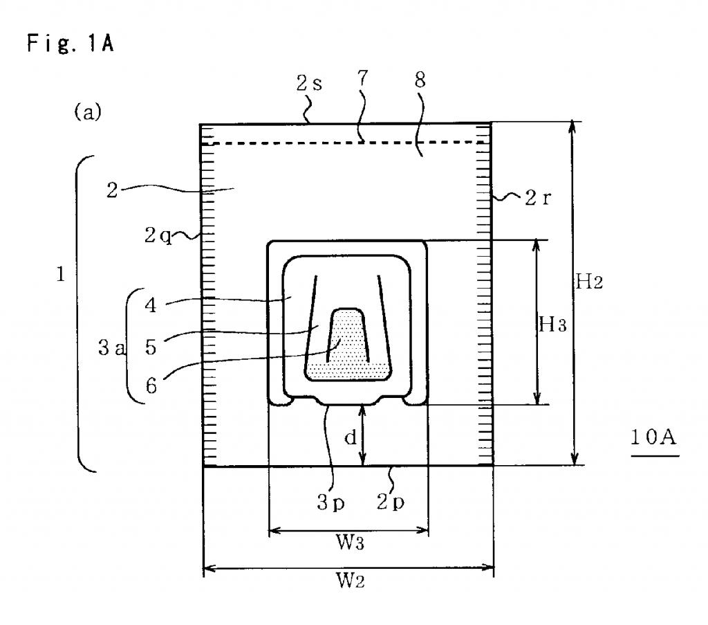
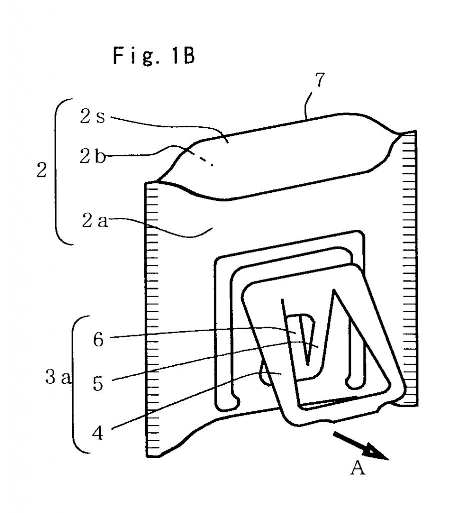
最早的手冲咖啡滤袋并非是现在的挂耳样式,二是单耳,现在的双挂耳模式是日本企业*纪大**商事发明的OHKI滤袋。
咖啡袋过滤器的第一部分包括纸提取器 的开发,这是咖啡袋挂在咖啡杯或马克杯边缘的方式,这项创新是由清水公明在东京创造的,并于 1983 年首次申请,花了两年时间才申请并公布了专利,下一个重大创新发生在十多年后的 1994 年,来自一位美国公民。
1993 年秋天,来自爱达荷州博伊西的 Melvin Clarkson 提交了一份 悬浮饮料输液袋 的设计,该设计于 1994 年夏天发布。
来自洛杉矶和 Corte Madera 的 Carl Pridonoff 和 Kenneth Tarlow 也于 1994 年提交了类似的设计。他们提交了他们于 1997 年发布的 单杯一次性咖啡冲泡设备。 然而,这项创新于 1997 年再次回到日本。



那么谁真正得到了咖啡滤袋的功劳呢?

高品质咖啡的经典冲泡方式:挂耳咖啡
据我们所知,最早的咖啡滤袋在亚洲市场一炮打响,主要是日本、中国台湾、韩国和中国大陆。更重要的是,它们在 90 年代初期在为客人提供咖啡滤袋的 东京酒店中非常受欢迎。
这进一步激发了一对澳大利亚夫妇的灵感,开发了Parachute 咖啡滴滤袋,由于倒咖啡法的兴起,咖啡行业的面貌进一步发生了变化。
1990 年,Yamanaka Industry Company 最后一次进入咖啡袋过滤器类别,发明者包括 Tsuji Hiroshi、Saisaka Hiromasa、Murakami Hideo、Suziki Kaichi 和 Fukuchi Masaaki,他们最终于 1991 年发表。
他们设计的咖啡 袋Filter Material and Coffee Filter Bag 其实只是袋泡茶的升级版。它看起来像一个茶包,没有任何悬边。Coffee Miracron X 直到 2018 年才出现。
说起来容易,他们提供了 1990 年代初期许多人都赞不绝口的设计,这有点晚了。由于包括 Chemex 和 Melitta cone 在内的倒咖啡方法的吸引力,现在正在转向不需要主要冲泡容器或杯子附件的挂耳咖啡袋。这些咖啡袋过滤器适合任何传统咖啡杯,不需要任何特殊设备。
其中一些过滤器允许您添加自己的咖啡渣,而其他过滤器则添加了预先包装好的咖啡。这就是咖啡袋如何增加 Chemex 和倒锥模型的使用。
冲泡方法和Pour Over一样吗?

挂耳咖啡冲泡示意图
咖啡袋过滤器的优点之一是它们可以按照任何倾倒方法允许的完全相同的方式冲泡,您首先会注意到的是过滤器经过专门设计,可防止咖啡渣进入您的咖啡杯。
除非您不注意,否则水会溢出过滤器,结果您的咖啡中会沾上咖啡渣。
这些过滤器的另一个优点是它们是一次性使用的,在您冲泡咖啡后可以扔进垃圾桶,由于过滤器中使用的材料,他们还没有设计出可堆肥的过滤器。
再说一次,您可以去除咖啡渣并将其堆肥,如您所料,冲泡方法各不相同,但这就是在家煮咖啡的好处。
咖啡滤袋冲泡方法
以下是三种非常适合冲泡咖啡滤袋的方法,因为这些过滤器几乎可以挂在任何一种杯子上,所以它们几乎可以用于任何一种创造性的冲泡方法。

原始方法
原料
- 1个 过滤 袋
- 2-3 茶匙 咖啡粉
指示
- 您要做的第一件事是将水壶加热到 93-95℃。将过滤袋耳朵放在咖啡杯的边缘。
- 现在,小心地将咖啡粉加入过滤袋。
- 添加第一批水来润湿地面并等待 20 秒。这对于冲泡咖啡至关重要,因为这可以让咖啡粉裂解,微观层面,咖啡颗粒在这时会出现很多裂纹,有助于后续释放咖啡物质。
- 然后你慢慢地每隔一段时间加入热水,就像你冲泡咖啡一样。
- 完成后取下过滤器并享用。
从以上流程看出,挂耳咖啡要充分释放风味物质,必须得有很好品质的滤袋,加上很好品质的咖啡颗粒,如果滤袋不好,或者咖啡颗粒不均匀,都会让口感大打折扣。
在这方面,我喝过的咖啡中,风孜咖啡是做的最好的,也是我非常推崇的挂耳咖啡。它的咖啡豆是用PROBAT P60烘焙的,众所周知,这种烘焙机一般只出现在上千元一磅的咖啡豆的烘焙上面,但风孜用上了这种烘焙机。
并且,风孜咖啡的滤袋是采用双挂耳滤袋的发明企业日本*纪大**商事的袋子,细腻而适中的排水,让咖啡不会出现堵水的现象,再加上它采用了日本的三层切刀方式来切磨豆子,磨出来的豆子非常均匀。

颗粒均匀的风孜挂耳咖啡粉以及质感满满的OHKI滤袋
冰咖啡法
原料
- 3-4 茶匙 咖啡粉
- 冰块
指示
- 此方法首先在高杯中加入冰块,然后将装有咖啡渣的过滤器放在杯子的边缘。
- 随着热咖啡向下流,冰开始融化。
- 这就是为什么您应该在过滤器中添加更多咖啡以抵消它被冲淡的原因。
- 随意冲泡或使用传统的倒酒法冲泡。
- 咖啡完全沥干后,取出过滤器并加入一点奶油或糖。混合均匀后饮用。
#咖啡##手冲咖啡##挂耳咖啡#