简谱怎样表示音的高低
在在记谱法中,用以表示音的高、低、长、短变化的音乐符号称这音符。通过一定的节奏、节拍组织起一些相同或不同高低、长短的音符,即构成了一首具有一定音乐形象的曲调的基本部分。因此,要掌握简谱的规律,首先必须认识各种音符,理解其意义。
在简谱中,用以表示音的高低及相互关系的基本符号为七个阿拉伯数字,即1、2、3、4、5、6、7,唱作do、re、mi、fa、sol、la、si,称为唱名。
音符:1 2 3 4 5 6 7
唱名: do re mi fa sol la si汉字: 多 来 米 发 梭 拉 西对照:显然,单用以上七个音是无法表现众多的音乐形象的。在实际作品中,还有一些更高或更低的音,如在基本音符上方加记一个"·",表示该音升高一个八度,称为高音;加记两个" :",则表示该音升高两个八度,称为倍高音。在基本音符下方加记一个"·",表示该音降低一个八度,称为低音;加记两个" :",则表示该音降低两个八度,称为倍低音。在一般歌曲中,无论是在基本音符上方或下方加记两个以上的"·"的音符都是很少见的。现将高音、中音、低音分组如下:

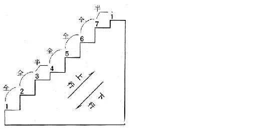
在简谱中,不论基本音符是高音还是低音,七个阿拉伯数字所表示的唱名是始终不变的。 在简谱体系中,如果将 1→ i或i→ 1之间的音像阶梯一样按高低次序进行排列,称为音阶。顺方向 1→ i,一个音比一个音高;逆方向 i→ 1,一个音比一个音低。(参见下图)

音阶的种类很多,以上为最基本的自然大调音阶。在音阶中,相邻两音之间的音高距离不是均等的,其中 3与 4、7与 i之间为半音关系,其余各相邻两音之间为全音关系。一个全音等于两个半音。在键盘体系中,白键与黑键按固定规律排列,每个键均有固定的名称,用七个英文字母C、D、E、F、G、A、B表示音的名称,称为音名。音名不等同于唱名,唱名没有固定的音高位置,其音随调的改变而移动(参见"怎样认识简谱中的调与调号"),音名是固定不变的。音名在键盘上的位置如下图:


简谱怎样表示音的长短在简谱中,1、2、3、4、5、6、7这七个基本音符,不仅表示音的高低,而且还是表示时值长短的基本单位,称为四分音符,其他音符均是在四分音符的基础上,用加记短横线"-"和附点"·"表示。1、单纯音符在简谱中,如果音符时值的长短用短横线" -"表示,就称为单纯音符。单纯音符除四分音符外,有以下两种形式:⑴ 在基本音符右侧加记一条短横线,表示增长一个四分音符的时值。这类加记在音符右侧、使音符时值增长的短横线,称为增时线。增时线越多,音符的时值越长。

⑵ 在基本音符下方加记一条短横线,表示缩短原音符时值的一半。这类加记在音符下方、使音符时值缩短的短横线,称为减时线。减时线越多,音符的时值越短。

单纯音符的名称以全音符为标准而定。如:全音符的二分之一称为二分音符,全音符的四分之一称为四分音符,其余类推。常见的单纯音符的名称、写法及时值长短列表如下:

从上表可以看出,相邻两种音符之间的时值比例为2∶1。现将单纯音符之间的时值比例列表(如下图)

2、附点音符在简谱中,加记在单纯音符的右侧的、使音符时值增长的小圆点"·",称为附点。加记附点的音符称为附点音符。附点本身并无一定的长短,其长短由前面的单纯音符来决定。附点的意义在于增长原音符时值的一半,常用于四分音符和小于四分音符的各种音符之后。例如

在简谱中,加记在单纯音符的右侧的.使音符时值增长的小圆点·,称为附点.加记附点的音符称为附点音符。

附点本身并无一定的长短,其长短由前面的单纯音符来决定。附点的意义在于增长原音符时值的一半,常用于四分音符和小于四分音符的各种音符之后。例如:附点四分音符:

附点八分音符:

附点十六分音符:

在简谱中,大于四分音符的单纯音符通常不加记附点,而用增时线来表示。例如:附点二分音符:

不用

表示带有两个附点的单纯音符称为复附点音符,第二个附点表示增长第一个附点时值的一半,即音符时值的四分之一。例如:

复附点常用于器乐曲中,在歌曲中很少使用。3、延音线和连音线延音线: 延音线是一条向上或向下弯曲的弧线,其作用是:将两个或两个以上具有相同音高的音符相连,在演唱或演奏时作为一个音符,它的长度等于所有这些音符的总和。 在单声部音乐中,连线永远写在和符干相反的方向。连音线:连音线表示的是演奏法,可以把几个不同音高的音连在一起,“连音线”表示为:在钢琴上是连音奏法,表示这几个音要演奏得连贯、圆滑。前者只是相同的音,而后者则不是。例如:

4、切分音除了常用的强弱变化外,还有用“切分法”来进行强弱变化,所谓的切分法就是通过延长弱拍音符的时值使强拍的重音位置向前移到弱拍,改变了乐曲中的“以强拍为重音”的规律这个原弱拍上的音被称为切分音。切分音的记法是在一小节或一拍之内记成一个音,跨小节的记成加连线的两个音。

喜欢唱歌的朋友可以点击文章下面的“了解更多”进行系统的学习或使用手机百渡一下“说话式唱法”进行系统的学习