
文/编辑 星星
“九零后女富豪”、“一年赚70个亿”、“白手起家全靠自己”……当你在互联网上看到这些信息,是否也觉得心动和羡慕呢?
这正是前段时间在互联网上风靡一时的网红张曼如的介绍。

对于许多公司白领、技术工人,特别是进城务工者来说,这类宣传无疑具有巨大的诱惑力,人人都梦想走上这条“创业致富”的道路。
但事实真是如此吗?
平民女孩的“逆袭”之路
1998年,张曼如出生在广东一个平凡的家庭,家中有一个姐姐,她还有一个妹妹和三个弟弟。

童年的张曼如并没有体现出什么过人的天资,她成绩平平,也没有什么特长天赋,属于人群中最不起眼的那类人。
唯一称得上是优点的,就是她的口才不错,能说会道,长相也十分乖巧可爱。
13岁那年,张曼如小学毕业,她没能考上初中,只能辍学打工。

一开始,她在家附近的工厂打工,做没多久,觉得工资太低了,而且工作也十分单调乏味。
身边不少和她差不多大的女孩,还有一些上了年纪的女工,看着她们,张曼如隐隐觉得不甘心。
难道自己的一生,就只能囿于一个小小的工厂吗?
短视频开始的创业之旅
在工厂干了几年后,张曼如有了一些积蓄,有了智能手机,开始接触到网络世界。

当年的短视频刚刚兴起,视频的内容和类型鱼龙混杂,有时候随随便便一个生活日常视频,点击率居然能过好几十万。
张曼如也发现了短视频这一特点,她开始在短视频平台上分享她的工作和生活日常,还时不时会拍一些搞怪、猎奇的视频,博人眼球。
慢慢的,凭借出色的口才还有乖巧讨喜的相貌,她积累了最初的一批粉丝,大家都亲切地喊她“小如”。

有了流量,她开始接一些推广和广告,慢慢的赚到了一些钱。
张曼如发现,仅仅只是拍拍视频,动动手指,就能够获得超高的点击,而这些点击又能够变成现实的收益。
尝到了互联网发展的甜头,张曼如也因此萌发了依靠短视频发家致富的想法。
一帆风顺的自主创业
借着短视频赚到的钱和流量,张曼如正式走上了创业之路,开了一家自主服装店。

借着姣好的面容身材以及短视频的流量,她的服装品牌迅速发展壮大,也赚到了不少钱。
不久,她又创办了自主化妆品牌,还成立了自己的品牌“美迪智”。
她的创业团队迅速扩张,人数最多的时候有将近一万人,堪比一家中型企业的规模。
与团队规模一起扩大的,还有她日益膨胀的野心和贪欲。
短视频平台上的她,年仅20岁,已经在广州买下了好几套房子,还都是别墅。

除了豪宅,豪车也没有落下,在她21岁生日那天,她发了一条视频动态,引来了百万的流量。
视频中,年轻貌美的她,穿着一身黑色套装,从一辆价值不菲的法拉利上下来,满眼都是野心和朝气。

这样的人生,谁不想要呢?
视频底下她的粉丝纷纷留言,“小如姐,带带我吧”、“小如小如,我也想像你这样成功……”
轻而易举的成功?
从13岁辍学打工的“厂妹”,摇身一变,成为了22岁房车都有的白富美企业家。不过仅仅几年时间,张曼如是如何做到如此成功的?

她的视频账号上,清晰的写着,“年收入70亿”、“13岁工作、16岁创业、18岁开公司”、“坐拥广东7套房产”……
如此优秀的人生履历,别说是普通人了,就算是马云、马化腾也未必有这么成功。
如果参考2021年全球白手起家女富豪榜的数据,我们会发现,年收入70亿的张曼如,身价已经比格力的董明珠还要高的多了。
董明珠听了都得流泪!在格力奋斗了30年,还不如直接跟着张曼如卖衣服、卖化妆品呢!

话说到这里,相信大家都已经心知肚明了,张曼如根本就是满嘴谎话,塑造了一个虚假的“白富美”“白手起家女企业家”的人设。
尽管如此,由于信息差的存在,以及许多人急于求成的心理,还是有不少人上了张曼如的当,希望能跟随她创业致富。
他们没有想到的是,自己梦想的白手起家,创业致富,却成为了张曼如“成功”的垫脚石,白白的将自己的血汗钱砸进了水里。

他人的血汗钱成了张曼如成功的垫脚石
自开创了自己的化妆品牌开始,张曼如就开始带着粉丝一起“致富”。
想要入伙,也非常简单。只需要在张曼如的公司拿3000元的货,便可以成为她的初级代理。

最高的拿货金额是52000元,这时候就已经是公司的高级合伙人了。
根据张曼如的宣传,拿货后,绝不会撒手不管,无论是几级的代理,都可以享受专业的销售培训,还会为粉丝引流客源,保证能够出货。
不仅自己致富,还愿意带着粉丝一起致富。在许多粉丝眼中,张曼如简直就是她们的“再生父母”,美丽善良大方,是她们致富道路的“人生导师”。

粉丝不知道的是,他们幻想的“成功致富”、“月入数万”,不过是张曼如团队精心编制的美好幻梦。
“励志”女企业家是假,*子骗**是真
从2019年末开始,陆陆续续有张曼如的粉丝反应,自己跟随张曼如卖货,却没有收到预期承诺的效果,货都卖不出去,砸在了手里,亏了不少钱。
不仅如此,张曼如也没有像一开始对粉丝承诺的那样,包进货包清货,对那些质问的粉丝,她搬出了各种借口,“疫情不景气”、“引流需要时间”、“这段时间公司的资金也很紧张”……等等。
总之就是,不回应、不帮助、不退款的三“不”政策。

2020年5月,一名投资了六万多元的张曼如粉丝实在忍受不了张曼如敷衍了事的态度,开始借助各种社交平台揭发张曼如的真面目。
这名粉丝是张曼如的“老粉了”,从她红起来就一直关注着她。

粉丝的丈夫是普通的农民工,最近夫妻二人刚要了一个孩子,本来家庭经济状况就不好,再加上孩子,负担更重了。
因为想要减轻家庭的负担,她萌生了跟随张曼如做品牌代理的想法,一口气投资了六万多元,成为了最高级的合伙人。

然而在交了这六万多元后,这名粉丝发现,交钱前所承诺的“专业销售培训”、“稳定客源引流”,通通不存在。
实际上是整天都找不到人,消息隔一周才回复,也没有所谓的客源。
最终的结局就是好几万的货通通烂在了手里。

还有一些粉丝专门去质监局检查,发现张曼如所售卖的化妆品,根本就是未经检测的三无产品,存在许多不合格的成分。
事实已经摆在眼前了,粉丝也死了心,要求张曼如退款。
眼看到手的鸭子要飞了,张曼如赶紧联系这名粉丝,软磨硬泡了好几天,感情牌什么都打完了,但粉丝的态度强硬,一定要求退款,张曼如索性直接把人家拉黑了!

这下可好,把粉丝给激怒了!欺骗感情就算了,还骗人血汗钱!
这名粉丝也不是好惹的,她平时也喜欢在短视频网站上分享生活,也积累了不少的粉丝。于是,她开始用自己的账号揭露张曼如的真面目,要求张曼如退钱。
在收集证据的过程中,大家发现,原来上当受骗的有一大群人,宝妈、白领、进城务工者,甚至还有未成年的学生。

虚假的成功面具
张曼如是怎么凭借仅仅几行文字宣传,就能够轻易地骗到大批粉丝,心甘情愿的给她打钱呢?
其实,她的成功不过就是“微商”的老三样。

立人设、炫富、招代理。
张曼如在社交平台一再宣称,自己绝不想骗粉丝的钱,只想带着大家一起致富。
好听的话说的天花乱坠,煽情牌和激励牌用的炉火纯青。
不少粉丝都被她感动激励,纷纷入伙。
收钱之前,她承诺的信誓旦旦,对粉丝的顾虑一一耐心解答。

收钱后,便不闻不问,动不动就玩消失。
甚至连张曼如团队里的员工都开始揭发张曼如,说她的“白富美”“励志创业”人设全是假的。事实上,她连员工的工资都不能按时发放,总是拖延,还一直要求员工拉自己的亲友入伙。
这和传销也没有区别了!

内部员工爆料,张曼如所谓的“豪宅”,都是假的,只是溜进了豪宅区拍照。
她的两辆豪车,是和别人一起“拼”来的,只是拍照用。
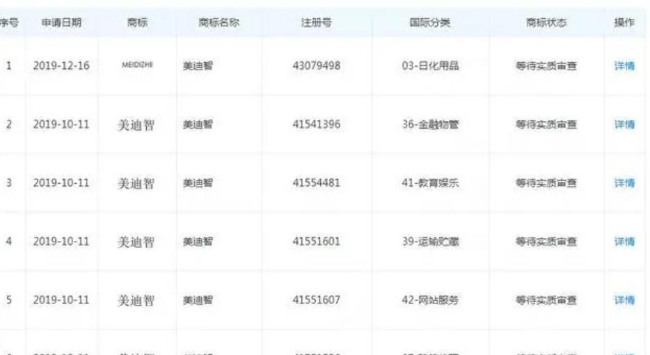
她旗下几个所谓的“品牌”“公司”,在工商局还在等待审查。

看来,她的成功根本就是一场炒作,实际上是一场精心建构的*局骗**!
发家致富还需脚踏实地
经过受害者们的共同努力,最终张曼如给所有受骗的粉丝都退了款,也发布了道歉视频。
视频里,她哭得梨花带雨,声泪俱下的诉说着自己创业的艰辛不易,称自己绝没有骗大家,没有玩消失,只是有时候消息太多了会被冲掉……诸多借口。

她口口声声说,是真心想帮助大家致富的,却绝口不提此前自己对粉丝们的欺骗行为。
她极具煽动力的话术,恰到好处的氛围音乐,再加上她清纯可怜的面容,很难让人把这样一个柔弱的女孩和诈骗分子的形象联系在一起。

知人知面不知心,仍然还是有不少粉丝同情她的遭遇,羡慕她的成功,希望跟随她走上致富道路。
互联网的时代,每个人似乎都有一夜暴富的可能,人人都抱着侥幸心理,想要天上掉馅饼。
正是拿捏了人们的这种心理,张曼如把陈旧的微商话术玩的炉火纯青,聚拢了一众的死忠粉,对她的话深信不疑,甚至拉自己的亲友下水。

这是新时代的诈骗,无法使人走向致富,反而会让人倾家荡产。
面对这种虚假的“白富美”“高富帅”,我们在艳羡的同时,也要提高警惕,识别他们的成功是真是伪。
一夜暴富的神话只存在*子骗**的话术里,脚踏实地,兢兢业业才是正道。
屏幕前的你怎么看呢?
欢迎大家点点关注,期待为您献上更多精彩~