
阅读文章前辛苦您点下“关注”,方便讨论和分享,为了回馈您的支持,我将每日更新优质内容。
文 | 梦书君
编辑 | 梦书君
前言
天线是在通过电磁波传输信息的系统设计中至关重要的组件。在构建高效系统时,必须特别注意天线设计。天线工程是工程师专门设计各种应用的天线的领域。每种应用在设计过程中可能需要不同的方法,同时在每种方法中,工程师都会遇到不同的挑战。天线工程是电磁理论的一个迷人应用,理论与实践融合形成了美妙的和谐。

理论研究
关于天线理论,人们可以找到许多由一些最杰出学者撰写的相当全面的书籍。每年都会有大量的学术论文发表,拓展着天线理论的领域。然而,实际设计程序方面的资源却非常有限。这次研究的主要目标是展示一个大型天线阵列的逐步设计过程,希望能为那些初涉天线工程师之路的年轻工程师提供有价值的见解。

移动卫星电视天线的系统级要求
在汽车工业中,用于在移动环境下接收来自卫星直播系统的信息和娱乐系统一直是一个巨大的挑战。在过去的二十年中,人们对于开发低成本、高性能的移动平台系统表现出越来越大的兴趣。这样的系统在汽车中现在需要紧凑的移动天线,以同时接收来自不同服务提供商的卫星直播信号。
大多数现有的商用产品都基于反射器型天线,这些天线具有出色的带宽、增益、噪声系数和半功率波束宽度特性。这些方面也使这些天线成为车辆在移动过程中进行卫星控制和跟踪的理想选择。基于反射器型天线的卫星跟踪基本上是通过在仰角和方位轴上机械调整天线来实现的。

然而,反射器天线的庞大尺寸和高轮廓在车辆上引起了空气动力学问题。而且,这些结构对于较小的车辆来说并不合适。 具有较低轮廓的结构,如减小尺寸的微带天线阵列,将更有优势 。主要的规格要求是建立一个使用微带天线的规划结构,该结构将具有反射器天线的相同特性。低轮廓的天线也将在仰角和方位平面上进行机械调整,因此不需要任何主动元件,如相移器和放大器。
在电视广播领域,地球同步卫星彼此之间相隔6°或更多:对于方位跟踪,天线的半功率波束宽度通常被选择为小于5°,而对于在移动车辆上优化跟踪卫星,该值被选为大于1.5°。为了成功锁定卫星,需要在32 MHz的中频带宽内进行操作,这是土耳其土通卫视的最大带宽。

7dB的载波噪声比
在平面微带天线阵列中,通过适当数量的元件可以实现高天线增益,最大方位半功率波束宽度为3°。然而,使用正对天线元素在低仰角保持目标天线增益是困难的。TM20模式类型的辐射图案可能更合适, 但使用此种贴片天线实现目标带宽极具挑战性 。

此外,与TM01模式的正对贴片相比,天线尺寸会大得多。利用能够在相同平台上机械倾斜到特定仰角的子阵列或面板将会是一个高度轮廓的折衷方案。然而,这仍然是一个更昂贵的选择,并且也会增加系统的控制复杂性。这种解决方案已知在先前的研究中被使用过,并且在许多卫星系统中仍广泛使用。这种系统的增加复杂性超过了满足电气规格的好处。

在这一点上,建议使用两个由微带贴片天线构建的面板来实现每种极化,以最小化实现的复杂性。 阵列将被组成为具有倾斜波束 。由于阵列可以在机械上倾斜,因此可以更容易地扫描低仰角,而不会超过总高度限制。

宽带、高增益天线元件设计
需要设计一个高增益、宽带的平面天线。在设计这样的天线时,首先应该实现目标带宽。天线增益成为下一个目标,因为增益直接影响系统的信噪比。通常,为了满足SNR要求,会规定目标带宽下的最小增益。
然而,增益和带宽通常是互补的指标,其中一个的改善会导致另一个的退化。因此,必须优化设计的增益-带宽乘积,而不是仅关注带宽/增益。对于电气小型天线,可以对增益-带宽乘积设定一个上限,但对于多谐振或宽带天线而言,这相当困难。

最常见的平面天线配置之一是孔耦合微带天线。对于结构尺寸在毫米或亚毫米范围的高频应用,槽耦合也是合适的。 大多数这些应用需要高指向性增益 ,因此采用相控阵列需要高增益和宽带天线元件。
为了增加ACMSA的带宽,提出了形成堆叠贴片或共面寄生元件的方法。与共面寄生元件不同,堆叠贴片不会增加天线的孔径面积,因此不需要增加元件间距,这可能导致格雷汀瓣。通过非谐振槽耦合到堆叠谐振贴片或谐振槽辐射与谐振堆叠元件。

与谐振槽耦合的堆叠贴片具有超过50%的分数带宽和超过5 dBi的增益。对于非谐振槽耦合,提出了各种槽形状,从矩形槽到狗骨形槽。钟形非谐振槽被认为在分数带宽方面表现最佳。然而,这些研究没有考虑GBWP, 而且哪种配置能产生最佳的增益-带宽性能尚不清楚。
此外,目前还不清楚谐振槽和非谐振槽哪种具有更好的性能。在任何天线设计中,带宽、增益和半功率波束宽度是最基本的设计特性,还包括其他特性,如交叉极化比、前后比、带内增益波动、电气高度和物理尺寸。

虽然很难定义一个将所有这些指标结合在一起的共同优势指标,但将基于GBWP导出几个FOM。将根据这些FOM定义各种非谐振和谐振孔耦合堆叠贴片的性能比较, 以找到在这些FOM方面最佳的配置。
该设计特别侧重于Ku频段应用,用于移动卫星电视接收和卫星通信。将导出优化的ACMSA的宽带等效电路表示。基于该研究,将提出一个在Ku频段操作的高增益、宽带天线结构,其FOM相比之前的研究更高。还将提供实现的天线和测量结果。

因此,增加k0h以改善带宽会降低可实现的增益并限制GBWP。高的宽高比如果不激发更高阶模式也会改善GBWP。有趣的是,基板介电常数和天线效率不是GBWP的因素。低介电常数的基板对于带宽的改善有利,但对于天线增益相对较差。孔耦合天线大多遵循矩形天线的趋势,但近似关系很难获得。
尽管这些近似公式被广泛接受,但它们只对电气薄的基板有效。对带销Feed的矩形贴片天线进行了三维模拟。

孔耦合微带贴片天线
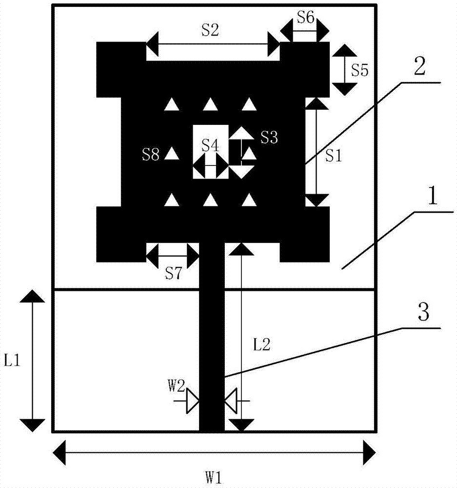
如这次实验的对象,是一个典型的孔耦合微带贴片天线,但稍有不同。下方所示的结构有一个称为"寄生贴片"的次级贴片。这个寄生元件被放置在结构中,以赋予其双共振特性,以增强带宽。关键分析是基于GBWP来决定哪种类型的孔结构是最佳的。
模拟和测量的增益和输入反射系数与频率的图 ,模拟显示,该天线具有25%的分数带宽,在11.24 GHz时具有最大的定向增益为9.67 dBi。测量的天线具有29%的FBW和最大的顶向增益为9.5 dBi。

由于其宽波束宽度,该天线可以用于电子波束倾斜相控阵天线。测量结果与模拟结果在增益、阻抗带宽、辐射图和HPBW方面基本吻合。
显示了基于三个优势指标定义的这项工作与一些先前设计的天线的比较研究,粗体数字显示了根据定义的FOM最佳设计。可以明显看出,这次试验中获得的值与中的FOM1值非常接近,在不考虑电气高度的情况下。

同时,与中获得的值相比,几乎所有其他设计都比这次试验好。但是,当考虑物理尺寸、最小增益和半功率波束宽度时,这次试验在FOM2和FOM3方面优于所有其他天线。科学家认为FOM2和FOM3对于阵列应用是关键的,因为可以通过悬挂或反向基板蚀刻结构进一步增加天线的高度,以牺牲天线剖面的增加来增强增益。

阵列综合
有多种方法和形成方式可以开发满足给定规格的天线阵列。然而,最重要的规格是最大尺寸和重量,这些规格是根据工业需求提供的。系统直径不能超过75厘米,高度必须小于7厘米,重量必须小于5千克。
天线将有两个面板,分别用于不同的极化方向。基于这些事实,阵列应该覆盖一个长度小于73厘米×20厘米的区域。使用阵列理论, 可以合成具有给定尺寸区域的256个元素的阵列 。图10显示了一个二维阵列的布局。

在这种应用中,阵列天线应该具有最高的增益。由于该阵列是仅接收结构,旁瓣水平不是最重要的。由于规格中给出的物理限制,俯仰和方位轴的半功率波束宽度对设计非常重要。在方位轴上为了最大增益,元素之间的间距设置为0.82λ。
另一方面,俯仰轴上的元素间距设置为0.73λ。在俯仰轴上的间距被设置为这个数量级,以便每一行的相位在所需的波束角度下具有90°的电相移。

混合微带
在高频情况下,欧姆损耗和介电损耗大幅增加,因此馈电网络对于大型阵列会产生巨大的损耗。科学家还必须考虑到馈电网络中的表面波激励和辐射损耗。因此,当组合256个元素时,企业微带馈电网络变得非常困难的原因在于电长度较长的微带线。

为了克服馈电网络损耗,过去提出了串联馈电、并联馈电、串并联馈电、全波导馈电和波导-微带混合馈电等各种技术。波导-仅馈电,即每个天线元件被馈送到波导中,由于压铸结构的成本和重量问题并不具有吸引力。 串联、并联及其组合的馈电结构具有较差的带宽性能,只适用于窄带系统。
最合适的选择将是混合微带和波导馈电系统,但是必须仔细确定子阵列的馈电网络的尺寸。主模式波导以其低损耗特性而闻名。这种混合结构的设计关键在于微带到波导的过渡。对于这个设计,波导必须位于馈线的下方6毫米,并且在一个反射地平面的另一侧。

在这次试验中,将讨论低损耗的微带到波导过渡的设计,对微带线和波导损耗进行详细分析,并最终计算馈电网络结构的最优解决方案。
微带馈线网络损耗
微带线中损耗的众所周知的原因包括导体损耗、介质损耗、辐射损耗和表面波损耗。关于两个导波介质内的场,TEM波不会在微带线中传播。当场的纵向分量与横向分量相比显著减少时,可以应用准TEM近似。

尽管这些方程的准确性在Ku波段上不太可靠,但对于确定子阵列馈电网络的尺寸,它将提供一个相当满意的近似值。将使用的基板的介电性质为:介电常数为3,损耗角正切为0.0023,厚度为0.5毫米,铜厚度为35微米。
总结
所有子阵列的原型天线已经建成,将抛物面反射器与波纹圆形馈源的性能作为参考进行比较。这个参考天线也被称为“参考天线”。 这个参考天线的性能与直径为40厘米的抛物面天线类似,只是它的轮廓更低 。由于模拟模型具有大量未知参数,因此无法模拟带有波导馈源网络的完整阵列。

因此,分别对平面阵列和波导馈电网络进行了模拟,以计算它们的S参数,然后将这两个结果组合得到最终的阵列性能。在增益模拟中,平面阵列和参考天线表现出相似的性能。然而,在测量增益时,由于测量中使用了波导到同轴适配器,以及由于非理想的模拟设置,测量值低于模拟值。
