1. 继电器的结构、 作用
1) 继电器的结构
继电器的结构和工作原理与接触器相似, 也是由电磁机构和触点系统组成的, 但继电器没有主触点, 其触点不能用来接通和分断负载电路, 而均接于控制电路, 且电流一般小于5 A, 故不必设灭弧装置。
2) 继电器的作用
继电器主要用于进行电路的逻辑控制, 它根据输入量(如电压或电流), 利用电磁原理,通过电磁机构使衔铁产生吸合动作, 从而带动触点动作, 实现触点状态的改变, 使电路完成接通或分断控制。
2. 常用继电器
继电器应用广泛, 种类繁多, 下面仅介绍常用的几种。
1) 热继电器
(1) 热继电器的作用。
在电力拖动控制系统中, 热继电器是对电动机在长时间连续运行过程中过载及断相起保护作用的电器。
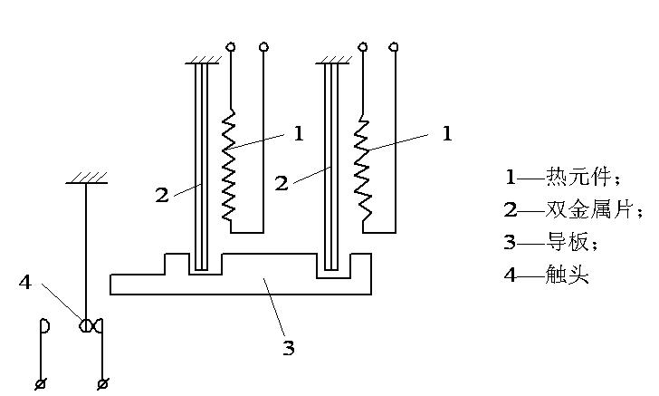
(2) 热继电器的结构组成。
热继电器由双金属片、 热元件、 动作机构、 触头系统、 整定调整装置和手动复位装置组成, 如图 所示。

热继电器结构图
(3) 热继电器的工作原理。
如图 所示, 电动机工作运行时, 电动机绕组电流流过与之串接的热元件。

热继电器工作原理示意图
(4) 热继电器的型号、 图形及文字符号。
目前我国生产并广泛使用的热继电器主要有JR16、 JR20 系列; 引进产品有施耐德公司的LR2D系列, 其特点是具有过载与缺相保护、 测试按钮、 停止按钮, 还具有脱扣状态显示功能以及在湿热的环境中使用的强适应性。
以JR20 系列为例, 其型号含义如下:


热继电器的图形及文字符号 (a) 热元件; (b) 常闭触点
(5) 热继电器的主要参数及选用。
① 热继电器的整定电流: 指热元件在正常持续工作中不引起热继电器动作的最大电流值。
② 热继电器额定电流: 指热继电器中可以安装的热元件的最大整定电流值。
③ 热元件的额定电流: 指热元件的最大整定电流值。
2) 时间继电器
时间继电器是一种按时间原则进行控制的继电器。 它利用电磁原理, 配合机械动作机构能实现在得到信号输入(线圈通电或断电)后的预定时间内的信号的延时输出(触点的闭合或断开)。 时间继电器种类很多, 常用的有电磁式、 空气阻尼式、 电动式和晶体管式等。 下面以空气阻尼式时间继电器为例进行讲述。
(1) 通电延时型: 线圈通电, 延时一定时间后延时触点才闭合或断开; 线圈断电, 触点瞬时复位。
(2) 断电延时型: 线圈通电, 延时触点瞬时闭合或断开; 线圈断电, 延时一定时间后延时触点才复位。
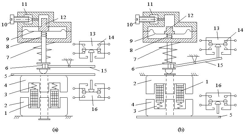
JS7-A系列时间继电器由电磁机构、 工作触头、 气室三部分组成, 其工作原理如图 所示。

JS7-A系列时间继电器工作原理 (a) 通电延时型; (b) 断电延时型
图 (a)中的微动开关 16 为时间继电器瞬动触头, 线圈 1 通电或断电时, 该触头在推板 5 的作用下均能瞬时动作。
断电延时型时间继电器的原理与结构均与通电延时型时间继电器相同, 只是电磁机构翻转 180° 安装。
现以我国生产的新产品 JS23 系列为例说明时间继电器的型号意义:


时间继电器的图形符号(a) 线圈一般符号; (b) 通电延时线圈; (c) 断电延时线圈;
3) 电流、 电压继电器
根据输入线圈电流(或电压)大小而动作的继电器称为电流(或电压)继电器。
(1) 电流继电器。
电流继电器线圈与被测电路串联, 以反应电路电流的变化。 电流继电器可分为以下两种。
① 过电流继电器: 当电路过流或发生短路时立即切断电路。
② 欠电流继电器: 当电路电流过低时立即切断电路。
(2) 电压继电器。
电压继电器也可分为以下两种。
① 过电压继电器: 整定范围为 105%~120%UN。
② 欠电压继电器: 吸合电压调整范围为 30%~50% UN。
下面以JL18系列电流继电器为例, 说明电流、 电压继电器的型号意义:

4) 中间继电器
中间继电器的作用是将一个输入信号变成多个输出信号, 当其他继电器的触头对数或触点容量不够时, 可借助中间继电器来扩充它们, 起到中间转换的作用。
5) 速度继电器
速度继电器根据电磁感应原理制成, 主要作用是在三相交流异步电动机反接制动控制电路中作转速过零的判断元件。
图所示为速度继电器的结构原理图, 由图可知, 速度继电器主要由以下三部分组成:

速度继电器结构原理
(1) 转子: 为圆柱形永久磁铁。
(2) 定子: 为笼型空心绕组。
(3) 触点: 包括动断、 动合触点。

速度继电器的图形及文字符号(a) 转子; (b) 常开触点; (c) 常闭触点