01 今日热榜
今日热榜可以帮助你了解各大新媒体平台上每天的热门内容,包括B站、抖音、小红书、知乎等等,让你随时了解最新的热点话题和热门文章。
它有几个优点:1.包含的平台广泛,几乎囊括了所有的主流媒体,并且有分类整理,包括科技、娱乐、社区、购物、财经、开发、校务、政务、报刊等等栏目,可点击查看某一栏目,栏目下包含该方面的权威以及知名媒体。

每个具体的网站也可以点击进入,即可查看该网站的各个板块的热搜榜,比如知乎就收录了热搜、想法、话题榜、影视、科学、数码、校园、时尚以及体育等等方面,查看十分方便。

02 广告门
广告门是一个充满着创意、创新和疯狂灵感的广告行业资讯网站,如果你想要追踪最新的广告趋势、了解广告行业的新闻动态、或者是寻找职业发展的机会,那么你就来对地方啦!
网站专注于为读者提供最新的广告行业动态,覆盖范围广泛,从品牌广告到数字营销、媒介投放、创意设计等领域,无所不包!这里的报道可是深入浅出,通俗易懂,就算是小白也可以轻松读懂啊!同时就算你是个狂热的广告迷,也可以在广告门里找到许多惊喜和收获。

不仅如此,广告门还提供了广告人才招聘、培训、活动等服务,是广告从业者们学习交流的绝佳平台。在这里,你可以结交广告圈的大佬们,获取最新的行业信息,拓展人脉关系,提高职业素养。而且,这里还充满了无穷的创意,创意、创意、创意,就像是一个无限延伸的海洋,你永远也不知道下一秒会发生什么!

总之,广告门是一个充满着灵感和创意的广告行业资讯网站,为广告人、创意人、营销人等提供了一个学习、交流和互动的平台,如果你也是广告迷,那就别犹豫了,去探险吧!
03 行行查
如果你想了解一个行业,那么行行查绝对是你的第一选择,它包含的内容十分广泛,包括产业概述、市场容量、产业链、竞争格局、技术变革、商业模式、行业数据、产业图谱等等方面,基本可以了解一个行业的方方面面。

此外行行查的原创报告和行业图谱有很高的参考价值,报告十分干货,包括各个产业,比如TWS耳机、*土稀**行业、康复医疗、医学影像以及热泵等等行业,每个报告都含有具体的背景、详细的行业数据以及对未来行业前景的预测,十分全面。

还涉及创业投资板块以及证券研究板块:

04 强大的TO B销售线索搜索平台
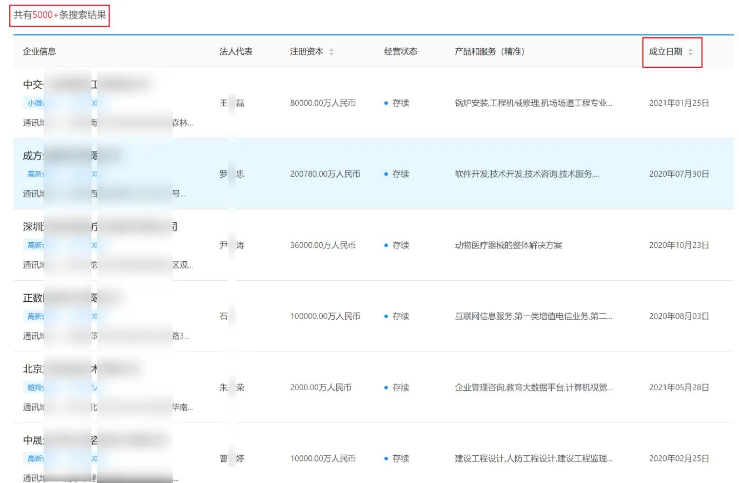
做TO B业务的企业,想要寻找企业法人等高管的联系方式用于客户开发,就用这个网站吧,以代理记账行业为例。
可直接通过筛选条件过滤出潜在的目标企业,条件有:企业所在地、所属行业、企业类型、成立年限、注册资本、经营状态、联系方式以及公司规模等等,而每一个筛选条件下有许多二级选项,可进一步缩小目标企业范围。

代理记账企业多为 初创企业 成立年限多为3年内,并且 公司规模较小 ,大多少于2/300人,可通过限制这两个选项得到较为精准的企业。

点击企业进入可查询企业详细信息,其十分完整全面,包含基本工商信息、招聘信息、司法信息、知识产权及资质证书、经营异常等等,可以从全方位了解该企业。确定是否需要工商财税服务。

确定后就可以通过联系方式栏触达目标企业:在这方面来源广泛远胜过两查一宝,包含顺企网、阿士伯、商虎中国、找找去、机电之家以及拉销网等等三方平台,并且还可以通过AI和大数据进行比对,标记企业关键人的号码为推荐。(平台传送门:强大的 TO B 销售线索搜索平台)

平台还有其他许多功能助力销售获客,感兴趣可以评论或私信获取平台链接。