上一篇说到液压传动的工作原理及组成,今天五斗送料机跟大家说说液压传动系统的组成。
液压传动用于多种机械设备:机床、送料机、整平机、分条机等等。。。机床的液压传动系统要比千斤顶的液压传动系统复杂得多。

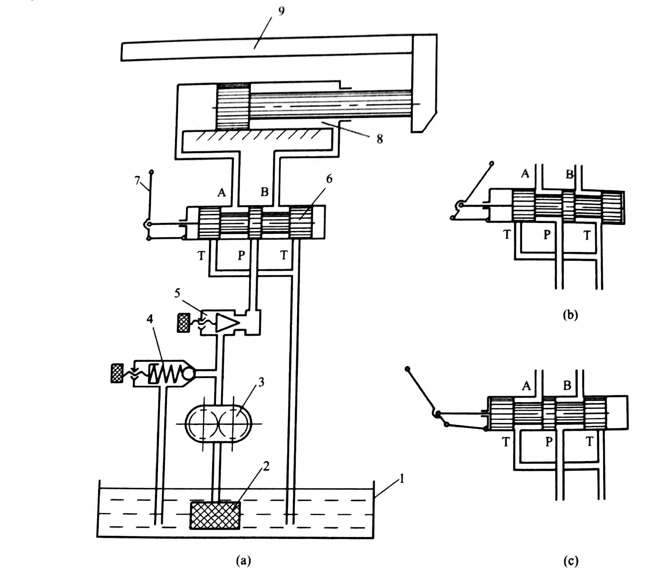
机床送料机的液压传动系统
液压传动系统的工作原理及组成
1一油箱:2一滤油器:3一液压泵:4一溢流阀:5一节流阀:
6一换向风:7一手柄:8一液压缸9一工作台
如图所示为一台简化了的机床往复运动工作台的液压传动系统。我们可以通过它进一步了解一般液压传动系统应具备的基本性能和组成情况。
在图中,液压缸8固定在床身上,活塞连同活塞杆带动工作台9做往复运动。液压泵3由电动机(图中未示出)驱动,通过滤油器2从油箱1中吸油并送入密闭的系统内。若将换向阀手柄7向右推,使阀芯处于图所示的位置,则来自液压泵的压力油经节流阀5到换向阀6并进入液压缸8左腔,推动活塞连同工作台9向右移动。液压缸8右腔的油液经换向阀6流回油箱1。若将换向阀手柄7向左拉,使阀芯处于图所示的位置,则来自液压泵的压力油经节流阀5到换向阀6并进入液压缸8右腔,推动活塞连同工作台9向左移动。液压缸8左腔的油液经换向阀6流回油箱1。
若换向阀阀芯处于图所示的中间位置,则液压缸两腔被封闭,活塞停止不动。工作台移动的速度通过节流阀5调节。当节流阀的阀口增大时,进入液压缸的油液流量增大,工作台的移动速度提高:关小节流阀,工作台的移动速度将减小。转动溢流阀4的调节螺钉,可调节弹簧的预紧力。弹簧的预紧力越大,密闭系统中能得到的油压就越高,工作台移动时,能克服的最大负载就越大:预紧力越小,密闭系统中能得到的最大工作压力就越小,能克服的最大负载也越小。另外,在一般情况下,泵输给系统的油量多于液压缸所需要的油量,多余的油液须通过溢流阀及时地排回油箱。所以,溢流阀4在该液压系统中起调压、溢流的作用。
从图1-2可以看出,液压传动系统由以下五部分组成:
(1)动力元件它是把原动机输入的机械能转换为液体压力能的能量转换装置,其作用是为液压传动系统提供压力油,最常见的形式为各种液压泵。
(2)执行元件它是将液体的压力能转换为机械能的能量转换装置,其作用是在压力油的推动下输出力和速度(直线运动)或力矩和转速(回转运动)。这类元件包括各类液压缸和液压马达。
(3)控制元件
它是用来控制或调节液压传动系统中油液的压力、流量或方向,以保证执行装置完成预期工作的元件。这类元件主要包括各种液压阀,如溢流阀、节流阀以及换向阀等。
(4)辅助元件它是指油箱、蓄能器、油管、管接头、滤油器、压力表以及流量计等。这些元件分别起散热贮油、蓄能、输油、连接、过滤、测量压力和测量流量等作用,以保证液压传动系统正常工作,是液压传动系统不可缺少的组成部分。
(5)工作介质
它在液压传动及控制中起传递运动、动力及信号的作用,包括液压油或其他合成液体。
更多机械知识关注五斗