最近忙着一些项目,挺长时间没有更新, 但经常有朋友在私信我一些问题,我也都有在积极的回复,希望能帮到大家吧!
我觉得还是抽些时间继续写一些自动化实用性强的东西,希望在学习的小伙伴可以更加容易理解。结合小伙伴们给我私信的一些问题,挺多小伙伴想一同学习一下触摸屏,因为触摸屏在工业自动化中也是随处可见,必须掌握的一项技能。
从本篇开始我们一同讲讲触摸屏的一些应用。我选了一款在国内应用比较广泛的一款触摸屏。

这是威纶通TK6071ip触摸屏, 经济型,性价比比较不错,用的人比较多,大家学习应该可以在实践中应用到。如果有想了解其他触摸屏的小伙伴可以私信我,在这里主讲这款。

既然是入门,我们先了解一下这触摸屏的接线及通讯方式, 只有先解决了这些问题 ,你才能去更好的做出一款程序的界面。
触摸屏 是10.5V-28V供电:我们需要在电源端子处接入DC24V的电源。实物上有对应(+-地)的标示

电源接口
触摸屏 通讯口 :这款触摸屏提供了COM1 COM2两个通讯接口,三种(RS232、RS485\2W、RS485\4W)通讯方式,采用9针DB头接线方式,可以根据不同的方式进行不同的接线进行通讯。

通讯接口
通讯口接线图表(随产品会有通讯接线图,有产品的小伙伴可以自己研究一下)

看到这个图表,有小伙伴或许还有疑问,我就顺带讲一下,这是威纶触摸屏针脚位的定义,重要的事,我就不重复了, 当我们选择通讯方式后,然后跟需要通讯的产品交叉对应接线即可。
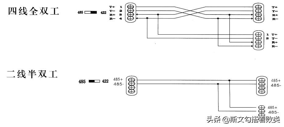
还有小伙伴对485 2W 和485 4W 无法理解,那就请仔细研究一下下面这张图

全双工485 4W ,半双工485 2W, 简单的说个例子,三菱PLC 的通讯线,不是485 也不是232,我们都叫422,也就是485 4W 的。所以我们在用触摸屏与三菱PLC 通讯时 参数设置就不要再弄错了,再后续的文章中会具体讲到。
通讯口讲完了,那触摸屏上还有一个口是干嘛的呢?

*载下**口
这个就供我们*载下**更新程序用的,可能素材原因,这个*载下**口是老式的,其实就是我们常用的安卓*载下**线即可。

*载下**线
通过上面的一些讲解,希望大家对威纶通这款触摸屏有了一个大致的了解,如果有实物的小伙伴可以准备好以上工具,我们开始对触摸屏界面及程序一系列的讲解教程,希望由浅入深去讲解制作工业自动化中的触摸屏程序各种功能是怎么实现的。
希望可以帮到真正正在学习的你们吧,关注我,我会及时更新.......
帮忙转发,有什么问题可以私信及评论。点个关注