几年前,谷歌把手机变成积木用拼装的方式组装手机的想法让人惊艳,直到今天,都没有哪种手机上的变革超越这种传闻,不过近日的一个传闻可能会打破这次沉默,这其中,依然有谷歌的身影,且还挤入了苹果这个科技巨头。

说句实在话,谷歌当年要做模块化手机的时候,人们都以为智能手机DIY的时代会真正的到来了,谷歌公布的最新版本的Ara原型机就是这样第一种方式“堆积”起来的,真正实现了手机DIY的可能。
然而可惜的是模块化手机最终也有联想的Moto Z系列还在坚持之外,其他都已经完全抛弃了这个设想。而今天要提到的一个可以和手机DIY媲美的变革技术是--手机隔空操作。

说到这个,你肯定会想到《钢铁侠》的日常操作似乎就是这样的,全系投影+隔空操作就是这样来的,之前业界并并没有发布过全息手机啊、隔空操作的玩法等等。



但全息手机并没有火起来,或许是实用性、或许是硬件跟不上,总之全息手机火了一下又沉寂下去了;而vivo曾经推出过的智能体感功能其实也有点类似于隔空操作的意思,就连全息手机当初在推出时也曾经提到过隔空切西瓜这种玩法,但总之就是噱头更大一些、但实用性和普遍性却没有起来。
因此,此次检验谷歌和苹果隔空技术的实用性和可能商用的机会就成了衡量其是否先进的基础。
据悉,谷歌的隔空方案是借助雷达芯片Soli进行探测、回馈信息以便达到隔空操作的动作的。

且看起来这项技术的确拥有足够的灵敏性和实现的可能性,也就是说,现在就看谷歌会不会正式在某个时间段推出来了,这一点可能会比可穿戴的柔性折叠屏手机还要劲爆。

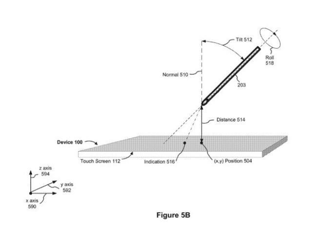
苹果可能会有的“隔空触屏”的技术也同样如此,不依赖触摸屏就达到操作屏幕的效果,有一个或者多个传感器用于检测输入物体在触敏表面上方的接近度和显示器接触的强度,但目前看来也同样限于精度和准确问题没有公布,尽管现在就连专利都被曝光了。
从智能体感到悬空操作,你觉得这个会改变现有智能手机的格局吗?欢迎大家踊跃发言,留言讨论!