太阳能逆变器的作用
逆变器是一种由半导体器件组成的电力调整装置,主要用于把直流电力转换成交流电力。由升压回路以及逆变桥式回路构成。升压回路把太阳电池的直流电压升压到逆变器输出控制所需的直流电压;逆变桥式回路则把升压后的直流电压等价地转换成常用频率的交流电压。逆变器主要由晶体管等开关元件构成,通过有规则地让开关元件重复开-关(ON-OFF),由直流电变交流电输出。当然,这样单纯地由开和关回路产生的逆变器输出波形并不实用。一般需要采用高频脉宽调制,使靠近正弦波两端的电压宽度变狭,正弦波中央的电压宽度变宽,并在半周期内始终让开关元件按一定频率朝一方向动作,这样形成一个脉冲波列(拟正弦波)。然后让脉冲波通过简单的滤波器形成正弦波。
逆变器不仅具有直流电交流变换功能,还具有最大限度地发挥太阳电池性能的功能和系统故障保护功能。

1、自动运行和停机功能
早晨日出后,太阳辐射强度逐渐增强,太阳电池的输出也随之增大,当达到逆变器工作所需的输出功率后,逆变器即自动开始运行。进入运行后,逆变器便时时刻刻监视太阳电池组件的输出,只要太阳电池组件的输出功率大于逆变器工作所需的输出功率,逆变器就持续运行;直到日落停机,即使阴雨天逆变器也能运行。当太阳电池组件输出变小,逆变器输出接近0时,逆变器便形成待机状态。
2、最大功率跟踪控制功能
太阳电池组件的输出是随太阳辐射强度和太阳电池组件自身温度(芯片温度)而变化的。另外由于太阳电池组件具有电压随电流增大而下降的特性,因此存在能获取最大功率的最佳工作点。太阳辐射强度是变化着的,显然最佳工作点也是在变化的。相对于这些变化,始终让太阳电池组件的工作点处于最大功率点,系统始终从太阳电池组件获取最大功率输出,这种控制就是最大功率跟踪控制。太阳能发电系统用的逆变器的最大特点就是包括了最大功率点跟踪这一功能。

1.直流电可以通过震荡电路变为交流电
2.得到的交流电再通过线圈升压(这时得到的是方形波的交流电)
3.对得到的交流电进行整流得到正弦波
AC-DC就比较简单了 我们知道二极管有单向导电性
可以用二极管的这一特性连成一个电桥让一端始终是流入的 另一端始终是流出的这就得到了电压正弦变化的直流电 如果需要平滑的直流电还需要进行整流 简单的方法就是连接一个电容Inverter是一种DC to AC的变压器,它其实与Adapter是一种电压逆变的过程。Adapter是将市电电网的交流电压转变为稳定的12V直流输出,而Inverter是将Adapter输出的12V直流电压转变为高频的高压交流电;两个部分同样都采用了目前用得比较多的脉宽调制(PWM)技术。其核心部分都是一个PWM集成控制器,Adapter用的是UC3842,Inverter则采用TL5001芯片。TL5001的工作电压范围3.6~40V,其内部设有一个误差放大器,一个调节器、振荡器、有死区控制的PWM发生器、低压保护回路及短路保护回路等。
逆变器的作用是把直流电能(电池、蓄电瓶)转变成交流电(一般为220V,50Hz正弦波)。工作原理如下:
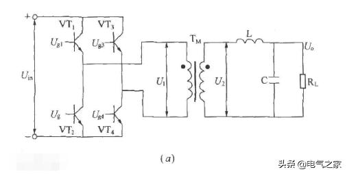
桥式逆变电路的开关状态由加于其控制极的电压信号决定,桥式电路的PN端加入直流电压Ud,A、B端接向负载。当T1、T4打开而T2、T3关合时,u0=Ud;相反,当T1、T4关合而T2、T3打开时,u0=-Ud。于是当桥中各臂以频率 f(由控制极电压信号重复频率决定)轮番通断时,输出电压u0将成为交变方波,其幅值为Ud。重复频率为f如图2所示,其基波可表示为把幅值为Ud的矩形波uo展开成傅立叶级数得:uo=4Ud/π (sinwt+1/3 sin3wt+1/5 sin5wt+.。。)由式可见,控制信号频率f可以决定输出端频率,改变直流电源电压Ud可以改变基波幅值,从而实现逆变的目的。
