双速电机就是有两种速度的电机,常说的△/YY启动电路。通过改变电机线圈绕组的极对数来改变电机转速。
常用电机极数有4级(2极对数),2极(1极对数)。
电机的同步转速=频率×时间(秒)/极对数
4极电机的转速是一分钟1500转,2极电机的转速为一分钟3000转,去掉转差率为电机转子的实际转速。
双速电机线圈

△/YY
当双速电机线圈绕组△接法时(左图),U1、V1、W1端供入三相电源时,为低速运转。
当帮U1、V1、W1端短接在一起,提起来抖一抖电机线圈绕组就变成了YY接法(右图),U2、V2、W2端供入三相电源,高速运行,YY接法转速是△接法的两倍。
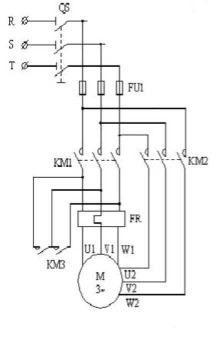
双速电机主电路接线

双速电机主电路
KM1接触器给双速电机U1、V1、W1供电,电机△低速运行,KM1吸合。
KM2接触器给双速电机U、V2、W2端供电。KM3接触器主触点的下桩头接入电机的U1、V1、W1,接触器主触点的上桩头使用短接线连接在一起。当KM3吸合时,U1、V1、W1端短接在一起。电机YY高速运行时,KM2、KM3吸合。
双速电机控制电路
手动切换

手动切换高低速
采用手动切换电路,按下SB1为低速运行,按下SB2为高速运行。帮KM2、KM3看成一个接触器时,△/YY控制电路其实就是一个正反转电路。采用接触器按钮双重互锁电路。
当按下SB1,KM1吸合电机低速运行,低速运行时按下SB2,KM1停止,KM2、KM3吸合电机YY高速运行。当然高速运行时也可以直接切换成低速运行。
低速能直接转换成高速,得益于接触器辅助触点、按钮触点动作时,常闭触点先断开,常开触点后闭合,他们虽然感觉是同时动作的,实际上它们是有先后顺序的。这一点在接触器、继电器控制电路非常重要。
自动切换

通电延时时间继电器自动切换
SA为转换开关,当转换开关切换到1时,电路为低速运行,KM1接触器吸合。
当转换开关切换到2时,电机为高速运行。电机并不是直接高速运行,先低速再高速。KM1吸合后低速,经过时间继电器设定后,KM1断开,KM2、KM3吸合高速。
断电延时时间继电器控制△/YY转换

断电延时时间继电器控制双速电机
使用断电延时时间继电器电路比使用通电延时时间继电器电路复杂,有兴趣的可以学习下控制思路,但不推荐使用在△/YY控制电路中。
双速电机适用于机床、搅拌机设备,启动时转速慢、扭矩高,适合重载启动,切换运转时转速快。
以搅拌机为例,当停止时,向搅拌机内装入物料,装满时负荷比较大,适合电机△启动,扭矩大。当启动完成后,由于惯性扭矩变小,适合电机YY运行,速度快,搅拌的更均匀。